Important: Spara alla lösa delar för senare montering såvida inget annat anges.
Parkera maskinen på en plan yta.
Stäng av motorn, ta ut nyckeln och vänta tills alla rörliga delar har stannat.
Låt maskinens komponenter svalna innan du utför något underhåll.
Lossa tändkabeln.
Lyft upp maskinen med en domkraft eller lyftanordning tills larvbanden lämnar marken.
Från maskinens sidor tar du bort och kasserar de två skruvarna (5/16 x ⅝ tum) som håller fast det främre stödet på de två bandstödenheterna. Ta bort och kassera det främre stödet.
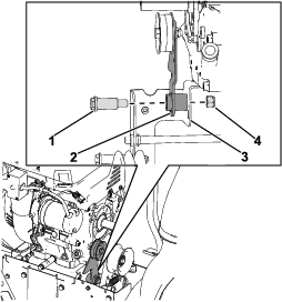
På maskinens vänstra sida tar du bort och kasserar skruven (5/16 x ¾ tum) och planbrickan (⅜ x ⅞ tum) som håller fast bandstödet vid vridstången (Figur 1). Upprepa på höger sida.

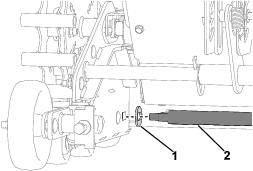
Ta bort hjulsprinten från axelnavet från maskinens vänstra sida. Upprepa på höger sida.
Från maskinens vänstra sida stöttar du drivhjulsenheten med bandenheten monterad och tar bort enheterna från maskinen. Upprepa på höger sida.
Ta bort de två drivhjulsenheterna från de två bandenheterna.
Ta bort de två hårnålssprintarna från vridstången.
Skjut och ta bort vridstången från vridnavet. Kassera vridstången.
Note: Börja på vänster larvband och upprepa sedan på höger larvband.
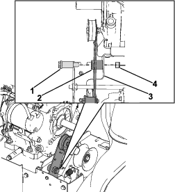
Ta bort vagnsskruven (⅜ x 3 tum), spännbussningen och låsmuttern (⅜ tum) som håller fast det vänstra boggihjulet på bandstödet (Figur 2). Ta bort hjulet.
Ta bort vagnsskruven (⅜ x 3 tum), spännbussningen och låsmuttern (⅜ tum) som håller fast det högra boggihjulet på boggioket och bandstödet (Figur 2). Ta bort hjulet.
Ta bort vagnsskruven (⅜ x 3 tum) och låsmuttern (⅜ tum) som håller fast boggioket på bandstödet. Ta bort boggioket från bandstödet (Figur 2).
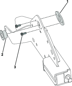
Ta bort axelbussningen (Figur 2).
Ta bort de två skruvarna (¼ x ⅝ tum) som håller fast axelbussningsstödet på bandstödet. Ta bort axelbussningsstödet (Figur 2).
Ta bort skruven (⅜ x 4 tum), spännbussningen och brickan (⅜ tum) som fäster spännaren på boggihjulfästet (Figur 2). Ta bort spännaren.
Ta bort de två vagnsskruvarna (5/16 x ¾ tum) och de två låsmuttrarna (5/16 tum) som håller fast skenan på bandstödet. Kassera skenan.
Kassera bandstödet.

Placera pallbockarna under de vänstra och högra hydrostatiska drivaxlarna för att få åtkomst till det nedre skyddet. Ta bort pallbockarna eller lyftanordningen som används i Förbereda maskinen.
Note: Två personer kan behövas för att slutföra den här proceduren.
Ta bort de tre skruvarna (¼ x ⅝ tum) som håller fast höjdjusteringsfästet på den övre plåten och det bakre skyddet. Ta bort höjdjusteringsfästet från plåten och skyddet (Figur 3).
Note: Höjdjusteringsfästet förblir fastsatt på kablarna ovanpå maskinen.

Ta bort de sex skruvarna (¼ x ⅝ tum) som håller fast det bakre skyddet på ramens sidoplåtar.
Ta bort flänsmuttern (¼ tum) och ansatsskruven (¼ x 1 tum) som håller fast den hydrostatiska drivvajern vid växelväljaren. Behåll stegbrickan (Figur 4).
Ta bort den hydrostatiska drivvajern från hastighetskabelfästet och det bakre skyddet (Figur 4).

Från maskinens vänstra sida kopplar du bort kopplingsvajern från kopplingsspaken (Figur 5). Upprepa på höger sida.
Från maskinens vänstra sida tar du bort sexkantsmuttern (¼ tum) och bulten (¼ x 2 ¾ tum) som håller fast kabelklämman vid det nedre handtagsröret (Figur 5). Upprepa på höger sida.
Note: Kabelklämmorna stannar kvar på kopplingsvajrarna.

Lossa de två kopplingsvajerfjädrarna från det hydrostatiska drivaggregatet.
Ta bort det bakre skyddet med kopplingsvajrarna kvar.
Ta bort de fyra skruvarna (¼ x ⅝ tum) som håller fast det nedre skyddet på maskinens undersida. Ta bort och kassera det nedre skyddet.
Note: Utför den här proceduren om drivremmen är skadad.
Ta bort de två skruvarna (M8 x 1 ¼ x 20) som fäster remstyrningen vid motorn. Ta bort remstyrningen.
Ta bort knivskruven (7/16 x 1 ¾ tum) som håller fast impellerskivan på vevaxeln. Ta bort remskivan, skruvremmen, remskivsstödet och distansremskivan från vevaxeln (Figur 7).
Note: Håll vid behov navet mellan remskivan och motorn för att förhindra att vevaxeln svänger.

Ta bort de två drivskivorna och drivremmen från vevaxeln (Figur 8).

Ta bort och kassera drivremmen från maskinens undersida.
Ta bort och kassera förlängningsfjädern på mellandrevsarmen för hjuldrivning.
Ta bort drivkabelns Z-böjning från mellandrevsarmen för hjuldrivning.
Ta bort muttern (7/16 tum) och ansatsskruven (7/16 x 1 ¾ tum) som håller fast mellandrevsarmen för hjuldrivning på bromskopplingsfästet (Figur 9).

Ta bort muttern (⅜ tum) och bulten (⅜ x 1 ⅜ tum) som håller fast mellanremskivan på mellandrevsarmen för hjuldrivning. Kassera mellandrevsarmen för hjuldrivning och mellanremskivan.
Ta bort de två skruvarna (¼ x ⅝ tum) som håller fast det hydrostatiska drivstödet vid den övre plattan från maskinens baksida (Figur 10).
Ta bort skruven (5/16 x 1 ¼ tum) och låsmuttern (5/16 tum) som håller fast det hydrostatiska drivstödet vid det hydrostatiska drivaggregatet. Ta bort det hydrostatiska drivstödet från maskinen (Figur 10).

Kassera det hydrostatiska drivstödet och de fem klämmorna (¼ tum).
Ta bort hårnålssprinten och den hydrostatiska drivvajern från skruven på det hydrostatiska drivaggregatet. Ta bort den hydrostatiska drivvajern från skruven (Figur 11).
Ta bort skruven (¼ x ⅝ tum) som fäster det hydrostatiska drivfästet vid det övre hydrostatiska drivfästet (Figur 11).
Ta bort skruven (5/16 x 1 ¼ tum) och låsmuttern (5/16 tum) som håller fast det hydrostatiska drivfästet vid det hydrostatiska drivaggregatet (Figur 11).
Ta bort det hydrostatiska drivfästet medan den hydrostatiska drivvajern fortfarande är ansluten till fästet.
Ta bort fästringen som håller fast den hydrostatiska drivvajern vid fästet.
Ta bort den hydrostatiska drivvajern från fästet och kassera fästet.

Delar som behövs till detta steg:
| Hydrostatiskt drivfäste | 1 |
| Fästring | 1 |
| Kabelklämma | 1 |
| Sexkantsskruv med fläns (¼ x ⅝ tum) | 1 |
Montera den hydrostatiska drivvajern på det nya hydrostatiska drivfästet.
Montera den hydrostatiska drivvajern på det hydrostatiska drivfästet och fäst den med en fästring.
Montera den nya kabelklämman på det hydrostatiska drivfästet och fäst den med den nya sexkantsskruven med fläns (¼ x ⅝ tum) (Figur 12).

Montera det hydrostatiska drivfästet på den hydrostatiska drivenheten.
Montera sexkantsskruven (¼ x ⅝ tum) som fäster det hydrostatiska drivfästet vid det övre hydrostatiska drivfästet (Figur 13).
Note: Dra åt skruven för hand.

Montera den hydrostatiska drivvajern på skruven på det hydrostatiska drivaggregatet och fäst den med hårnålssprinten (Figur 14).

Delar som behövs till detta steg:
| Hydrostatiskt drivstöd | 1 |
| Klämma (¼) | 5 |
| Bult (5/16 x 1 ¼ tum) | 1 |
| Låsmutter (5/16 tum) | 1 |
Montera de fem klämmorna (¼ tum) på det nya hydrostatiska drivstödet.
Montera det nya hydrostatiska drivstödet på det hydrostatiska drivaggregatet.
Fäst det hydrostatiska drivstödets ovansida på det hydrostatiska drivaggregatet och det hydrostatiska drivfästet med den nya skruven (5/16 x 1 ¼ tum) och låsmuttern (5/16 tum) (Figur 15).

Fäst det hydrostatiska drivstödets undersida vid hydron med den sparade skruven (5/16 x 1 ¼ tum) och låsmuttern (5/16 tum) (Figur 16).
Montera de två skruvarna (¼ x ⅝ tum) som håller fast det hydrostatiska drivstödet vid den övre plattan (Figur 16).

Dra åt skruven (¼ x ⅝ tum) som fäster det hydrostatiska drivfästet vid det övre hydrostatiska drivfästet (Figur 13).
Delar som behövs till detta steg:
| Hjuldrivningskopplingens arm | 1 |
| Förlängningsfjäder | 1 |
| Drivrem | 1 |
| Plan mellanremskiva | 1 |
| V-mellanremskiva | 1 |
| Remstyrning | 1 |
| Skruv (5/16 x 1½ tum) | 1 |
| Låsmutter (5/16 tum) | 1 |
Montera de nya mellanremskivorna, drivremmen och remstyrningen på den nya armen för hjuldrivningskopplingen.
Montera den plana mellanremskivan på hjuldrivningskopplingens arm, fäst den med skruven (⅜ x 1 ⅜ tum) och låsmuttern (⅜ tum) (Figur 17).
Note: Dra åt fästelementen för hand och fäst dem sedan med en skiftnyckel.
Montera V-mellanremskivan, drivremmen och remstyrningen på undersidan av hjuldrivningskopplingens arm och fäst den med den nya skruven (5/16 x 1 ½ tum) och låsmuttern (5/16 tum) (Figur 17).
Note: Dra åt fästelementen för hand och fäst dem sedan med en skiftnyckel.

Applicera spärrskydd på svängområdet för hjuldrivningskopplingens arm.
Montera ansatsskruven (7/16 x 1 ¾ tum) i svängområdet för hjuldrivningskopplingens arm.
Montera drivkabelns Z-böjning på hjuldrivningskopplingens arm (Figur 18).

Montera hjuldrivningskopplingens arm på bromskopplingsfästet, fäst med den nya ansatsskruven (7/16 x 1 ¾ tum) och låsmuttern (7/16 tum) (Figur 19).

Montera förlängningsfjädern på hjuldrivningskopplingens arm och för ut fjädern till den högra sidoplåten.
Om drivremmen återanvänds ska du dra drivremmen enligt nedan (Figur 20).

Note: Utför den här proceduren om du byter drivremmen.
Montera drivremmen på det hydrostatiska drivaggregatet och remskivorna på vevaxeln.
Dra drivremmen runt det hydrostatiska drivaggregatet (Figur 20).
Montera de två drivremskivorna på vevaxeln och dra drivremmen mellan drivremskivorna (Figur 20).

Montera distansremskivan, remskivsstödet, impellerremskivan och skruvremmen på vevaxeln (Figur 22).
Applicera Loctite på knivskruvens (7/16 x 1 ¾ tum) gängor.
Montera knivskruven (7/16 x 1 ¾ tum) på impellerskivan (Figur 22). Dra åt skruven till 13,6–18,1 Nm.

Applicera Loctite på de två skruvarna (M8 x 1 ¼ x 20).
Montera remstyrningen på motorn och fäst den med de två skruvarna (M8 x 1 ¼ x 20).
Kontrollera att avståndet mellan skruvremmen och remstyrningen är korrekt. Det ska finnas ett mellanrum på ~3,2 mm.
Montera remkåpan på maskinen och fäst den med de två skruvarna (¼ x ⅝ tum) (Figur 23).

Anslut kablaget till lampenheten.
Delar som behövs till detta steg:
| Nedre skydd | 1 |
Montera det nya nedre skyddet från maskinens undersida och fäst det med de fyra skruvarna (¼ x ⅝ tum).
Ta med det bakre skyddet till maskinen och haka fast vänster kopplingsvajerfjäder i det hydrostatiska drivaggregatet. Upprepa med den högra kopplingsvajern.
Dra den hydrostatiska drivvajern genom det bakre skyddet.
Montera det bakre skyddet på ramplåten, fäst med sex skruvar (¼ x ⅝ tum).
Montera den hydrostatiska drivvajern på växelväljarfästet (Figur 24).
Fäst den hydrostatiska drivvajern vid växelväljaren med en ansatsskruv (¼ x 1 tum), stegbricka och mutter (¼ tum) (Figur 24).
Note: Den plana sidan av stegbrickan ska vara på växelväljaren.

Från maskinens vänstra sida kopplar du kopplingsvajern till kopplingsspaken (Figur 25). Upprepa på höger sida.
Montera kabelklämman på det nedre handtagsröret från maskinens vänstra sida och fäst den med skruven (¼ x 2 ¾ tum) och muttern (¼ tum) (Figur 25). Upprepa på höger sida.

Montera höjdjusteringsfästet på den övre plåten och det bakre skyddet och fäst det med de tre skruvarna (¼ x ⅝ tum) (Figur 26).

Montera det nya nedre skyddet på maskinens underdel och fäst det med de fyra skruvarna (¼ x ⅝ tum).
Ta bort pallbockarna under de vänstra och högra hydrostatiska drivaxlarna. Sätt tillbaka pallbockarna eller lyftanordningen som används i Förbereda maskinen.
Delar som behövs till detta steg:
| Vänster bandstöd | 1 |
| Höger bandstöd | 1 |
| Vridstångsplåt | 2 |
| Vagnsskruv (5/16 x 1 tum) | 6 |
| Låsmutter (5/16 tum) | 11 |
| Stödplåt | 2 |
Note: Starta procedurerna på det vänstra bandstödet och upprepa sedan på det högra bandstödet.
Montera spännaren på det nya bandstödet, fäst den löst med den sparade brickan (⅜ tum) och skruven (⅜ x 4 tum) (Figur 27).

Montera axelbussningen på bandstödet (Figur 28).
Montera axelbussningsstödet på bandstödet, fäst med de två skruvarna (¼ x ⅝ tum) (Figur 28).

Montera den nya vridstångsplåten på bandstödet och fäst den med två nya vagnsskruvar (5/16 x 1 tum) och två låsmuttrar (5/16 tum) (Figur 29).
Montera den nya stödplåten på bandstödet, fäst den med den nya vagnsskruven (5/16 x 1 tum) och låsmuttern (5/16 tum) (Figur 29).

Montera det sparade boggioket på bandstödet och fäst det löst med vagnsskruven (⅜ x 3 tum) och låsmuttern (⅜ tum) (Figur 30).
Montera det sparade högra boggihjulet på boggioket och bandstödet och fäst det löst med vagnsskruven (⅜ x 3 tum), spännbussningen och låsmuttern (⅜ tum) (Figur 30).
Montera det vänstra boggihjulet på bandstödet, fäst med vagnsskruven (⅜ x 3 tum), spännbussningen och låsmuttern (⅜ tum) (Figur 30).

Delar som behövs till detta steg:
| Vridstång | 2 |
| Specialbricka | 4 |
| Låsmutter (⅜ tum) | 4 |
| Hjulstöd | 2 |
| Vagnsskruv (5/16 x ¾ tum) | 4 |
| Boggihjul | 4 |
| Ansatsskruv (⅜ x 2 7/16 tum) | 4 |
| Låsmutter (⅜ tum) | 4 |
Montera drivhjulsenheten på axelnavet från maskinens vänstra sida och fäst den med hjulsprinten. Upprepa på höger sida.
Placera vänster och höger larvbandsenheter på maskinens respektive sidor.
Skjut in den nya vridstången i vridnavet, fäst med två hårnålssprintar.
Montera de två specialbrickorna på vridstången i vridnavet. Montera vridstången med specialbrickorna på larvbandsenheterna och vridplåten, fäst med två nya låsmuttrar (⅜ tum) (Figur 31).

Montera de två specialbrickorna på den nya vridstången. Montera den nya vridstången med specialbrickor genom larvbandsenheterna och stödplåten, fäst med två nya låsmuttrar (⅜ tum) (Figur 32).

Från maskinens vänstra sida skjuter du boggioket åt vänster och monterar larvbandet runt larvbandsenheten och drivhjulet. Upprepa på höger sida.
Dra åt spännaren från maskinens vänstra sida tills larvbandets böjning är 9,5 mm. Upprepa på höger sida.
Dra åt de två muttrarna (9/16 tum) som håller fast boggioket på larvbandsenheten till 47,5 Nm från maskinens vänstra sida. Upprepa på höger sida.
Montera det nya hjulstödet på bandstödet, fäst med två nya vagnsskruvar (5/16 x ¾ tum) och två låsmuttrar (5/16 tum).
Montera de två nya boggihjulen på hjulstödet och fäst dem med två nya ansatsskruvar (⅜ x 2 7/16 tum) och två låsmuttrar (⅜ tum).
Testa att maskinen fungerar korrekt. Justera kopplingsvajrarna vid behov, se produktens bruksanvisning.