Konserwacja
Note: Określaj lewą i prawą stronę maszyny ze standardowego stanowiska operatora.
Zalecany harmonogram konserwacji
| Częstotliwość serwisowania | Procedura konserwacji |
|---|---|
| Po pierwszych 2 godzinach |
|
| Po pierwszych 10 godzinach |
|
| Po pierwszych 50 godzinach |
|
| Przed każdym użyciem lub codziennie |
|
| Co 50 godzin |
|
| Co 100 godzin |
|
| Co 400 godzin |
|
Lista kontrolna codziennych czynności konserwacyjnych
Skopiuj te stronę, aby wykorzystać ją do rutynowych czynności kontrolnych.
| Sprawdzany element | Tydzień: | ||||||
|---|---|---|---|---|---|---|---|
| Pn. | Wt. | Śr. | Czw. | Pt. | Sob. | Niedz. | |
| Sprawdź deflektor trawy w położeniu dolnym (o ile ma zastosowanie). | |||||||
| Sprawdź stan ostrzy. | |||||||
| Uzupełnij smar we wszystkich smarowniczkach.1 | |||||||
| Zamaluj miejsca z uszkodzonym lakierem. | |||||||
|
1. Niezwłocznie po każdym myciu, niezależnie od przedstawionej częstotliwości. |
|||||||
| Zapisy dotyczące obszarów wymagających szczególnej uwagi | ||
| Osoba przeprowadzająca przegląd: | ||
| Lp. | Data | Informacje |
Ostrożnie
Jeśli zostawisz kluczyk w stacyjce, ktoś może przypadkowo uruchomić silnik i spowodować poważne obrażenia ciała operatora lub osób postronnych.
Przez przystąpieniem do wykonywania jakichkolwiek czynności konserwacyjnych wyciągnij kluczyk ze stacyjki.
Smarowanie łożysk i tulei
| Częstotliwość serwisowania | Procedura konserwacji |
|---|---|
| Przed każdym użyciem lub codziennie |
|
| Co 50 godzin |
|
Maszyna jest wyposażona w smarowniczki, które należy regularnie smarować smarem litowym nr 2.
-
Zaparkuj maszynę na równej nawierzchni, opuść jednostkę tnącą, załącz hamulec postojowy, wyłącz silnik i wyjmij kluczyk.
-
Nasmaruj poniższe obszary:
Sprawdzanie oleju w przekładni
| Częstotliwość serwisowania | Procedura konserwacji |
|---|---|
| Po pierwszych 50 godzinach |
|
| Co 50 godzin |
|
| Co 400 godzin |
|
Przekładnia przeznaczona jest do pracy z olejem przekładniowym SAE 80W90. Mimo że przekładnia jest fabrycznie napełniona olejem, przed rozpoczęciem korzystania z jednostki tnącej należy sprawdzić jego poziom. Pojemność przekładni wynosi 283 ml.
-
Zaparkuj maszynę na równej nawierzchni, opuść jednostkę tnącą, załącz hamulec postojowy, wyłącz silnik i wyjmij kluczyk.
-
Odkręć wskaźnik poziomu / korek wlewu z góry przekładni (Rysunek 17) i upewnij się, że poziom oleju znajduje się między oznaczeniami na wskaźniku poziomu. Jeśli poziom oleju jest niski, dolewaj oleju, aż jego poziom znajdzie się między oznaczeniami.

-
Włóż wskaźnik poziomu i dokręć go z momentem 9 N∙m.
Sprawdzenie momentu dokręcenia elementów złącznych wału napędu PTO do przekładni
| Częstotliwość serwisowania | Procedura konserwacji |
|---|---|
| Po pierwszych 10 godzinach |
|
| Co 100 godzin |
|
Sprawdź dokręcenie elementów złącznych mocujących wał napędu PTO do przekładni (Rysunek 18); patrz rozdział poświęcony konfiguracji w instrukcji obsługi maszyny, gdzie podano odpowiednie momenty dokręcania.

Demontaż jednostek tnących z jednostki jezdnej
-
Zaparkuj maszynę z uniesioną jednostką tnącą na poziomej powierzchni.
-
Wyjmij sworznie wysokości koszenia (Rysunek 19) z płyt bocznych jednostki tnącej.

-
Opuść jednostkę tnącą, załącz hamulec postojowy, wyłącz silnik i wyjmij kluczyk.
-
Odkręć śruby i zdejmij podkładki mocujące ramiona podnoszące do ramion kół samonastawnych.

-
Odkręć śruby i nakrętki z wału PTO (Rysunek 21) i wysuń jarzmo z przekładni.
Note: W przypadku rozdzielenia elementów wału napędowego zapoznaj się z informacjami w instrukcji obsługi dotyczącymi poprawnego montażu połączenia wielowypustowego.

Konserwacja tulei ramion kół samonastawnych
Ramiona kół samonastawnych posiadają tuleje wciśnięte od góry i od dołu rurki. Po wielu godzinach pracy tuleje ulegną zużyciu.
W celu sprawdzenia tulei poruszaj widełkami kół nastawnych tam i z powrotem i z boku na bok. Jeżeli wrzeciono koła nastawnego jest poluzowane wewnątrz tulei, tuleje są zużyte i należy je wymienić.
-
Zaparkuj maszynę na równej nawierzchni, opuść jednostkę tnącą, załącz hamulec postojowy, wyłącz silnik i wyjmij kluczyk.
-
Odkręć nakrętkę napinającą, zdejmij element dystansowy (elementy dystansowe) i podkładkę oporową z góry wrzeciona koła samonastawnego.
-
Wyciągnij wrzeciono kola samonastawnego z rurki montażowej. Zostaw podkładkę oporową i element dystansowy (elementy dystansowe) u dołu wrzeciona.
-
Wsuń wybijak od góry lub od dołu rurki montażowej i wysuń tuleję z rurki (Rysunek 22). Tak samo wysuń drugą tuleję z rurki. Oczyść wnętrze rurek, aby usunąć zabrudzenia.

-
Nasmaruj nowe tuleje wewnątrz i od zewnątrz. Przy użyciu młotka i płaskiej płytki wsuń tuleje do rurki montażowej.
-
Sprawdź wrzeciono koła samonastawnego pod kątem zużycia i wymień je, jeżeli jest uszkodzone.
-
Wepchnij wrzeciono koła samonastawnego przez tuleje i rurkę montażową, nasuń podkładkę oporową i elementy dystansowe na wrzeciono i przykręć nakrętkę napinającą na wrzeciono koła samonastawnego.
Konserwacja kół samonastawnych i łożysk
| Częstotliwość serwisowania | Procedura konserwacji |
|---|---|
| Po pierwszych 2 godzinach |
|
| Po pierwszych 10 godzinach |
|
| Co 50 godzin |
|
-
Zaparkuj maszynę na równej nawierzchni, opuść jednostkę tnącą, załącz hamulec postojowy, wyłącz silnik i wyjmij kluczyk.
-
Odkręć przeciwnakrętkę ze śruby mocującej zespół koła samonastawnego między widełkami koła samonastawnego (Rysunek 23). Chwyć koło samonastawne i wysuń śrubę z widełek lub ramienia osi przegubu.
-
Zdejmij łożysko z piasty koła; koszyczek łożyska powinien wypaść (Rysunek 23). Wyjmij łożysko z drugiej strony piasty koła.
-
Sprawdź łożyska, koszyczki i wnętrze piasty koła pod kątem zużycia. Wymień uszkodzone części.
-
Aby zamontować koło samonastawne, wsuń łożysko do piasty koła. Montując łożyska, naciskaj na zewnętrzny pierścień nośny łożyska.

-
Wsuń koszyczek łożyska do piasty koła. Wsuń drugie łożysko do otwartego końca piasty koła, aby unieruchomić koszyczek łożyska wewnątrz piasty koła.
-
Zamontuj zespół koła samonastawnego pomiędzy widełkami koła samonastawnego i zamocuj go na swoim miejscu śrubą i przeciwnakrętką.
Konserwacja ostrzy tnących
Zachowanie bezpieczeństwa w przypadku postępowania z ostrzami
Uszkodzone lub zużyte ostrze może się złamać, a jego kawałki mogą być wyrzucone w kierunku operatora lub osób postronnych powodując poważne obrażenia ciała lub śmierć.
-
Regularnie sprawdzaj ostrze pod kątem zużycia i uszkodzeń.
-
Podczas sprawdzania stanu ostrzy zachowaj szczególną ostrożność. Na czas wykonywania czynności serwisowych owiń ostrza lub załóż rękawice i zachowaj ostrożność. Ostrza należy wymienić lub naostrzyć, nie wolno ich prostować ani spawać.
-
Zachowaj szczególną ostrożność w przypadku maszyn wieloostrzowych, ponieważ obrót jednego ostrza może spowodować obracanie się innych ostrzy.
Sprawdzanie ostrza pod kątem zagięcia
Po uderzeniu w ciało obce sprawdź, czy maszyna nie jest uszkodzona i dokonaj napraw przed uruchomieniem i eksploatacją sprzętu. Dokręć nakrętki kół pasowych wrzeciona z momentem od 176 do 203 N·m.
-
Zaparkuj maszynę na równej nawierzchni, podnieś jednostkę tnącą do pozycji TRANSPORTOWEJ, załącz hamulec postojowy, wyłącz silnik i wyjmij kluczyk.
-
Podnieś jednostkę tnącą do pozycji SERWISOWEJ, patrz instrukcja obsługi jednostki jezdnej.
-
Obracaj ostrze, aż końce będą skierowane do przodu i do tyłu i zmierz odległość od wnętrza jednostki tnącej do krawędzi tnącej z przodu ostrza (Rysunek 24).
Note: Zapamiętaj ten wymiar.

-
Obróć przeciwny koniec ostrza do przodu i zmierz odległość pomiędzy jednostką tnącą i krawędzią tnącą ostrza w tym samym miejscu, co w kroku 3.
Note: Różnica wymiarów zmierzonych w krokach 3 i 4 nie może przekroczyć 3 mm. Jeśli różnica przekracza 3 mm, ostrze jest zgięte i musi zostać wymienione; patrz Demontaż i montaż ostrza(-y) jednostki tnącej.
Demontaż i montaż ostrza(-y) jednostki tnącej
Wymień ostrze, jeżeli uderzyło w twardy przedmiot, nie jest wyważone lub jest wygięte. Stosuj oryginalne ostrza zamienne firmy Toro, aby zapewnić bezpieczeństwo i optymalne osiągi.
-
Zaparkuj maszynę na równej nawierzchni, podnieś jednostkę tnącą do pozycji TRANSPORTOWEJ, załącz hamulec postojowy, wyłącz silnik i wyjmij kluczyk.
-
Podnieś jednostkę tnącą do pozycji SERWISOWEJ, patrz instrukcja obsługi jednostki jezdnej.
-
Chwytaj koniec ostrza przez szmatkę lub grube rękawice.
-
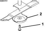
Odkręć śrubę ostrza, osłonę zabezpieczającą i zdejmij ostrze z wału wrzeciona (Rysunek 25).

-
Zamontuj ostrze, osłonę zabezpieczającą i śrubę ostrza i dokręć śrubę ostrza z momentem od 115 do 149 N∙m.
Important: Zakrzywiona część ostrza musi być skierowana do wnętrza zespołu tnącego, aby zapewnić prawidłowe koszenie.
Note: Po uderzeniu w ciało obce dokręć wszystkie nakrętki koła pasowego wrzeciona z momentem od 115 do 149 N∙m.
Sprawdzanie i ostrzenie ostrza (ostrzy) jednostki tnącej
Zarówno krawędzie tnące, jak i żagielek, który tworzy odwrócona część po przeciwnej stronie krawędzi tnącej, przyczyniają się do dobrej jakości koszenia.
Dbaj aby elementy tnące były naostrzone przez cały sezon. Ostre ostrza tną trawę równo, bez ciągnięcia i bez urywania źdźbeł.
Sprawdź ostrza pod kątem zużycia i uszkodzeń. Żagielek stawia trawę prosto, zapewniając w ten sposób równe cięcie i stopniowo ulega zużyciu podczas eksploatacji.
-
Zaparkuj maszynę na równej nawierzchni, podnieś jednostkę tnącą do pozycji TRANSPORTOWEJ, załącz hamulec postojowy, wyłącz silnik i wyjmij kluczyk.
-
Podnieś jednostkę tnącą do pozycji SERWISOWEJ, patrz instrukcja obsługi jednostki jezdnej.
-
Dokładnie sprawdź końcówki tnące ostrza, zwłaszcza w miejscu, gdzie spotykają się płaskie i zakrzywione części (Rysunek 26).
Note: Ponieważ piasek i materiał ścierny mogą zużyć metal, który łączy płaskie i zakrzywione części ostrza, sprawdzaj ostrza przed użyciem kosiarki. W przypadku zauważenia zużycia (Rysunek 26) wymień ostrze.

-
Sprawdź krawędzie tnące wszystkich ostrzy i naostrz stępione lub wyszczerbione krawędzie tnące (Rysunek 27).
Note: Ostrz tylko górną część krawędzi tnącej i zachowaj oryginalny kąt cięcia, aby zapewnić ostrość (Rysunek 27). Ostrze pozostanie wyważone, jeżeli z obu krawędzi tnących zostanie usunięta taka sama ilość metalu.

Note: Zdemontuj ostrza i ostrz je na szlifierce. Po naostrzeniu krawędzi tnących zamontuj ostrze wykorzystaniem osłony zabezpieczającej i śruby ostrza, patrz Sprawdzanie i ostrzenie ostrza (ostrzy) jednostki tnącej.
Sprawdzanie i korygowanie niedopasowania ostrzy
Jeżeli ostrza będą niedopasowane, pojawią się smugi trawy podczas koszenia. Problem ten można skorygować, zapewniając, aby ostrza były proste i aby wszystkie ostrza cięły w tej samej płaszczyźnie.
-
Przy użyciu poziomnicy stolarskiej o długości 1 metra znajdź poziomą powierzchnię na podłodze warsztatu.
-
Zaparkuj maszynę na równej nawierzchni, opuść jednostkę tnącą, załącz hamulec postojowy, wyłącz silnik i wyjmij kluczyk.
-
Podnieś wysokość koszenia na najwyższe ustawienie, patrz Regulacja wysokości cięcia..
-
Zdejmij górne pokrywy zespołu tnącego.
-
Obróć ostrza tak, aby ich końce były skierowane do przodu i do tyłu. Dokonaj pomiaru odległości od podłoża do przedniej końcówki krawędzi tnącej. Zapamiętaj ten wymiar. Obróć to samo ostrze tak, aby przeciwny koniec był skierowany do przodu i zmierz jeszcze raz. Różnica między wymiarami nie może przekraczać 3 mm. Jeżeli wymiar przekracza 3 mm, wymień ostrze, ponieważ jest wygięte. Dokonaj pomiaru wszystkich ostrzy.
-
Porównaj pomiary ostrzy zewnętrznych z ostrzem środkowym. Ostrze środkowe może znajdować się niżej od ostrzy zewnętrznych o maksymalnie 10 mm. Jeżeli ostrze środkowe znajduje się o więcej niż 10 mm niżej niż ostrza zewnętrzne, przejdź do kroku 7 i dołóż podkładki regulacyjne pomiędzy obudową wrzeciona a spodem jednostki tnącej.
-
Usuń śruby, podkładki płaskie, przeciwnakrętki i nakrętki z zewnętrznego wrzeciona w miejscu, gdzie wymagane są dodatkowe podkładki regulacyjne. Aby podnieść lub obniżyć ostrze, dodaj podkładkę regulacyjną, nr części 3256-24, pomiędzy obudową wrzeciona a dołem zespołu tnącego. Sprawdzaj wyosiowanie ostrzy i dodawaj podkładki regulacyjne, dopóki końcówki ostrzy nie znajdą się w wymaganych granicach wymiarowych.
Important: Nie stosuj więcej niż trzy podkładki regulacyjne dla każdej lokalizacji otworu. Stosuj malejącą liczbę podkładek w sąsiednich otworach, jeżeli w każdym otworze dodana jest więcej niż jedna podkładka.
-
Załóż pokrywy pasków.
Wymiana paska napędowego
| Częstotliwość serwisowania | Procedura konserwacji |
|---|---|
| Co 50 godzin |
|
Pasek napędowy ostrzy napięty przez koło pasowe luźne obciążone sprężyną jest bardzo trwały. Po wielu godzinach użytkowania pasek będzie wykazywać jednak oznaki zużycia. Oznakami zużycia paska są: piski, gdy pasek się obraca, ślizganie się ostrzy podczas koszenia trawy, wystrzępione krawędzie, ślady przypalenia i pęknięcia. Jeżeli wystąpi jakakolwiek z powyższych oznak, wymień pasek.
-
Zaparkuj maszynę na równej nawierzchni, opuść jednostkę tnącą, załącz hamulec postojowy, wyłącz silnik i wyjmij kluczyk.
-
Zdejmij pokrywy pasków z góry zespołu tnącego i odłóż na bok.
-
Przy pomocy klucza dynamometrycznego lub podobnego narzędzia odsuń jałowe koło pasowe (Rysunek 28) od paska napędowego, aby zwolnić jego naprężenie i umożliwić jego zsunięcie z koła pasowego przekładni.

-
Zdejmij stary pasek z kół pasowych wrzeciona i koła pasowego luźnego.
-
Przy pomocy klucza dynamometrycznego lub podobnego narzędzia przytrzymaj jałowe koło pasowe, poprowadź nowy pasek wokół kół pasowych wrzecion i zespołu jałowego koła pasowego w sposób pokazany na Rysunek 29.

-
Załóż pokrywy pasków.
Wymiana deflektora trawy
Ostrzeżenie
Niezasłonięty otwór wyrzutowy pozwala maszynie wyrzucać przedmioty w kierunku operatora lub osób postronnych, co może spowodować poważne urazy. Grozi to również kontaktem z ostrzem.
-
Nie wolno używać maszyny bez założonej płyty osłony, płyty rozdrabniacza lub tunelu i wychwytywacza trawy.
-
Dopilnuj, aby deflektor trawy był opuszczony.
-
Zaparkuj maszynę na równej nawierzchni, opuść jednostkę tnącą, załącz hamulec postojowy, wyłącz silnik i wyjmij kluczyk.
-
Odkręć przeciwnakrętkę, śrubę, sprężynę i element dystansowy mocujące deflektor do wsporników osi obrotu (Rysunek 30). Usuń uszkodzony lub zużyty deflektor trawy.
-
Umieść element dystansowy i sprężynę na deflektorze trawy. Zahacz jedną z wygiętych końcówek sprężyny o krawędź obudowy jednostki tnącej.
Note: Przed przykręceniem śruby w sposób pokazany na Rysunek 30 upewnij się, że koniec sprężyny w kształcie litery L jest zamontowany za krawędzią jednostki tnącej.
-
Zamocuj śrubę i nakrętkę. Zahacz końcówkę sprężyny z zaczepem w kształcie litery J o deflektor trawy (Rysunek 30).
Important: Musisz być w stanie obniżyć deflektor trawy na swoje miejsce. Unieś deflektor, aby sprawdzić, czy całkowicie się obniży.

Czyszczenie zespołu tnącego od spodu
| Częstotliwość serwisowania | Procedura konserwacji |
|---|---|
| Przed każdym użyciem lub codziennie |
|
Codziennie usuwaj trawę nagromadzoną pod kosiarką.
-
Zaparkuj maszynę na równej nawierzchni, podnieś jednostkę tnącą do pozycji TRANSPORTOWEJ, załącz hamulec postojowy, wyłącz silnik i wyjmij kluczyk.
-
Podnieś jednostkę tnącą do pozycji SERWISOWEJ, patrz instrukcja obsługi jednostki jezdnej.
-
Dokładnie oczyść spód zespołu tnącego wodą.


, który oznacza:
uwaga, ostrzeżenie lub niebezpieczeństwo – instrukcja
dotycząca bezpieczeństwa osobistego. Nieprzestrzeganie
powyższych zasad może doprowadzić do obrażeń
ciała lub śmierci.

























