Συντήρηση
Note: Καθορίστε την αριστερή και δεξιά πλευρά του μηχανήματος από την κανονική θέση λειτουργίας.
Συνιστώμενο χρονοδιάγραμμα συντήρησης
| Περιοδικότητα εργασιών συντήρησης | Διαδικασία συντήρησης |
|---|---|
| Μετά τις πρώτες 2 ώρες |
|
| Μετά τις πρώτες 10 ώρες |
|
| Μετά τις πρώτες 50 ώρες |
|
| Πριν από κάθε χρήση ή καθημερινά |
|
| Κάθε 50 ώρες |
|
| Κάθε 100 ώρες |
|
| Κάθε 400 ώρες |
|
Λίστα ελέγχου για την καθημερινή συντήρηση
Δημιουργήστε αντίγραφα αυτής της σελίδας για συχνή χρήση.
| Στοιχείο ελέγχου συντήρησης | Για την εβδομάδα: | ||||||
|---|---|---|---|---|---|---|---|
| Δευτ. | Τρ. | Τετ. | Πέμ. | Παρ. | Σάβ. | Κυρ. | |
| εβαιωθείτε ότι ο εκτροπέας γρασιδιού είναι στην κάτω θέση (εάν υπάρχει). | |||||||
| Ελέγξτε την κατάσταση των λεπίδων. | |||||||
| Λιπάνετε όλα τα γρασαδοράκια.1 | |||||||
| Επιδιορθώστε τη βαφή όπου υπάρχουν φθορές. | |||||||
|
1. μέσως μετά από κάθε πλύσιμο, ανεξάρτητα από το αναγραφόμενο χρονικό διάστημα. |
|||||||
| Σημείωση για προβληματικά σημεία | ||
| Άτομο που διενήργησε την επιθεώρηση: | ||
| Στοιχείο | Ημερομηνία | Πληροφορίες |
Προσοχή
ν αφήσετε το κλειδί στη μίζα, μπορεί κάποιος να θέσει ακούσια τον κινητήρα σε λειτουργία και να τραυματιστείτε εσείς ή διερχόμενοι.
φαιρέστε το κλειδί από τον διακόπτη της μίζας προτού εκτελέσετε οποιαδήποτε συντήρηση.
Γρασάρισμα των ρουλεμάν και των δακτυλίων τριβής
| Περιοδικότητα εργασιών συντήρησης | Διαδικασία συντήρησης |
|---|---|
| Πριν από κάθε χρήση ή καθημερινά |
|
| Κάθε 50 ώρες |
|
Το μηχάνημα διαθέτει γρασαδοράκια που πρέπει να λιπαίνονται τακτικά με γράσο λιθίου Νο. 2.
-
Σταθμεύστε το μηχάνημα σε επίπεδο έδαφος, χαμηλώστε τη μονάδα κοπής, βάλτε χειρόφρενο, σβήστε τον κινητήρα και αφαιρέστε το κλειδί.
-
Λιπάνετε τις ακόλουθες περιοχές:
Έλεγχος λιπαντικού στο κιβώτιο
| Περιοδικότητα εργασιών συντήρησης | Διαδικασία συντήρησης |
|---|---|
| Μετά τις πρώτες 50 ώρες |
|
| Κάθε 50 ώρες |
|
| Κάθε 400 ώρες |
|
Το κιβώτιο είναι σχεδιασμένο να λειτουργεί με ενισχυμένη βαλβολίνη SAE 80-90. Παρότι το κιβώτιο περιέχει λιπαντικό από το εργοστάσιο, ελέγξτε τη στάθμη του πριν χρησιμοποιήσετε τη μονάδα κοπής. Η χωρητικότητα του κιβωτίου είναι 283 ml.
-
Σταθμεύστε το μηχάνημα σε επίπεδο έδαφος, χαμηλώστε τη μονάδα κοπής, βάλτε χειρόφρενο, σβήστε τον κινητήρα και αφαιρέστε το κλειδί.
-
φαιρέστε την τάπα/δείκτη στάθμης από την πάνω πλευρά του κιβωτίου (Σχήμα 17) και βεβαιωθείτε ότι η στάθμη του λιπαντικού βρίσκεται μεταξύ των ενδείξεων του δείκτη στάθμης. Εάν η στάθμη του λιπαντικού είναι χαμηλή, προσθέστε όσο χρειάζεται μέχρι η στάθμη να βρίσκεται μεταξύ των ενδείξεων.

-
Τοποθετήστε τον δείκτη στάθμης και σφίξτε τον με ροπή 9 N∙m.
Έλεγχος σύσφιξης των συνδετικών εξαρτημάτων μεταξύ άξονα κίνησης PTO και κιβωτίου
| Περιοδικότητα εργασιών συντήρησης | Διαδικασία συντήρησης |
|---|---|
| Μετά τις πρώτες 10 ώρες |
|
| Κάθε 100 ώρες |
|
Ελέγξτε τη σύσφιξη των συνδετικών εξαρτημάτων που στερεώνουν τον άξονα κίνησης του PTO στο κιβώτιο (Σχήμα 18). Για τις προδιαγραφές των ροπών σύσφιξης, ανατρέξτε στην ενότητα εγκατάστασης στο Εγχειρίδιο Χειριστή του μηχανήματός σας.

φαίρεση της μονάδας κοπής από τον ελκυστήρα
-
Σταθμεύστε το μηχάνημα σε επίπεδο έδαφος με τη μονάδα κοπής ανυψωμένη.
-
φαιρέστε τους πείρους ρύθμισης ύψους κοπής (Σχήμα 19) από τις πλευρικές πλάκες της μονάδας κοπής.

-
Χαμηλώστε τη μονάδα κοπής, βάλτε χειρόφρενο, σβήστε τον κινητήρα και αφαιρέστε το κλειδί.
-
φαιρέστε τα μπουλόνια και τις ροδέλες που στερεώνουν τους βραχίονες ανύψωσης στους βραχίονες των τροχών.

-
φαιρέστε τα μπουλόνια και τα παξιμάδια από τον άξονα του PTO (Σχήμα 21) και σύρετε το δίχαλο έξω από το κιβώτιο.
Note: Για τη σωστή ευθυγράμμιση του πολύσφηνου, εάν αποσυναρμολογήσετε τα εξαρτήματα του άξονα κίνησης, ανατρέξτε στο Εγχειρίδιο Χειριστή.

Σέρβις των δακτυλίων τριβής στους βραχίονες των τροχών.
Οι βραχίονες των τροχών διαθέτουν πρεσαριστούς δακτυλίους τριβής στην άνω και κάτω πλευρά του σωλήνα, οι οποίοι φθείρονται μετά από πολλές ώρες λειτουργίας.
Για να ελέγξετε τους δακτυλίους τριβής, μετακινήστε το πιρούνι του τροχού εμπρός πίσω και πλευρικά. Εάν ο πείρος του τροχού είναι χαλαρός μέσα στους δακτυλίους τριβής, οι δακτύλιοι είναι φθαρμένοι και πρέπει να αντικατασταθούν.
-
Σταθμεύστε το μηχάνημα σε επίπεδο έδαφος, χαμηλώστε τη μονάδα κοπής, βάλτε χειρόφρενο, σβήστε τον κινητήρα και αφαιρέστε το κλειδί.
-
φαιρέστε το τερματικό πώμα, τον/τους αποστάτη(-ες) και την ωστική ροδέλα από το άνω μέρος του πείρου του τροχού.
-
Τραβήξτε τον πείρο του τροχού έξω από τη φωλιά. φήστε την ωστική ροδέλα και τον/τους αποστάτες(-ες) στην κάτω πλευρά του πείρου.
-
Περάστε μια πόντα στην άνω ή την κάτω πλευρά της φωλιάς και σπρώξτε έξω τον δακτύλιο τριβής (Σχήμα 22). Κατόπιν, αφαιρέστε και τον άλλο δακτύλιο τριβής από τον σωλήνα. Καθαρίστε την εσωτερική επιφάνεια των σωλήνων από τις βρομιές.

-
πλώστε γράσο στην εσωτερική και την εξωτερική επιφάνεια των καινούριων δακτυλίων τριβής. Χρησιμοποιήστε ένα σφυρί και μια επίπεδη πλάκα για να ωθήσετε τους δακτυλίους τριβής μέσα στη φωλιά.
-
Ελέγξτε τον πείρο του τροχού για φθορές και αντικαταστήστε τον εάν είναι φθαρμένος.
-
Πιέστε τον πείρο του τροχού μέσα από τους δακτυλίους τριβής και τη φωλιά, σύρετε την ωστική ροδέλα και τον/τους αποστάτες(-ες) επάνω στον πείρο και εγκαταστήστε το τερματικό πώμα στον πείρο του τροχού.
Σέρβις των τροχών και των ρουλεμάν
| Περιοδικότητα εργασιών συντήρησης | Διαδικασία συντήρησης |
|---|---|
| Μετά τις πρώτες 2 ώρες |
|
| Μετά τις πρώτες 10 ώρες |
|
| Κάθε 50 ώρες |
|
-
Σταθμεύστε το μηχάνημα σε επίπεδο έδαφος, χαμηλώστε τη μονάδα κοπής, βάλτε χειρόφρενο, σβήστε τον κινητήρα και αφαιρέστε το κλειδί.
-
φαιρέστε το ασφαλιστικό παξιμάδι από το μπουλόνι που συγκρατεί το συγκρότημα του τροχού ανάμεσα στα σκέλη του πιρουνιού (Σχήμα 23). Κρατήστε τον τροχό και σύρετε το μπουλόνι έξω από πιρούνι ή τον βραχίονα περιστροφής.
-
φαιρέστε το ρουλεμάν από την πλήμνη του τροχού και αφήστε να πέσει ο αποστάτης του ρουλεμάν (Σχήμα 23). φαιρέστε το ρουλεμάν από την απέναντι πλευρά της πλήμνης του τροχού.
-
Ελέγξτε για φθορές τα ρουλεμάν, τον αποστάτη και το εσωτερικό της πλήμνης του τροχού. ντικαταστήστε κάθε φθαρμένο εξάρτημα.
-
Για να συναρμολογήσετε τον τροχό, πιέστε το ρουλεμάν μέσα στην πλήμνη του τροχού. Κατά την εγκατάσταση των ρουλεμάν, πιέστε στην εξωτερική στεφάνη τους.

-
Σύρετε τον αποστάτη του ρουλεμάν μέσα στην πλήμνη του τροχού. Πιέστε το άλλο ρουλεμάν μέσα στο ανοικτό άκρο της πλήμνης του τροχού για να ακινητοποιήσετε τον αποστάτη του ρουλεμάν μέσα στην πλήμνη.
-
Εγκαταστήστε το συγκρότημα του τροχού ανάμεσα στα σκέλη του πιρουνιού και στερεώστε το με το μπουλόνι και το ασφαλιστικό παξιμάδι.
Σέρβις των λεπίδων κοπής
σφάλεια λεπίδων
Εάν η λεπίδα έχει υποστεί φθορά ή ζημιά, μπορεί να σπάσει και κάποιο τμήμα της να εκτοξευτεί προς το μέρος σας ή προς το μέρος διερχομένων ατόμων, με αποτέλεσμα την επέλευση σοβαρού τραυματισμού ή θανάτου.
-
Επιθεωρείτε τακτικά τη λεπίδα για ενδείξεις φθοράς ή ζημίας.
-
Να είστε προσεκτικοί κατά τον έλεγχο των λεπίδων. Τυλίξτε τις λεπίδες ή φοράτε γάντια, και δείξτε προσοχή κατά το σέρβις των λεπίδων. Πραγματοποιείτε μόνο αντικατάσταση ή ακόνισμα των λεπίδων· ποτέ μην πραγματοποιείτε ίσιωμα ή συγκόλληση.
-
Σε μηχανήματα με πολλαπλές λεπίδες, δείξτε προσοχή, καθώς αν περιστρέψετε 1 λεπίδα μπορεί να αρχίσουν να περιστρέφονται κι άλλες λεπίδες.
Έλεγχος για στραβωμένη λεπίδα
Σε περίπτωση κρούσης σε ξένο αντικείμενο, ελέγξτε το μηχάνημα για φθορές και κάντε τις όποιες επισκευές προτού ξεκινήσετε να χρησιμοποιείτε τον εξοπλισμό. Σφίξτε όλα τα παξιμάδια των τροχαλιών των αξόνων με ροπή 176 έως 203 N∙m.
-
Σταθμεύστε το μηχάνημα σε επίπεδο έδαφος, ανυψώστε τη μονάδα κοπής στη θέση Μεταφοράς, βάλτε χειρόφρενο, σβήστε τον κινητήρα και αφαιρέστε το κλειδί.
-
νυψώστε τη μονάδα κοπής στη θέση Σέρβις· ανατρέξτε στο Εγχειρίδιο Χειριστή του ελκυστήρα.
-
Περιστρέψτε τη λεπίδα μέχρι τα άκρα της να είναι στραμμένα προς τα εμπρός και πίσω και μετρήστε την απόσταση από το εσωτερικό της μονάδας κοπής μέχρι την ακμή κοπής στην μπροστινή πλευρά της λεπίδας (Σχήμα 24).
Note: Σημειώστε αυτήν τη μέτρηση.

-
Περιστρέψτε το άλλο άκρο της λεπίδας ώστε να είναι στραμμένο προς τα εμπρός και μετρήστε την απόσταση από τη μονάδα κοπής μέχρι την ακμή κοπής της λεπίδας στο ίδιο σημείο όπως και στο βήμα 3.
Note: Η διαφορά των μετρήσεων που πήρατε στα βήματα 3 και 4 δεν πρέπει να υπερβαίνει τα 3 mm (1/8"). Εάν υπερβαίνει τα 3 mm (1/8"), η λεπίδα έχει στραβώσει και πρέπει να αντικατασταθεί· ανατρέξτε στην ενότητα φαίρεση και εγκατάσταση λεπίδας(-ων) της μονάδας κοπής.
φαίρεση και εγκατάσταση λεπίδας(-ων) της μονάδας κοπής
ντικαταστήστε τη λεπίδα εάν χτυπήσει συμπαγές αντικείμενο, εάν δεν είναι ζυγοσταθμισμένη ή εάν είναι στραβωμένη. Χρησιμοποιείτε πάντα τις γνήσιες, ανταλλακτικές λεπίδες της Toro για να έχετε τη βέλτιστη ασφάλεια και απόδοση.
-
Σταθμεύστε το μηχάνημα σε επίπεδο έδαφος, ανυψώστε τη μονάδα κοπής στη θέση Μεταφοράς, βάλτε χειρόφρενο, σβήστε τον κινητήρα και αφαιρέστε το κλειδί.
-
νυψώστε τη μονάδα κοπής στη θέση Σέρβις· ανατρέξτε στο Εγχειρίδιο Χειριστή του ελκυστήρα.
-
Κρατήστε το άκρο της λεπίδας, χρησιμοποιώντας ένα πανί ή ένα χοντρό γάντι.
-
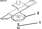
φαιρέστε το μπουλόνι της λεπίδας, το κάλυμμα αποτροπής απόξεσης εδάφους και τη λεπίδα από τον άξονα περιστροφής (Σχήμα 25).

-
Εγκαταστήστε τη λεπίδα, το κάλυμμα αποτροπής απόξεσης εδάφους και το μπουλόνι της λεπίδας και σφίξτε το τελευταίο με ροπή 115 έως 149 N∙m.
Important: Για να εξασφαλιστεί η σωστή κοπή, το καμπυλωτό τμήμα της λεπίδας πρέπει να είναι στραμμένο προς το εσωτερικό της μονάδας κοπής.
Note: Σε περίπτωση κρούσης σε ξένο αντικείμενο, σφίξτε όλα τα παξιμάδια των τροχαλιών των αξόνων με ροπή 115 έως 149 N∙m.
Έλεγχος και ακόνισμα της/των λεπίδας(-ων) της μονάδας κοπής
Στην καλή ποιότητα της κοπής συμβάλλουν τόσο οι ακμές κοπής όσο και η ράχη, δηλαδή το ανασηκωμένο τμήμα της λεπίδας απέναντι από την ακμή κοπής.
Διατηρείτε τις λεπίδες ακονισμένες καθ’ όλη τη διάρκεια της περιόδου κοπής. Όταν οι λεπίδες είναι κοφτερές, κόβουν με ακρίβεια, χωρίς να σχίζουν το γρασίδι.
Ελέγχετε τις λεπίδες για ενδείξεις φθοράς ή ζημιάς. Η ράχη σηκώνει το γρασίδι όρθιο, επιτρέποντας την ομοιόμορφη κοπή, και σταδιακά φθείρεται με τη χρήση.
-
Σταθμεύστε το μηχάνημα σε επίπεδο έδαφος, ανυψώστε τη μονάδα κοπής στη θέση Μεταφοράς, βάλτε χειρόφρενο, σβήστε τον κινητήρα και αφαιρέστε το κλειδί.
-
νυψώστε τη μονάδα κοπής στη θέση Σέρβις· ανατρέξτε στο Εγχειρίδιο Χειριστή του ελκυστήρα.
-
Ελέγξτε προσεκτικά τις ακμές κοπής της λεπίδας, ειδικά στο σύνορο μεταξύ του επίπεδου και του καμπυλωτού τμήματος της λεπίδας (Σχήμα 26).
Note: Επειδή η άμμος και τα τραχιά υλικά μπορούν να φθείρουν το μέταλλο που συνδέει το επίπεδο και το καμπυλωτό τμήμα της λεπίδας, ελέγχετε τη λεπίδα πριν από τη χρήση του χλοοκοπτικού μηχανήματος. Εάν εντοπίσετε φθορές (Σχήμα 26), αντικαταστήστε τη λεπίδα.

-
Ελέγξτε τις ακμές κοπής όλων των λεπίδων και ακονίστε τις ακμές κοπής εάν έχουν στομώσει ή έχουν υποστεί μικροφθορές (Σχήμα 27).
Note: Για να εξασφαλίσετε την αιχμηρότητα, ακονίζετε μόνο την άνω πλευρά της ακμής κοπής, διατηρώντας την αρχική γωνία κοπής (Σχήμα 27). Η λεπίδα παραμένει ζυγοσταθμισμένη εάν αφαιρέσετε την ίδια ποσότητα μετάλλου και από τις δύο ακμές κοπής.

Note: φαιρέστε τις λεπίδες και ακονίστε τις με τροχό. φού ακονίσετε τις ακμές κοπής, τοποθετήστε τη λεπίδα με το κάλυμμα αποτροπής απόξεσης εδάφους και το μπουλόνι της λεπίδας· ανατρέξτε στην ενότητα Έλεγχος και ακόνισμα της/των λεπίδας(-ων) της μονάδας κοπής.
Έλεγχος και διόρθωση διαφορών των λεπίδων
Εάν υπάρχει διαφορά μεταξύ των λεπίδων, το γρασίδι θα εμφανίζει γραμμές μετά την κοπή. υτό διορθώνεται φροντίζοντας όλες οι λεπίδες να είναι ίσιες και να κόβουν στο ίδιο επίπεδο.
-
Χρησιμοποιήστε αλφάδι μήκους 1 m για να βρείτε μια επίπεδη επιφάνεια.
-
Σταθμεύστε το μηχάνημα σε επίπεδο έδαφος, χαμηλώστε τη μονάδα κοπής, βάλτε χειρόφρενο, σβήστε τον κινητήρα και αφαιρέστε το κλειδί.
-
υξήστε το ύψος κοπής στην υψηλότερη θέση· ανατρέξτε στην ενότητα Ρύθμιση ύψους κοπής.
-
φαιρέστε τα καλύμματα από το άνω μέρος της μονάδας κοπής.
-
Περιστρέψτε τις λεπίδες μέχρι τα άκρα τους να είναι στραμμένα προς τα εμπρός και πίσω. Μετρήστε την απόσταση από το έδαφος μέχρι την μπροστινή μύτη της ακμής κοπής. Σημειώστε αυτήν τη μέτρηση. Στη συνέχεια, περιστρέψτε την ίδια λεπίδα μέχρι να έρθει μπροστά η αντίθετη άκρη και μετρήστε ξανά. Η διαφορά των μετρήσεων δεν πρέπει να υπερβαίνει τα 3 mm (1/8"). Εάν υπερβαίνει τα 3 mm (1/8"), η λεπίδα έχει στραβώσει και πρέπει να αντικατασταθεί. Φροντίστε να μετρήσετε όλες τις λεπίδες.
-
Συγκρίνετε τις μετρήσεις των εξωτερικών λεπίδων με αυτήν της κεντρικής λεπίδας. Η κεντρική λεπίδα επιτρέπεται να είναι χαμηλότερα από τις εξωτερικές, αλλά όχι περισσότερο από 10 mm (3/8"). Εάν η κεντρική λεπίδα είναι χαμηλότερα από τις εξωτερικές λεπίδες κατά περισσότερο από 10 mm (3/8"), προχωρήστε στο βήμα 7 και τοποθετήστε προσθήκες μεταξύ του περιβλήματος του άξονα και της κάτω πλευράς της μονάδας κοπής.
-
φαιρέστε τα μπουλόνια, τις επίπεδες ροδέλες, τα γκρόβερ και τα παξιμάδια από τον εξωτερικό άξονα στα σημεία που πρέπει να τοποθετηθούν οι προσθήκες. Για να ανυψώσετε ή να χαμηλώσετε τη λεπίδα, τοποθετήστε μια προσθήκη (κωδ. 3256-24) μεταξύ του περιβλήματος του άξονα και της κάτω πλευράς της μονάδας κοπής. Συνεχίστε να ελέγχετε την ευθυγράμμιση των λεπίδων και τοποθετήστε και άλλες προσθήκες, μέχρι οι μύτες των λεπίδων να δίνουν τις σωστές μετρήσεις.
Important: Μη χρησιμοποιήσετε περισσότερες από τρεις προσθήκες σε κάθε μία οπή. Εάν σε μια οπή τοποθετήσετε περισσότερες από μία προσθήκες, στις γειτονικές οπές τοποθετήστε λιγότερες.
-
Τοποθετήστε τα καλύμματα ιμάντα.
ντικατάσταση του ιμάντα κίνησης
| Περιοδικότητα εργασιών συντήρησης | Διαδικασία συντήρησης |
|---|---|
| Κάθε 50 ώρες |
|
Ο ιμάντας κίνησης των λεπίδων, ο οποίος μένει τεντωμένος χάρη στην ελεύθερη τροχαλία που βρίσκεται υπό την τάση ελατηρίου, είναι πολύ ανθεκτικός. Ωστόσο, μετά από πολλές ώρες χρήσης ο ιμάντας είναι φυσικό να παρουσιάζει ενδείξεις φθοράς. Ενδείξεις φθαρμένου ιμάντα είναι: στρίγκλισμα κατά την περιστροφή του, ολίσθηση των λεπίδων κατά την κοπή, ξεφτισμένα άκρα, ίχνη αλλοίωσης και σχισμές. Εάν συντρέχει οποιαδήποτε από αυτές τις συνθήκες, αντικαταστήστε τον ιμάντα.
-
Σταθμεύστε το μηχάνημα σε επίπεδο έδαφος, χαμηλώστε τη μονάδα κοπής, βάλτε χειρόφρενο, σβήστε τον κινητήρα και αφαιρέστε το κλειδί.
-
φαιρέστε τα καλύμματα ιμάντα από το άνω μέρος της μονάδας κοπής και τοποθετήστε τα στην άκρη.
-
Χρησιμοποιώντας ένα ροπόκλειδο ή παρόμοιο εργαλείο, μετακινήστε την ελεύθερη τροχαλία (Σχήμα 28) μακριά από τον ιμάντα κίνησης για να τον χαλαρώσετε και να μπορέσετε να τον αφαιρέσετε από την τροχαλία του κιβωτίου.

-
φαιρέστε τον παλαιό ιμάντα από τις τροχαλίες των αξόνων και την ελεύθερη τροχαλία.
-
Χρησιμοποιώντας ένα ροπόκλειδο ή παρόμοιο εργαλείο για να συγκρατήσετε την ελεύθερη τροχαλία, περάστε τον καινούριο ιμάντα γύρω από τις τροχαλίες των αξόνων και το συγκρότημα της ελεύθερης τροχαλίας, όπως φαίνεται στο Σχήμα 29.

-
Τοποθετήστε τα καλύμματα ιμάντα.
ντικατάσταση του εκτροπέα γρασιδιού
Προειδοποίηση
Εάν το άνοιγμα απόρριψης μείνει ακάλυπτο, το μηχάνημα ενδέχεται να εκτινάξει αντικείμενα προς εσάς ή τους παρευρισκόμενους, προκαλώντας σοβαρό τραυματισμό. Επίσης, υπάρχει κίνδυνος επαφής με τη λεπίδα.
-
Μη χρησιμοποιείτε ποτέ το μηχάνημα εάν δεν έχετε εγκαταστήσει πλάκα καλύμματος, ποδιά κομμένου γρασιδιού ή κανάλι συλλογής γρασιδιού.
-
εβαιωθείτε ότι ο εκτροπέας γρασιδιού είναι χαμηλωμένος.
-
Σταθμεύστε το μηχάνημα σε επίπεδο έδαφος, χαμηλώστε τη μονάδα κοπής, βάλτε χειρόφρενο, σβήστε τον κινητήρα και αφαιρέστε το κλειδί.
-
φαιρέστε το παξιμάδι ασφάλισης, το μπουλόνι, το ελατήριο και τον αποστάτη που συγκρατούν τον εκτροπέα στις βάσεις περιστροφής (Σχήμα 30). φαιρέστε τον κατεστραμμένο ή φθαρμένο εκτροπέα γρασιδιού.
-
Τοποθετήστε τον αποστάτη και το ελατήριο επάνω στον εκτροπέα γρασιδιού. Τοποθετήστε το άκρο σχήματος L του ελατηρίου πίσω από το χείλος της μονάδας κοπής.
Note: Προτού εγκαταστήσετε το μπουλόνι, βεβαιωθείτε ότι το άκρο σχήματος L του ελατηρίου έχει τοποθετηθεί πίσω από το χείλος της μονάδας κοπής, όπως φαίνεται στο Σχήμα 30.
-
Τοποθετήστε το μπουλόνι και το παξιμάδι. Περάστε το άκρο με το άγκιστρο J του ελατηρίου γύρω από τον εκτροπέα γρασιδιού (Σχήμα 30).
Important: Θα πρέπει να μπορείτε να χαμηλώσετε τον εκτροπέα γρασιδιού στη θέση του. νυψώστε τον εκτροπέα για να δοκιμάσετε ότι χαμηλώνει στην τέρμα κάτω θέση.

Καθαρισμός κάτω από τη μονάδα κοπής
| Περιοδικότητα εργασιών συντήρησης | Διαδικασία συντήρησης |
|---|---|
| Πριν από κάθε χρήση ή καθημερινά |
|
φαιρείτε καθημερινά το συσσωρευμένο γρασίδι από την κάτω πλευρά της μονάδας κοπής.
-
Σταθμεύστε το μηχάνημα σε επίπεδο έδαφος, ανυψώστε τη μονάδα κοπής στη θέση Μεταφοράς, βάλτε χειρόφρενο, σβήστε τον κινητήρα και αφαιρέστε το κλειδί.
-
νυψώστε τη μονάδα κοπής στη θέση Σέρβις· ανατρέξτε στο Εγχειρίδιο Χειριστή του ελκυστήρα.
-
Καθαρίστε σχολαστικά με νερό την κάτω πλευρά της μονάδας κοπής.


, το οποίο
συνοδεύει οδηγίες
για την προσωπική ασφάλεια
με τις ενδείξεις
Προσοχή, Προειδοποίηση
ή Κίνδυνος. Η μη
συμμόρφωση με αυτές
τις οδηγίες μπορεί
να προκαλέσει
σωματικές βλάβες
ή θάνατο.

























