Entretien
Note: Les côtés gauche et droit de la machine sont déterminés d'après la position d'utilisation normale.
Programme d'entretien recommandé
| Périodicité d'entretien | Procédure d'entretien |
|---|---|
| Après les 2 premières heures de fonctionnement |
|
| Après les 10 premières heures de fonctionnement |
|
| Après les 50 premières heures de fonctionnement |
|
| À chaque utilisation ou une fois par jour |
|
| Toutes les 50 heures |
|
| Toutes les 100 heures |
|
| Toutes les 400 heures |
|
Liste de contrôle pour l'entretien journalier
Copiez cette page pour pouvoir vous en servir régulièrement.
| Entretiens à effectuer | Pour la semaine du : | ||||||
|---|---|---|---|---|---|---|---|
| Lun. | Mar. | Mer. | Jeu. | Ven. | Sam. | Dim. | |
| Contrôlez le déflecteur d'herbe en position abaissée (le cas échéant) | |||||||
| Vérifiez l'état des lames | |||||||
| Lubrifiez tous les graisseurs.1 | |||||||
| Retouchez les peintures endommagées. | |||||||
|
1. Immédiatement après chaque lavage, quelle que soit la fréquence d'entretien indiquée. |
|||||||
| Notes concernant les problèmes constatés | ||
| Contrôle effectué par : | ||
| Point contrôlé | Date | Information |
Prudence
Si vous laissez la clé dans le commutateur d'allumage, quelqu'un pourrait mettre le moteur en marche accidentellement et vous blesser gravement, ainsi que toute personne à proximité.
Avant tout entretien, retirez la clé de contact.
Graissage des roulements et bagues
| Périodicité d'entretien | Procédure d'entretien |
|---|---|
| À chaque utilisation ou une fois par jour |
|
| Toutes les 50 heures |
|
Les graisseurs de la machine doivent être lubrifiés régulièrement avec de la graisse au lithium nº 2.
-
Garez la machine sur une surface plane et horizontale, abaissez l'unité de coupe, serrez le frein de stationnement, coupez le moteur et enlevez la clé.
-
Lubrifiez aux endroits suivants :
Contrôle de l'huile du boîtier d'engrenages
| Périodicité d'entretien | Procédure d'entretien |
|---|---|
| Après les 50 premières heures de fonctionnement |
|
| Toutes les 50 heures |
|
| Toutes les 400 heures |
|
Le boîtier d'engrenages est conçu pour fonctionner avec de l'huile pour engrenages SAE 80-90W. Le boîtier d'engrenages est rempli de lubrifiant à l'usine. Vérifiez toutefois le niveau du liquide avant d'utiliser l'unité de coupe. La capacité du boitier d'engrenages et de 283 ml.
-
Garez la machine sur une surface plane et horizontale, abaissez l'unité de coupe, serrez le frein de stationnement, coupez le moteur et enlevez la clé.
-
Retirez le bouchon de remplissage-jauge au sommet du boîtier d'engrenages (Figure 17) et vérifiez que le niveau d'huile se situe entre les repères sur la jauge. Si le niveau de lubrifiant est trop bas, faites l'appoint de lubrifiant pour faire monter le niveau entre les repères.

-
Montez et serrez la jauge à 9 N·m.
Contrôle du couple de serrage des fixations de l'arbre d'entraînement de la PDF sur le boîtier d'engrenages
| Périodicité d'entretien | Procédure d'entretien |
|---|---|
| Après les 10 premières heures de fonctionnement |
|
| Toutes les 100 heures |
|
Contrôlez le couple de serrage des fixations qui maintiennent l'arbre d'entraînement de la PDF sur le boîtier d'engrenages (Figure 18) ; voir les couples de serrage spécifiés dans la section sur l'installation dans le Manuel de l'utilisateur de la machine.

Séparation de l'unité de coupe et du groupe de déplacement
-
Garez la machine sur une surface plane et horizontale avec l'unité de coupe levée.
-
Retirez les goupilles de hauteur de coupe (Figure 19) des plaques latérales de l'unité de coupe

-
Abaissez l'unité de coupe, serrez le frein de stationnement, coupez le moteur et enlevez la clé.
-
Retirez les boulons et les rondelles qui fixent les bras de levage sur les bras des roues pivotantes.

-
Retirez les boulons et les écrous de l'arbre de PDF (Figure 21) et sortez la chape du boîtier d'engrenages.
Note: Reportez-vous au Manuel de l'utilisateur pour aligner correctement les cannelures si vous séparez les composants de l'arbre d'entraînement.

Entretien des bagues des bras pivotants
Les bras des roues pivotantes sont munis de bagues enfoncées à la presse en haut et en bas du tube. Les bagues s'usent après de nombreuses heures d'utilisation.
Pour vérifiez l'état des bagues, bougez la fourche de la roue pivotante longitudinalement et latéralement. Si l'axe de pivot bouge à l'intérieur des bagues, cela signifie que les bagues sont usées ; vous devez alors les remplacer.
-
Garez la machine sur une surface plane et horizontale, abaissez l'unité de coupe, serrez le frein de stationnement, coupez le moteur et enlevez la clé.
-
Retirez le chapeau de tension, la ou les entretoise(s) et la rondelle de butée situés en haut de l'axe de pivot.
-
Sortez l'axe de pivot du tube de montage, mais laissez la rondelle de butée et la ou les entretoise(s) au bas de l'axe.
-
Insérez un chasse-goupille dans le haut ou le bas du tube de montage et chassez la bague hors du tube (Figure 22). Chassez ensuite l'autre bague. Nettoyez l'intérieur des tubes de montage.

-
Graissez l'intérieur et l'extérieur des nouvelles bagues. À l'aide d'un marteau et d'une plaque plate, enfoncez les bagues dans le tube de montage.
-
Examinez l'état du pivot et remplacez-le s'il est endommagé.
-
Poussez le pivot de la roue pivotante dans les bagues et le tube de montage, enfilez la rondelle de butée et la ou les entretoises sur le pivot, puis posez le chapeau de tension sur le pivot.
Entretien des roues pivotantes et des roulements
| Périodicité d'entretien | Procédure d'entretien |
|---|---|
| Après les 2 premières heures de fonctionnement |
|
| Après les 10 premières heures de fonctionnement |
|
| Toutes les 50 heures |
|
-
Garez la machine sur une surface plane et horizontale, abaissez l'unité de coupe, serrez le frein de stationnement, coupez le moteur et enlevez la clé.
-
Enlevez le contre-écrou du boulon qui fixe la roue pivotante à la chape (Figure 23). Maintenez la roue pivotante et sortez le boulon de la fourche ou du bras pivotant.
-
Enlevez le roulement du moyeu de la roue et laissez tomber la douille d'écartement à l'extérieur (Figure 23). Enlevez le roulement de l'autre côté du moyeu.
-
Vérifiez l'usure des roulements, de la douille d'écartement et de l'intérieur du moyeu. Remplacez les pièces endommagées.
-
Pour assembler la roue pivotante, enfoncez le roulement dans le moyeu. Lors de la pose des roulements, appuyez sur la bague extérieure des roulements.

-
Glissez la douille d'écartement dans le moyeu. Insérez l'autre roulement dans le côté ouvert du moyeu pour bloquer la douille d'écartement à l'intérieur.
-
Montez la roue pivotante entre la fourche et fixez-la en place à l'aide du boulon et du contre-écrou.
Entretien des lames
Consignes de sécurité relative aux lames
Une lame usée ou endommagée peut se briser et projeter le morceau cassé dans votre direction ou celle d'autres personnes, et infliger des blessures graves ou mortelles.
-
Contrôlez l'état et l'usure des lames périodiquement.
-
Examinez toujours les lames avec prudence. Manipulez les lames avec des gants ou en les enveloppant dans un chiffon, et toujours avec prudence. Limitez-vous à remplacer ou aiguiser les lames ; n'essayez jamais de les redresser ou de les souder.
-
Sur les machines à plusieurs lames, la rotation d'une lame peut entraîner celle des autres.
Détection des lames faussées
Après avoir heurté un obstacle, vérifiez si la tondeuse n'est pas endommagée et effectuez les réparations éventuellement nécessaires avant de démarrer et de poursuivre l'utilisation. Serrez tous les écrous des poulies d'axe à un couple de 176 à 203 N·m.
-
Garez la machine sur une surface plane et horizontale, levez l'unité de coupe à la position de TRANSPORT, serrez le frein de stationnement, coupez le moteur et enlevez la clé.
-
Levez l'unité de coupe en position d'ENTRETIEN ; voir le Manuel de l'utilisateur du groupe de déplacement.
-
Tournez la lame dans le sens longitudinal et mesurez la distance entre l'intérieur de l'unité de coupe et le tranchant à l'avant de la lame (Figure 24).
Note: Notez cette valeur.

-
Tournez la lame pour faire passer la pointe qui est à l'arrière à l'avant et mesurez l'écart entre l'unité de coupe et le tranchant de la lame au même endroit qu'à l'opération 3.
Note: Les mesures obtenues aux opérations 3 et 4 ne doivent pas différer de plus de 3 mm. Si la différence est supérieure à 3 mm, la lame est faussée et doit être remplacée ; voir Retrait et montage des lames des unités de coupe.
Retrait et montage des lames des unités de coupe
Remplacez toute lame si elle heurte un obstacle, si elle est déséquilibrée ou faussée. Pour garantir le meilleur rendement et le maximum de sécurité, utilisez toujours des lames d'origine Toro.
-
Garez la machine sur une surface plane et horizontale, levez l'unité de coupe à la position de TRANSPORT, serrez le frein de stationnement, coupez le moteur et enlevez la clé.
-
Levez l'unité de coupe en position d'ENTRETIEN ; voir le Manuel de l'utilisateur du groupe de déplacement.
-
Saisissez la lame par son extrémité avec un chiffon ou un gant épais.
-
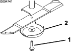
Enlevez le boulon, la coupelle de protection et la lame de l'axe de pivot (Figure 25).

-
Montez la lame, la coupelle de protection et le boulon de la lame, puis serrez le boulon à un couple de 115 à 149 N·m.
Important: Pour obtenir une coupe correcte, l'ailette de la lame doit être dirigée vers l'intérieur de l'unité de coupe.
Note: Après avoir heurté un obstacle, serrez tous les écrous des poulies d'axe à un couple de 115 à 149 N·m.
Contrôle et affûtage des lames des unités de coupe
Le tranchant comme l'ailette (à savoir la partie relevée à l'opposé du tranchant) contribuent tous deux à assurer la qualité de la coupe.
Maintenez les lames bien affûtées tout au long de la saison de tonte. Les lames bien affûtées assurent une coupe nette, sans arracher l'herbe ou la déchiqueter.
Vérifiez l'état et l'usure des lames. L'ailette redresse l'herbe, ce qui produit une coupe nette, et s'use progressivement au cours de l'utilisation.
-
Garez la machine sur une surface plane et horizontale, levez l'unité de coupe à la position de TRANSPORT, serrez le frein de stationnement, coupez le moteur et enlevez la clé.
-
Levez l'unité de coupe en position d'ENTRETIEN ; voir le Manuel de l'utilisateur du groupe de déplacement.
-
Examinez attentivement les tranchants de la lame, particulièrement au point de rencontre de la partie plane et de l'ailette (Figure 26).
Note: Le sable et les matières abrasives peuvent éroder le métal à cet endroit, c'est pourquoi il est important de contrôler l'état de la lame avant d'utiliser la tondeuse. Remplacez la lame si elle semble usée (Figure 26).

-
Examinez les tranchants de toutes les lames et aiguisez-les s'ils sont émoussés ou ébréchés (Figure 27).
Note: N'aiguisez que le haut du tranchant et conservez l'angle de coupe d'origine pour obtenir une coupe nette (Figure 27). Limez la même quantité de métal sur chacun des deux tranchants pour ne pas déséquilibrer la lame.

Note: Déposez les lames et affûtez-les avec une meule. Une fois affûtée, remontez la lame ainsi que la coupelle de protection et le boulon de fixation ; voir Contrôle et affûtage des lames des unités de coupe.
Contrôle et correction du déséquilibre des lames
Si les lames sont déséquilibrées, des traînées seront visibles sur l'herbe après le passage de la machine. Pour corriger ce problème, vérifiez que les lames sont toutes parfaitement droites et qu'elles coupent toutes sur le même plan.
-
Trouvez une surface plane et horizontale en vous aidant d'un niveau à bulle de 1 mètre.
-
Garez la machine sur une surface plane et horizontale, abaissez l'unité de coupe, serrez le frein de stationnement, coupez le moteur et enlevez la clé.
-
Sélectionnez la hauteur de coupe maximale ; voir Réglage de la hauteur de coupe.
-
Déposez les capots au sommet de l'unité de coupe.
-
Tournez les lames dans le sens longitudinal. Mesurez et notez la distance entre le sol et la pointe avant du tranchant. Notez cette valeur. Tournez ensuite la même lame à 180° et mesurez de nouveau. Les deux mesures ne doivent pas différer de plus de 3 mm. Si la différence est supérieure à 3 mm, remplacez la lame car elle est faussée. Mesurez bien toutes les lames de cette façon.
-
Comparez les mesures obtenues pour les lames extérieures et la lame centrale. La lame centrale ne doit pas être plus de 10 mm plus basse que les lames extérieures. Si elle l'est, passez à l'opération 7 et ajoutez des cales entre le logement de pivot et le bas de l'unité de coupe.
-
Enlevez les boulons, les rondelles plates, les rondelles-freins et les écrous de l'axe extérieur, à l'endroit où les cales doivent être ajoutées. Pour élever ou abaisser la lame, ajoutez une cale (réf. 3256-24) entre le logement du pivot et le bas de l'unité de coupe. Continuez à vérifiez l'alignement des lames et à ajouter des cales jusqu'à ce que les pointes des lames soient bien équilibrées.
Important: N'utilisez pas plus de trois cales à la fois dans un même trou. Utilisez un nombre décroissant de cales dans les trous adjacents si plusieurs cales sont ajoutées dans un même trou.
-
Reposez les couvercles de courroies.
Remplacement de la courroie d'entraînement
| Périodicité d'entretien | Procédure d'entretien |
|---|---|
| Toutes les 50 heures |
|
La courroie d'entraînement des lames, qui est tendue par la poulie de tension à ressort, est très durable. Elle commence toutefois à s'user après de longues heures d'utilisation. La courroie peut montrer les signes d'usure suivants : grincement pendant la rotation, glissement des lames pendant la coupe, bords effilochés, traces de brûlures et fissures. Remplacez la courroie si elle présente ce genre de problèmes.
-
Garez la machine sur une surface plane et horizontale, abaissez l'unité de coupe, serrez le frein de stationnement, coupez le moteur et enlevez la clé.
-
Déposez les couvercles de courroie au sommet de l'unité de coupe et mettez-les de côté.
-
À l'aide d'une clé dynamométrique ou d'un outil similaire, éloignez la poulie de tension (Figure 28) de la courroie d'entraînement pour détendre cette dernière et pouvoir la déchausser de la poulie du boîtier d'engrenages.

-
Enlevez la courroie usagée des poulies d'axe et de la poulie de tension.
-
À l'aide d'une clé dynamométrique ou d'un outil similaire, installez la nouvelle courroie autour des poulies d'axes et de la poulie de tension, comme montré à la Figure 29.

-
Reposez les couvercles de courroies.
Remplacement du déflecteur d'herbe
Attention
Si l'ouverture d'éjection est ouverte, la machine peut projeter des objets dans votre direction ou celle de personnes à proximité et causer des blessures graves. Un contact avec la lame peut aussi se produire.
-
N'utilisez jamais la machine sans l'équiper d'une plaque d'obturation, d'un déflecteur de mulching ou d'une goulotte d'éjection et d'un système de ramassage.
-
Vérifiez que le déflecteur d'herbe est baissé.
-
Garez la machine sur une surface plane et horizontale, abaissez l'unité de coupe, serrez le frein de stationnement, coupez le moteur et enlevez la clé.
-
Retirez le contre-écrou, le boulon, le ressort et l'entretoise qui fixent le déflecteur aux supports de pivot (Figure 30). Déposez le déflecteur d'herbe s'il est endommagé ou usé.
-
Placez une entretoise et un ressort sur le déflecteur d'herbe. L'extrémité en L du ressort doit se trouver derrière le bord de l'unité de coupe.
Note: Prenez soin de placer l'extrémité en L du ressort derrière le bord de l'unité de coupe avant de mettre le boulon en place, comme montré à la Figure 30.
-
Remettez le boulon et l'écrou en place. Accrochez l'extrémité en J du ressort au déflecteur d'herbe (Figure 30).
Important: Vous devez pouvoir abaisser le déflecteur d'herbe en position. Soulevez le déflecteur pour vérifier qu'il s'abaisse complètement.

Nettoyage du dessous de l'unité de coupe
| Périodicité d'entretien | Procédure d'entretien |
|---|---|
| À chaque utilisation ou une fois par jour |
|
Enlevez chaque jour l'herbe agglomérée sous l'unité de coupe.
-
Garez la machine sur une surface plane et horizontale, levez l'unité de coupe à la position de TRANSPORT, serrez le frein de stationnement, coupez le moteur et enlevez la clé.
-
Levez l'unité de coupe en position d'ENTRETIEN ; voir le Manuel de l'utilisateur du groupe de déplacement.
-
Lavez soigneusement le dessous de l'unité de coupe à l'eau.


) et la mention Prudence,
Attention ou Danger. Le non respect de ces instructions peut entraîner
des blessures graves ou mortelles.

























