この製品は、関連する全ての欧州指令に適合しています。詳細についてはこの冊子の末尾にあるDOI(適合宣誓書)をご覧ください。
![]() |
危険な部分の近くには、見やすい位置に安全ラベルや指示ラベルを貼付しています。破損したりはがれたりした場合は新しいラベルを貼付してください。 |


Important: このキットは以下のグランドマスター以外には使用できません:モデル 30881, 30882, 30873, 30873TE, 30874, および 30874TE のシリアル番号 40000000 以上の製品。
Note: このキットを取り付けるためには、機体の下に入って作業を行う必要があります。
Note: 機体の底部にアクセスする場合にはホイストなどを使用することをお奨めします。
Important: 油圧ホース、チューブ、機器などの開口部には、内部に異物を入れないように必ずキャップやプラグなどをつけて保護してください。
平らな場所に停車し、駐車ブレーキを掛け、走行ベダルがニュートラル位置にあることを確認する。
PTO ボタンがOFF位置にあることを確認する。
エンジンを止め、キーを抜き取り、機体が冷えるまで待つ。
始動キーをつけたままにしておくと、誰でもいつでもエンジンを始動させることができ、危険である。
整備・調整作業の前には必ずエンジンを停止し、キーを抜いておくこと。
油圧ポンプについているバイパスバルブを操作して油圧系統の圧力を解放する。 オペレーターズマニュアルの、緊急時にマシンを手押しなどで移動する場合の方法を参照。
4WD スイッチを取り付けない場合には、ステップ 油圧ラインを取り外すへ飛ぶ。4WD スイッチを取り付ける場合には、このまま作業を続ける。
左側ツールボックスを開け、バッテリー端子からマイナスケーブルを取り外す;それぞれの オペレーターズマニュアルを参照。
バッテリーケーブルの接続手順が不適切であるとケーブルがショートを起こして火花が発生する。それによって水素ガスが爆発を起こし人身事故に至る恐れがある。
ケーブルを取り外す時は、必ずマイナス(黒)ケーブルから取り外す。
ケーブルを取り付ける時は、必ずプラス(赤)ケーブルから取り付け、それからマイナス(黒)ケーブルを取り付ける。
バッテリー端子からプラスケーブルを取り外す;それぞれの車両の オペレーターズマニュアルを参照。
図 1のように右側コンソールカバーを取り外す。

走行用後部マニホルドの下にオイル回収容器を置く。
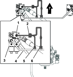
クロスチューブのフィッティングから出ているフィルタチューブのチューブナットを取り外して、クロスチューブを取り外す(図 2または図 3)。
Important: リテーナチューブは フィルタチューブとデバイダチューブを取りつけるで使用します。
Note: 外したクロスチューブは廃棄してください。
走行用後部マニホルドのフィッティングに仮キャップをかぶせる。
デバイダチューブのフィッティングから後走行チューブ用のチューブナットを取り外す。
左前走行モータのT字フィッティングデバイダチューブのチューブナットを取り外して、機体からチューブを取り外す(図 2または図 3)。
Note: デバイダチューブは廃棄してください。
4WD スイッチを取り付ける場合には、このまま作業を続ける。4WD スイッチを取り付けない場合には、ステップ 油圧機器を取り付けるへ飛ぶ。
Important: この作業は、4WD スイッチを取り付ける場合に必要な作業です。
タンクホースの前方のストレート端部に合わせてオイル回収容器を置く。
タンクホースの前側端部を油圧オイルタンクのフィッティングから外し、タンクのフィッティングにキャップをはめ、ホースから抜けてくる油圧オイルを容器に回収する。

タンクホースの後側の角度付き端部をバルクヘッドのフィッティングから外し、タンクホースを取り外す。
バルクヘッドのフィッティングに一時的にキャップをはめておく。
Note: 外したタンクホースは廃棄してください。
この作業に必要なパーツ
| プラグ | 1 |
| バルブ | 2 |
| コイル(12V) | 2 |
| コイルナット | 2 |
Important: マニホルドはスイッチなしで組み立てた状態で出荷されています。以下の作業は、4WD スイッチを取り付ける場合に必要な作業です。
マニホルドの CV1 ポートとCV2 ポートについているバルブ(2個)を外す。
図 5のように、フローデバイダマニホルドに必要パーツを取り付ける。

コイルナットを 6.8-9.5 N.m(0.7-1.0 kg.m = 5-7 ft-lb)にトルク締めする。
ロックナットを34 N·m (10.4 kg.m=25 ft-lb)にトルク締めする。
新しいオリフィスの上からプラグを取り付ける。
Note: 取り外したオリフィスとバルブは廃棄してかまいません。
この作業に必要なパーツ
| フローデバイダマニホルド | 1 |
| 高圧側ホース | 1 |
| マニホルドのチューブ | 1 |
| 走行モータチューブ | 1 |
| デバイダチューブ | 1 |
| タンクホース | 1 |
| ボルト | 2 |
| フランジナット | 2 |
フローデバイダマニホルドの各ホースを、シャーシブラケットの穴に合わせて取り付ける。
Note: 45º フィッティングが下向きで機体後部を向いていることを確認してください。

シャーシブラケットにフローデバイダマニホルドを固定する;ボルト(2本)とフランジナット(2個)を使用する。ボルトを37-45 N·m(3.7-4.6 kg.m = 27-33 ft-lb)に締めつける。
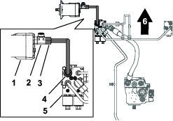
後走行チューブの前側のチューブナットを、フローデバイダマニホルドのエルボフィッティングに合わせて取り付ける(図 7と図 8)。

前進用チューブのナットをエルボに取り付け、51-63 N·m(5.1-6.5 kg/cm2 = 37-47 ft-lb)にトルク締めする。

油圧ポンプの仮キャップを取り外す。
高圧ホースのストレート端部の一方を油圧ポンプのフィッティングに取り付ける(図 8)。
フローデバイダマニホルドから仮キャップを取り外す。
高圧ホースのもう一方のストレート端部を、フローデバイダマニホルド側部にあるフィッティングに取り付ける(図 8)。
ホースのフィッティングを 150-184 N·m(15.2-18.8 kg.m = 110-136 ft-lb)にトルク締めする。
後走行マニホルドのフィッティングに取り付けてあるキャップを外す。
クロスマニホルドチューブのチューブナットを、後走行マニホルドのフィッティングとフローデバイダのマニホルドに合わせる(図 9)。

チューブのナットをフローデバイダマニホルドと後走行マニホルドの各フィッティングに取り付け、51-63 N·m(5.1-6.5 kg/cm2 = 37-47 ft-lb)にトルク締めする。
クロスチューブを取り外すで保管した油圧フィルタチューブを用意する。油圧フィルタ用のチューブナットを、クロスマニホルドのチューブに図 10のように取り付ける。

油圧フィルタのチューブのナットをクロスマニホルドのチューブのフィッティングに取り付け、51-63 N·m(5.1-6.5 kg/cm2 = 37-47 ft-lb)にトルク締めする。
デバイダチューブのチューブナットを、クロスマニホルドチューブおよびフローデバイダマニホルドの各フィッティングに合わせて取り付ける(図 10)。
デバイダチューブのナットをクロスマニホルドのチューブとフローデバイダマニホルドの各フィッティングに取り付け、37-63 N·m(5.1-6.5 kg/cm2 = 27-47 ft-lb)にトルク締めする。
走行モータチューブのナットを走行モータとフローデバイダマニホルドの各フィッティングに合わせて取り付ける(図 11)。

走行モータチューブのチューブナットを走行モータとフローデバイダマニホルドの各フィッティングに取り付け、116-142 N·m(11.7-14.5 kg/cm2 = 85-105 ft-lb)にトルク締めする。
Important: この作業は、4WD スイッチを取り付ける場合に必要な作業です。
バルクヘッドのフィッティングに嵌めてあったキャップを外して、そこにタンクホースの角度付き端部を接続する。

Note: 角度付き端部とホースは、機体右側に向けてフレームと直角にして、コイルようのスペースを確保してください。
油圧オイルタンクに嵌めてあったキャップを外して、そこにタンクホースのストレート端部を接続する。
タンクに取り付けた前側ストレート端部を、50-64 N·m(5.3-6.6 kg.m=37-47 ft-lb)にトルク締めする。
バルクヘッドに取り付けた角度付き端部を、81-100 N·m(8.3-10.2 kg.m=60-74 ft-lb)にトルク締めする。
この作業に必要なパーツ
| ヒューズ(10 A) | 1 |
| ヒューズ用ステッカー | 1 |
Important: この作業は、4WD スイッチを取り付ける場合に必要な作業です。
ヒューズボックスの C4 スロットにヒューズを取り付ける(図 13)。
Note: すでに何かのヒューズが入っている場合には、そのヒューズを空いている補助スロットに移動させてください。

Important: どのスロットがどの補助電源に対応するかを確認しておいてください。ヒューズのない回線にスイッチを接続してもスイッチは機能しません。
デカルツールボックスカバーにあるヒューズマップに、対応ヒューズデカルを貼り付ける。

この作業に必要なパーツ
| トグルスイッチ | 1 |
| ワイヤハーネス | 1 |
| 4WD 動作説明デカル | 1 |
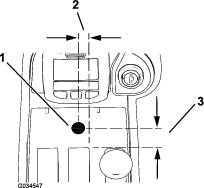
センターコンソールに直径 13 mm の穴を開ける;穴あけ位置については図 15を参照。
Important: 穴を開ける時に、コンソールの内側にある部品や電気コードを傷つけないように十分注意してください。

穴の上から 4WD 機能説明デカルを貼り付ける(図 16)。

スイッチ端子の位置、ワイヤハーネスのラベル、ワイヤハーネスの色を確認する(図 17)。
スイッチ端子は、各スイッチの底部に印刷されている番号で識別できる。
Note: スイッチはスプリングによって後方に付勢されています(図 18)。その結果、通常状態において端子 1 と 2 の間が開になっています(図 17)。

以下の赤色線を固定する:BYPASS ENGAGE SWITCH 2 というラベルの線はオーバーライドスイッチの中央端子 2 に固定する(図 17と図 18)。
BYPASS ENGAGE SWITCH 1 というラベルの灰色の線はオーバーライドスイッチの後部端子 1 に固定する(図 17と図 18)。
Important: スイッチの配線を間違うと油圧システムを破損する可能性があります。配線が正しいことを必ず確認してください;4輪駆動の試運転を参照。

ワイヤハーネスとスイッチ部分、センターコンソールの後部に導く(図 19)。

スイッチとワイヤハーネスとを、センターコンソールに通し、穴から引き上げる(図 20)。

コンソールの下から、13 mm の穴にスイッチを取り付ける;六角ロックナットとワッシャの正しい向きについては図 21を参照。
Note: スイッチは、スプリングの力が掛かっている側が後方を向くように取り付けてください。スイッチに入っているタブ付きのワッシャは廃棄してください。

この作業に必要なパーツ
| ワイヤハーネス | 1 |
| リレー | 1 |
| タップねじ | 1 |
Important: この作業は、4WD スイッチを取り付ける場合に必要な作業です。
既存のワイヤハーネスに沿って、ワイヤハーネスを配設し、運転席の後ろのフレーム開口部まで導く(図 22)。

コンソール内部の新しいワイヤハーネスを、既存のハーネスに固定する。
右側ツールボックスに、端子プラグとアイレット接続部を引き込む(図 23)。

図 24のように、ワイヤハーネス端子を、ヒューズボックスから出ている補助電源線に接続する。
Important: 選んだ補助電源線が、まちがいなく新しく付けたヒューズの回路につながっていることを確認してください。スロットと電線とが正しく対応していることを、マルチメータで確認してください。

アイレット接続部を、図 25 のようにアース端子に取り付ける。

座席のラッチを外す;マシンのオペレーターズマニュアル を参照。
キットに付属しているタッピングねじを使って、リレーをリレーマウントに図 26のように取り付ける。

リレーコネクタを 図 27 のようにリレーに押し込む。

リレーに直接取り付けられずに残っている線(2本)を、既存のワイヤハーネスに沿ってフレームの下を通って、3ウェイマニホルドの真上まで配設する(図 28)。

3ウェイマニホルドからコイルを取り外す(図 29)。

いま外したプラグを、新しいワイヤハーネス空いているソケットに接続する(図 30)。

新しいワイヤハーネスの角度付きプラグを3ウェイマニホルドのコイルに接続する(図 31)。

残っているハーネスを、下フレームに沿って配設し、右前タイヤのすぐ内側にあるフローデバイダのコイルに接続する(図 28と図 32)。

バッテリーのプラス端子にプラスケーブルを取り付ける;各車両のオペレーターズマニュアルを参照。
バッテリーケーブルの接続手順が不適切であるとケーブルがショートを起こして火花が発生する。それによって水素ガスが爆発を起こし人身事故に至る恐れがある。
ケーブルを取り外す時は、必ずマイナス(黒)ケーブルから取り外す。
ケーブルを取り付ける時は、必ずプラス(赤)ケーブルから取り付け、それからマイナス(黒)ケーブルを取り付ける。
バッテリーのマイナス端子にマイナスケーブルを取り付ける;各車両のオペレーターズマニュアルを参照。
右側ツールボックスのカバーを閉じて、右側コンソールカバーを取り付ける(図 1)。
高圧で噴出する作動油は皮膚を貫通し、身体に重大な損傷を引き起こす。
油圧を掛ける前に、油圧ラインやホースに傷や変形がないか接続部が確実に締まっているかを確認する。
油圧のピンホールリークやノズルからは作動油が高圧で噴出しているので、絶対に手などを近づけない。
リークの点検には新聞紙やボール紙を使う。
油圧関係の整備を行う時は、内部の圧力を確実に解放する。
万一、油圧オイルが体内に入ったら、直ちに専門医の治療を受ける。
全部のフィッティングと油圧接続部を点検し、締め付けを行う。
油圧ポンプについているバイパスバルブが通常運転位置にセットされていることを確認する;オーナーズマニュアルのマシンを牽引して移動する場合の手順を参照のこと。
油圧オイルの量を点検し、必要に応じて補給する;マシンの オペレーターズマニュアルを参照。
エンジンを始動し、油圧系の操作をして系内の圧力を高める。
エンジンを停止し、油圧チューブ、油圧ホース、およびフィッティングにオイル漏れがないか調べる。
Note: リーク部は運転前にすべて修理すること。
Important: 以上で取り付けは完了である。
キーを差し込んで ON 位置にし、駐車ブレーキを解除する。
前進走行にして、4WD スイッチの前側を押す。
Note: ソレノイドがシフトする音が聞こえれば問題なし。聞こえない場合は、ハーネスの接続とヒューズを確認する。
スイッチ前部を押したままで小さな旋回を行ってみる。
Note: 4WD 走行特有の旋回が感じられれば問題なし。感じられない場合は、ハーネスの接続とヒューズを確認する。
フローデバイダキットは、油圧オイルの流れを前後の車輪に均等に分配するものです。これには、前輪・後輪がともに空転して走行力を失いそうになることが必要になります。
以下の情報を参考にして、フローデバイダの機能を十分に発揮させてください。
フローデバイダキットは低速レンジのみで使用するものです。高速レンジでは使用できませんからご注意ください。
前後のタイヤが共に空転する場合には、ブレーキを使用すると良いでしょう。空転している側のブレーキを軽く踏み込んでやると、まだ走行力を発揮している方のタイヤのトルクが増加します。
このフローデバイダキットは、油圧オイルの流れを前後の車輪に均等に分配するものです。これには、前輪・後輪がともに空転して走行力を失いそうになることが必要になります。
Note: フローデバイダが動作中は走行力が高くなり、特に旋回中の車輪の動きが強くなります。具体的にどのように運転感覚が変わるかを理解するために、ターフを傷つけないように注意しながら操作を練習してください。
取り付け方法が 2 つありますが、それぞれ動作が少し異なります:
自動フローデバイダオプション:マシンが前進中は常時フローデバイダが動作します。電気系統やスイッチの動作はありません。
手動操作フローデバイダオプション:運転席にスイッチが付きます。デバイダが OFF の時は、デバイダなしのマシンと全く同じ動作になります。必要な時にデバイダのスイッチを入れると、前進走行時の油圧フローが前後の車輪モータに均等に配分されるようになります。
Note: 手動操作フローデバイダオプションは、マシンが低速レンジの時のみ有効となります。したがって、フローデバイダを使うためにはマシンの速度レンジ切り替えスイッチを低速レンジにセットしておく必要があります。