Tämä tuote on soveltuvien eurooppalaisten direktiivien mukainen. Lisätietoja on tämän julkaisun lopussa olevassa liittämisvakuutuksessa.
![]() |
Turva- ja ohjetarrat on sijoitettu hyvin näkyville paikoille mahdollisten vaara-alueiden lähettyville. Korvaa vioittuneet tai kadonneet tarrat uusilla. |


Important: Tämä sarja on tarkoitettu käytettäväksi vain Groundsmaster-malleissa 30881, 30882, 30873, 30873TE, 30874 ja 30874TE, joiden sarjanumero on 40000000 tai yli.
Note: Tämän sarjan asennus edellyttää työskentelyä koneen alla.
Note: Koneen alle pääsyä voi helpottaa nostolaitteella.
Important: Sulje irrotetut hydrauliletkut ja -putket tai hydrauliosien liitännät korkeilla tai tulpilla, jotta järjestelmään ei pääse epäpuhtauksia.
Pysäköi tasaiselle alustalle, kytke seisontajarru ja varmista, että ajopoljin on vapaalla.
Varmista, että voimanulosoton painike on POIS-asennossa.
Sammuta moottori, irrota virta-avain ja anna koneen jäähtyä.
Jos jätät avaimen virtalukkoon, joku voi vahingossa käynnistää moottorin ja vahingoittaa vakavasti lähellä olijoita.
Irrota avain virtalukosta ennen huoltoa.
Vapauta hydraulijärjestelmän paine avaamalla hydraulipumpun ohitusventtiili. Katso koneen työntämistä ja hinaamista käsittelevät ohjeet käyttöoppaasta.
Jos koneeseen ei asenneta nelivedon kytkintä, siirry vaiheeseen Hydrauliputkien irrotus. Jos koneeseen asennetaan nelivedon kytkin, jatka tätä toimenpidettä.
Avaa oikeanpuoleisen työkalulaatikon kansi ja irrota akun miinuskaapeli akun navasta. Lisätietoja on koneen käyttöoppaassa.
Akun kaapeleiden virheellinen asennus voi vahingoittaa konetta ja kaapeleita sekä aiheuttaa kipinöitä. Kipinät voivat saada akun kaasut räjähtämään ja aiheuttaa siten henkilövahingon.
Irrota aina akun miinuskaapeli (musta) ennen pluskaapelin (punainen) irrottamista.
Kytke aina akun pluskaapeli (punainen) ennen miinuskaapelia (musta).
Irrota akun pluskaapeli akusta. Lisätietoja on koneen käyttöoppaassa.
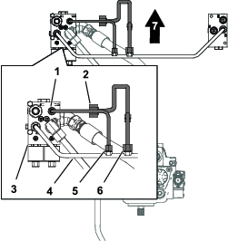
Irrota oikeanpuoleisen konsolin suojus kuvan mukaisesti (Kuva 1).

Aseta tyhjennysastia paineletkun etupään alle (Kuva 2).

Irrota paineletkun etupää jakoputken liittimestä ja anna hydraulinesteen valua letkusta ja putkesta (Kuva 3).

Irrota paineletkun takapää hydraulipumpun liittimestä ja irrota paineletku. Katso Kuva 2 ja Kuva 3.
Sulje pumppu ja jakoputki väliaikaisesti tulpalla.
Note: Hävitä alkuperäinen paineletku.
Aseta tyhjennysastia ajon takajakelulohkon alle.
Irrota poikittaisen putken mutteri ajon takajakelulohkon liittimestä (Kuva 2 tai Kuva 3).
Irrota suodatinputken mutteri poikittaisen putken liittimestä ja irrota poikittainen putki (Kuva 2 tai Kuva 3).
Important: Säilytä suodatinputki kohdassa Suodatinputken ja jakoputken asennus tehtävää asennusta varten.
Note: Hävitä poikittainen putki.
Sulje ajon takajakelulohkon liitin väliaikaisesti.
Irrota pultti ja mutteri, joilla jakoputki on kiinnitetty putken kannattimeen, ja irrota pidike (Kuva 3 tai Kuva 2).
Irrota kaksi pulttia ja kaksi mutteria, joilla putken kannatin on kiinnitetty alustan kannattimeen (Kuva 3 tai Kuva 2).
Note: Putken kannatinta, pidikettä ja kiinnitystarvikkeita ei enää tarvita.
Irrota ajon takajakeluputken mutteri jakoputken liittimestä.
Irrota jakoputken mutteri vasemman etuvetomoottorin T-liittimestä ja irrota putki koneesta (Kuva 2 tai Kuva 3).
Note: Hävitä jakoputki.
Jos koneeseen asennetaan nelivedon kytkin, jatka tätä toimenpidettä. Jos koneeseen ei asenneta nelivedon kytkintä, siirry kohtaan Hydrauliosien asennus.
Important: Tämä toimenpide tarvitaan, jos koneeseen asennetaan nelivedon kytkin.
Aseta tyhjennysastia säiliöletkun suoran etupään alle.
Irrota säiliöletkun etupää hydraulinestesäiliön liittimestä, kierrä liitin säiliöön ja anna hydraulinesteen valua letkusta.

Irrota säiliöletkun kulmikas takapää liitinkappaleesta ja irrota säiliöletku.
Sulje liitinkappale väliaikaisesti.
Note: Hävitä alkuperäinen säiliöletku.
Vaiheeseen tarvittavat osat:
| Tulppa | 1 |
| Venttiili | 2 |
| Kela, 12 V | 2 |
| Kelan mutteri | 2 |
Important: Lohko on koottu valmiiksi käytettäväksi ilman kytkintä. Tämä toimenpide tarvitaan, jos koneeseen asennetaan nelivedon kytkin.
Irrota kaksi olemassa olevaa venttiiliä lohkon liitännöistä CV1 ja CV2.
Asenna tarvittavat osat virranjakolohkoon kuvan mukaisesti (Kuva 5).

Kiristä kelojen mutterit momenttiin 6,8–9,5 N·m.
Kiristä venttiilit momenttiin 34 N·m.
Asenna tulppa uuden aluslaatan päälle.
Note: Irrotettu aluslaatta ja venttiilit voidaan hävittää.
Vaiheeseen tarvittavat osat:
| Virranjakolohko | 1 |
| Paineletku | 1 |
| Asennuslohkon putki | 1 |
| Vetomoottorin putki | 1 |
| Jakoputki | 1 |
| Säiliön letku | 1 |
| Pultti | 2 |
| Laippamutteri | 2 |
Kohdista virranjakolohkon aukot alustan kannattimen aukkoihin.
Note: Varmista, että 45 asteen liitin osoittaa alas ja kohti koneen takaosaa.

Kiinnitä virranjakolohko alustan kannattimeen kahdella pultilla ja kahdella laippamutterilla. Kiristä pultit momenttiin 37–45 N·m.
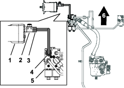
Kohdista takajakeluputken etuputken mutteri virranjakolohkon kulmaliittimeen (Kuva 7 ja Kuva 8).

Kierrä etuputken mutteri kulmaliittimeen ja kiristä mutteri momenttiin 51–63 N·m.

Irrota tilapäinen tulppa hydraulipumpusta.
Kierrä paineletkun toinen suora pää hydraulipumpun liitäntään (Kuva 8).
Irrota tilapäinen tulppa virranjakolohkosta.
Kierrä paineletkun toinen suora pää virranjakolohkon sivulla olevaan liitäntään (Kuva 8).
Kiristä letkuliittimet momenttiin 150–184 N·m.
Irrota aikaisemmin asennettu ajon takajakelulohkon liitännän tulppa.
Kohdista asennuslohkon poikittaisen putken mutterit ajon takajakelulohkon ja virranjakolohkon liittimiin (Kuva 9).

Kierrä putken mutterit virranjakolohkon ja ajon takajakelulohkon liittimiin ja kiristä mutterit momenttiin 51–63 N·m.
Valmistele kohdassa Poikittaisen putken irrotus säilytetty hydraulisuodattimen putki. Kohdista hydraulisuodatinputken mutteri asennuslohkon poikittaisen putken liittimeen kuvan mukaisesti (Kuva 10).

Kierrä hydraulisuodatinputken mutteri asennuslohkon poikittaisen putken liittimeen ja kiristä mutteri momenttiin 51–63 N·m.
Kohdista jakoputken mutterit asennuslohkon poikittaisen putken ja virranjakolohkon liittimiin (Kuva 10).
Kierrä jakoputken mutterit asennuslohkon poikittaisen putken ja virranjakolohkon liittimiin ja kiristä mutterit momenttiin 37–45 N·m.
Kohdista vetomoottorin putken mutterit vetomoottorin ja virranjakolohkon liittimiin (Kuva 11).

Kierrä vetomoottorin putken mutterit vetomoottorin ja virranjakolohkon liittimiin ja kiristä mutterit momenttiin 116–142 N·m.
Important: Tämä toimenpide tarvitaan, jos koneeseen asennetaan nelivedon kytkin.
Irrota tilapäinen tulppa liitinkappaleesta ja kierrä säiliöletkun kulmapää liitinkappaleeseen.

Note: Varmista kelojen välys suuntaamalla kulmapää ja letku ulospäin koneen oikeaa puolta päin kohtisuoraan runkoon nähden.
Irrota tilapäinen tulppa hydraulinestesäiliön liittimestä ja kierrä säiliöletkun suora pää liittimeen.
Kiristä säiliöön kiinnitetty suora etupää momenttiin 50–64 N·m.
Kiristä liitinkappaleeseen kiinnitetty kulmapää momenttiin 81–100 N·m.
Vaiheeseen tarvittavat osat:
| Sulake (10 A) | 1 |
| Sulakekilpi | 1 |
Important: Tämä toimenpide tarvitaan, jos koneeseen asennetaan nelivedon kytkin.
Asenna sulake sulakerasiaan paikkaan C4 (Kuva 13).
Note: Jos paikassa C4 on jo sulake, asenna sulake mihin tahansa vapaaseen lisälaitteen paikkaan.

Important: Huomioi, mitkä sulakepaikat ja lisävirtajohdot vastaavat toisiaan. Kytkin ei toimi, jos se on liitetty johtoon, jossa ei ole sulaketta.
Sijoita sulakkeen tarra vastaavaan paneeliin sulakekaaviossa, joka sijaitsee työkalulaatikon kannen alla.

Vaiheeseen tarvittavat osat:
| Vaihtokytkin | 1 |
| Johdinsarja | 1 |
| Nelivetotoiminnon tarra | 1 |
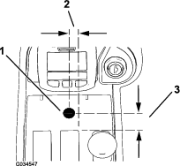
Poraa keskikonsoliin 13 mm:n reikä. Kuva 15 näyttää tarkemmat yksityiskohdat.
Important: Varo, ettei poranterä osu konsolin alapuolella oleviin osiin tai johtoihin.

Kiinnitä nelivetotoiminnon tarra poratun reiän päälle (Kuva 16).

Tunnista kytkinliittimien sijainnit, johdinsarjojen merkinnät ja johdinsarjojen värit (Kuva 17).
Kytkinliittimet voidaan tunnistaa kunkin kytkimen alaosaan merkityn numeron avulla.
Note: Kytkin on jousikuormitettu kytkimen takaosaan (Kuva 18). Kytkin on sulkeutuva liittimien 1 ja 2 välillä (Kuva 17).

Kiinnitä punainen johto, jossa on merkintäBYPASS ENGAGE SWITCH 2 (ohituksen kytkentäkytkin 2) ohituskytkimen keskiliittimeen numero 2 (Kuva 17 ja Kuva 18).
Kiinnitä harmaa johto, jossa on merkintä BYPASS ENGAGE SWITCH 1 (ohituksen kytkentäkytkin 1) ohituskytkimen takaliittimeen numero 1 (Kuva 17 ja Kuva 18).
Important: Virheellinen kytkimen johdotus saattaa vaurioittaa hydraulijärjestelmää. Varmista, että johdot on asennettu oikein. Katso kohta Nelipyörävedon testaus.

Vie vaihtokytkin ja siihen liitetty johdinsarja keskikonsolin takaosaan (Kuva 19).

Vedä vaihtokytkin/johdinsarja keskikonsolin läpi porattuun reikään asti (Kuva 20).

Asenna vaihtokytkin 13 mm:n reikään konsolin alapuolelta. Tarkista kuusiolukkomutterin ja aluslaatan oikea asento kuvasta (Kuva 21).
Note: Asenna kytkin niin, että jousikuormitus on koneen takaosaa kohti.Hävitä vaihtokytkimen kanssa toimitettu lukkolevy.

Vaiheeseen tarvittavat osat:
| Johdinsarja | 1 |
| Rele | 1 |
| Itsekierteittävä ruuvi | 1 |
Important: Tämä toimenpide tarvitaan, jos koneeseen asennetaan nelivedon kytkin.
Vie johdinsarja koneessa paikallaan olevaa johdinsarjaa pitkin ja rungossa istuimen takana olevaan aukkoon (Kuva 22).

Kiinnitä uusi johdinsarja konsolissa paikallaan olevaan johdinsarjaan.
Vie liittimen tulppa ja silmukkaliitin oikeanpuoleiseen työkalulaatikkoon (Kuva 23).

Kytke johdinsarjan liitin sulakerasiasta lähtevään lisävirtajohtoon kuvan mukaisesti (Kuva 24).
Important: Varmista, että valittua lisävirtajohtoa ei liitetä uuteen sulakkeeseen, muutoin kytkin ei toimi. Varmista testaamalla virtapiiri yleismittarilla, että aiottu paikka ja johto vastaavat toisiaan.

Kytke silmukkaliitin maadoitusliitäntään kuvan mukaisesti (Kuva 25).

Avaa istuimen lukitus. Katso koneen käyttöopas.
Liitä rele releen asennuskannattimeen asennussarjan itsekierteittävällä ruuvilla kuvan mukaisesti (Kuva 26).

Kytke releliitin releeseen kuvan mukaisesti (Kuva 27).

Vie kaksi jäljellä olevaa johtoa, joita ei ole kiinnitetty suoraan releeseen, rungon alla paikallaan olevan johdinsarjan puoliväliin siten, että ne tulevat suoraan 3-tielohkon yläpuolelle (Kuva 28).

Irrota kela 3-tieventtiilistä (Kuva 29).

Kytke irrotettu tulppa uuden johdinsarjan vapaaseen liitäntään (Kuva 30).

Kytke uuden johdinsarjan kulmaliitin 3-tieventtiilin kelaan (Kuva 31).

Vie jäljellä olevat vapaat johdinsarjan päät alas rungon alaosan ympäri ja liitä ne virranjakolohkon kahteen kelaan oikeanpuoleisen eturenkaan sisäpuolella (Kuva 28 ja Kuva 32).

Kytke akun pluskaapeli akun plusnapaan. Lisätietoja on koneen käyttöoppaassa.
Akun kaapeleiden virheellinen asennus voi vahingoittaa konetta ja kaapeleita sekä aiheuttaa kipinöitä. Kipinät voivat saada akun kaasut räjähtämään ja aiheuttaa siten henkilövahingon.
Irrota aina akun miinuskaapeli (musta) ennen pluskaapelin (punainen) irrottamista.
Kytke aina akun pluskaapeli (punainen) ennen miinuskaapelia (musta).
Kytke akun miinuskaapeli akun miinusnapaan. Lisätietoja on koneen käyttöoppaassa.
Sulje oikeanpuoleisen työkalulaatikon kansi ja asenna oikeanpuoleisen konsolin suojus (Kuva 1).
Paineella suihkuava hydraulineste voi läpäistä ihon ja aiheuttaa vammoja.
Varmista, että kaikki hydrauliletkut ja -putket ovat hyvässä kunnossa ja että kaikki hydrauliputkien liittimet ovat tiukalla, ennen kuin lisäät järjestelmän painetta.
Pidä keho ja kädet kaukana vuotavista rei’istä ja suuttimista, joista suihkuaa korkeapaineista hydraulinestettä.
Etsi hydraulinestevuotoja pahvin tai paperin avulla.
Poista paine varovasti hydraulijärjestelmästä, ennen kuin huollat järjestelmää.
Jos nestettä pääsee ihon alle, hakeudu välittömästi lääkäriin.
Tarkista ja kiristä kaikki liittimet ja hydrauliliitännät.
Varmista, että hydraulipumpun ohitusventtiili on käyttöasennossa. Katso koneen työntämistä ja hinaamista käsittelevät ohjeet käyttöoppaasta.
Tarkista hydraulinesteen määrä ja lisää nestettä tarvittaessa. Lisätietoja on koneen käyttöoppaassa.
Käynnistä kone ja anna hydraulijärjestelmän paineistua.
Sammuta moottori ja tarkista hydrauliputket, -letkut ja -liittimet vuotojen varalta.
Note: Korjaa mahdolliset vuotokohdat ennen koneen käyttöönottoa.
Important: Tämä päättää asennuksen.
Aseta avain virtalukkoon, käännä avain KäYNNISSä-asentoon ja vapauta seisontajarru.
Aja koneella eteenpäin ja paina nelivedon vaihtokytkin etuasentoon.
Note: Jos sarja on asennettu oikein, voit kuulla solenoidien toimivan. Jos näin ei tapahdu, tarkista johdinsarjan kytkennät ja sulakkeen paikka.
Tee jyrkkä käännös kytkin painettuna etuasentoon.
Note: Jos sarja on asennettu oikein, tunnet nelivedon vaikutuksen. Jos näin ei tapahdu, tarkista johdinsarjan kytkennät ja sulakkeen paikka.
Virranjakosarja jakaa vetovirtauksen etu- ja takapyörien välille. Tällöin sekä etu- että takarenkaan olisi sudittava, jotta kone menettäisi pidon.
Noudata seuraavia käyttöohjeita, kun koneeseen on asennettu virranjakosarja:
Virranjakosarjaa käytetään vain alhaisilla nopeuksilla. Järjestelmä ei salli sen käyttöä suurilla nopeuksilla.
Jos sekä etu- että takapyörä sutii, ohjausjarrujen käytöstä voi olla apua. Käytä sutivaa etupyörää vastaavaa jarrupoljinta, jolloin vetovoimaa siirtyy yhä pitävälle pyörälle.
Virranjakosarja jakaa vetovirtauksen tasaisesti etu- ja takanapamoottoreiden välille. Tällöin sekä etu- että takarenkaan olisi sudittava, jotta kone menettäisi pidon.
Note: Kun virranjakaja on aktiivinen, vetojärjestelmän suorituskyky on aggressiivisempaa, erityisesti koneen kääntyessä. Ole varovainen ja harjoittele käyttöä huomaamattomassa kohdassa, jotta ymmärrät koneen vetojärjestelmän toiminnan.
Kahdessa lisävarusteessa on hieman erilaiset käyttöominaisuudet:
Automaattinen virranjakaja: Virranjakaja on AINA aktiivinen, kun konetta ajetaan eteenpäin. Tähän ei kuulu elektroniikkaa tai kytkimiä.
Manuaalisesti aktivoitava virranjakaja: Käyttäjän ohjauspaneeliin on asennettu kytkin. Kun toimintoa ei ole aktivoitu manuaalisesti, veto toimii samalla tavoin kuin koneessa, jossa ei ole virranjakajaa. Käyttäjä voi kytkeä kytkimen tarvittaessa ja aktivoida virranjakajan, joka jakaa virtauksen tasaisesti etu- ja takavetomoottoreiden välille koneen ajaessa eteenpäin.
Note: Manuaalisesti aktivoitavaa lisävarustetta voi käyttää vain, kun kone on alemmalla nopeusalueella.Koneen ylemmän ja alemman nopeusalueen säätökytkimen on oltava alemmalla nopeusalueella, jotta virranjakaja aktivoituu.