Dit product voldoet aan alle relevante Europese richtlijnen. Voor meer informatie, zie de inbouwverklaring aan het einde van deze handleiding.
![]() |
Veiligheidsstickers en veiligheidsinstructies zijn gemakkelijk zichtbaar voor de bestuurder en bevinden zich bij plaatsen waar gevaar kan ontstaan. Vervang alle beschadigde of verdwenen stickers. |


Important: Deze set is uitsluitend bedoeld voor gebruik met Groundsmaster modellen 30881, 30882, 30873, 30873TE, 30874 en 30874TE met serienummers 40000000 en hoger.
Note: Bij de montageprocedures van deze set moet u van onder de machine werken.
Note: Gebruik een takel om gemakkelijker onder de machine te komen.
Important: Om contaminatie van het systeem te voorkomen dient u losse hydraulische slangen, buizen en componentenpoorten af te sluiten met een dop of plug.
Parkeer op een egale ondergrond, stel de parkeerrem in werking en zorg ervoor dat het tractiepedaal in neutraal staat.
Zorg ervoor dat de knop van de aftakas op UIT staat.
Zet de motor af, verwijder het sleuteltje en laat de machine afkoelen.
Als u het sleuteltje in het contact laat, bestaat de kans dat iemand de motor per ongeluk start waardoor u of omstanders ernstig letsel kunnen oplopen.
Verwijder het sleuteltje uit het contact voordat u onderhoudswerkzaamheden uitvoert aan de machine.
Laat de druk van het hydraulisch systeem door aan de omloopklep van de hydraulische pomp te draaien; raadpleeg de instructies in het onderdeel 'De machine duwen of slepen' van de Gebruikershandleiding.
Als u de 4WD-schakelaar niet gaat monteren, ga dan meteen naar stap De hydraulische leidingen verwijderen. Als u de 4WD-schakelaar monteert, ga dan door met deze procedure.
Maak het deksel van de gereedschapskist rechts open en maak de minkabel los van de accupool; raadpleeg de Gebruikershandleiding van uw machine.
Als accukabels verkeerd worden verbonden, kan dit schade aan de machine en de kabels tot gevolg hebben en vonken veroorzaken. Hierdoor kunnen accugassen tot ontploffing komen en lichamelijk letsel veroorzaken.
Maak altijd de minkabel (zwart) van de accu los voordat u de pluskabel (rood) losmaakt.
Sluit altijd de pluskabel (rood) van de accu aan voordat u de minkabel (zwart) aansluit.
Maak de pluskabel los van de accupool; raadpleeg de Gebruikershandleiding van de machine.
Verwijder het deksel van het rechterpaneel zoals wordt getoond in Figuur 1.

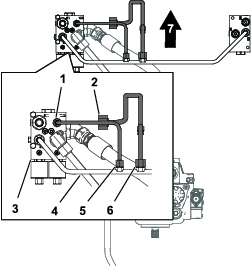
Zet een opvangbak onder het voorste uiteinde van de drukslang (Figuur 2).

Neem het voorste uiteinde van de drukslang van de fitting in de verdeelbuis, en laat de hydraulische vloeistof uit de slang en buis lopen (Figuur 3).

Verwijder het achterste uiteinde van de drukslang van de fitting in de hydraulische pomp, en verwijder de drukslang; raadpleeg Figuur 2 en Figuur 3.
Sluit de pomp en de verdeelbuis tijdelijk af.
Note: Gooi de oude drukslang weg.
Zet de opvangbak onder de verdeler van de achtertractie.
Verwijder de buismoer voor de dwarsbuis van de fitting in de verdeler van de achtertractie (Figuur 2 of Figuur 3).
Verwijder de buismoer voor de filterbuis van de fitting in de dwarsbuis, en verwijder de dwarsbuis (Figuur 2 of Figuur 3).
Important: Bewaar de filterbuis om deze later te monteren in De filterbuis en de verdeelbuis monteren.
Note: Gooi de dwarsbuis weg.
Sluit de fitting in de verdeler van de achtertractie tijdelijk af.
Verwijder de bout en moer waarmee de verdeelbuis aan de buisbeugel is bevestigd, en verwijder de klem (Figuur 3 of Figuur 2).
Verwijder de 2 bouten en 2 moeren waarmee de buisbeugel aan de chassisbeugel is bevestigd (Figuur 3 of Figuur 2).
Note: Gooi de buisbeugel, de klem en het bevestigingsmateriaal weg.
Verwijder de buismoer voor de achtertractiebuis van de fitting van de verdeelbuis.
Verwijder de buismoer op de verdeelbuis van de T-fitting in de tractiemotor links vooraan, en neem de buis van de machine (Figuur 2 of Figuur 3).
Note: Gooi de verdeelbuis weg.
Als u de 4WD-schakelaar monteert, ga dan door met deze procedure. Als u de 4WD-schakelaar niet gaat monteren, ga dan meteen naar stap De hydraulische onderdelen monteren.
Important: Deze procedure is nodig als u de 4WD-schakelaar gaat monteren.
Zet een opvangbak onder het voorste, rechte uiteinde van de tankslang.
Neem het voorste uiteinde van de tankslang van de fitting in de tank voor de hydraulische vloeistof, monteer de fitting op de tank en laat de hydraulische vloeistof uit de slang lopen.

Verwijder het achterste uiteinde met bocht aan de tankslang van de tussenschotfitting, en verwijder de tankslang.
Sluit de tussenschotfitting tijdelijk af.
Note: Gooi de oude tankslang weg.
Benodigde onderdelen voor deze stap:
| Plug | 1 |
| Klep | 2 |
| Spoel (12 V) | 2 |
| Spoelmoer | 2 |
Important: Het verdeelstuk komt voorgemonteerd voor gebruik met de schakelaar; deze procedure is nodig als u de 4WD-schakelaar gaat monteren.
Verwijder de 2 aanwezige kleppen van de CV1 en CV2 poorten van het verdeelstuk.
Monteer de benodigde onderdelen aan de stroomverdeler zoals getoond in Figuur 5.

Draai de spoelmoeren vast met een torsie van 6,8 tot 9,5 N∙m.
Draai de kleppen vast met een torsie van 34 N∙m.
Monteer de plug over het nieuwe oog.
Note: U mag de verwijderde oogplug en kleppen weggooien.
Benodigde onderdelen voor deze stap:
| Stroomverdeler | 1 |
| Drukslang | 1 |
| Verdeelbuis | 1 |
| Tractiemotorbuis | 1 |
| Verdeelbuis | 1 |
| Tankslang | 1 |
| Bout | 2 |
| Flensmoer | 2 |
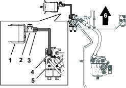
Lijn de gaten van de stroomverdeler uit met de gaten van de chassisbeugel.
Note: Richt de fitting van 45 graden naar beneden en naar de achterkant van de machine.

Bevestig de stroomverdeler aan de chassisbeugel met de 2 bouten en 2 flensmoeren. Draai de bouten vast met een torsie van 37 tot 45 N·m.
Lijn de voorste buismoer voor de buis van de achtertractie uit met de elleboogfitting in de stroomverdeler (Figuur 7 en Figuur 8).

Schroef de voorste buismoer op de elleboog en draai de moer aan tot 51-63 N·m.

Verwijder de tijdelijke afsluiter van de hydraulische pomp.
Schroef een recht uiteinde van de drukslang in de fitting van de hydraulische pomp (Figuur 8).
Verwijder de tijdelijke afsluiter van de stroomverdeler.
Schroef het andere rechte uiteinde van de drukslang op de fitting aan de zijkant van de stroomverdeler (Figuur 8).
Draai de slangfittings vast met een torsie van 150 tot 184 N·m.
Verwijder de dop op de fitting van de verdeler van de achtertractie die u eerder hebt aangebracht.
Lijn de buismoeren voor de dwarsverdeelbuis uit met de fittings in de verdeler van de achtertractie en de stroomverdeler (Figuur 9).

Schroef de buismoeren op de fittings in de stroomverdeler en de verdeler van de achtertractie, en draai de moeren aan tot 51-63 N·m.
Maak de hydraulische filterbuis die u bewaard hebt in stap De dwarsbuis verwijderen klaar voor montage. Lijn de buismoer voor de hydraulische filterbuis uit met de fitting in de dwarsverdeelbuis; zie Figuur 10.

Schroef de buismoer voor de hydraulische filterbuis op de fitting in de dwarsverdeelbuis en draai de moer aan tot 51-63 N·m.
Lijn de buismoeren voor de verdeelbuis uit met de fittings in de dwarsverdeelbuis en de stroomverdeler (Figuur 10).
Schroef de buismoeren voor de verdeelbuis op de fittings in de dwarsverdeelbuis en de stroomverdeler, en draai de moeren aan tot 37-45 N·m.
Lijn de buismoeren voor de tractiemotorbuis uit met de fittings in de tractiemotor en de stroomverdeler (Figuur 11).

Schroef de buismoeren voor de tractiemotorbuis op de fittings in de tractiemotor en de stroomverdeler, en draai de moeren aan tot 116-142 N·m.
Important: Deze procedure is nodig als u de 4WD-schakelaar gaat monteren.
Verwijder de tijdelijke afsluiter van de tussenschotfitting en schroef het uiteinde met bocht van de tankslang op de tussenschotfitting.

Note: Zorg voor voldoende ruimte voor de spoelen; richt hiervoor het uiteinde met bocht en de slang naar de rechterkant van de machine, loodrecht op het frame.
Verwijder de tijdelijke afsluiter van de fitting op de hydraulische vloeistoftank, en schroef het rechte uiteinde van de tankslang op de fitting.
Schroef het voorste, rechte uiteinde dat aan de tank bevestigd is aan tot 50-64 N·m.
Schroef het uiteinde met bocht dat aan het tussenschot bevestigd is aan tot 81-100 N·m.
Benodigde onderdelen voor deze stap:
| Zekering (10 A) | 1 |
| Zekeringensticker | 1 |
Important: Deze procedure is nodig als u de 4WD-schakelaar gaat monteren.
Breng de zekering aan in opening C4 van de zekeringhouder (Figuur 13).
Note: Als er al een andere zekering in opening C4 zit, plaats de zekering dan in een opening die nog niet bezet is.

Important: Ga na welke opening overeenkomt met welke hulpstroomdraad. Als de schakelaar aangesloten wordt op een draad zonder zekering, zal hij niet werken.
Breng de zekeringsticker aan op het overeenkomende paneel van de sticker met het zekeringschema onder het deksel van de gereedschapskist.

Benodigde onderdelen voor deze stap:
| Tuimelschakelaar | 1 |
| Kabelboom | 1 |
| Sticker met 4WD-functie | 1 |
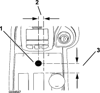
Boor een gat van 13 mm in het middelste bedieningspaneel; raadpleeg Figuur 15 voor de juiste locatie.
Important: Wees voorzichtig en zorg ervoor dat u met de boor geen onderdelen of bedrading onder het bedieningspaneel raakt.

Plak de sticker met de 4WD-functie over de geboorde opening (Figuur 16).

Zoek de polen van de schakelaar en de aanduidingen op de kabelbomen. Let op de kleuren van de kabelbomen (Figuur 17).
U kunt de polen van de schakelaar identificeren aan de hand van de cijfers die onderaan de schakelaar gedrukt zijn.
Note: De schakelaar is veerbelast naar achteren (Figuur 18). De schakelaar is normaal geopend tussen polen 1 en 2 (Figuur 17).

Koppel de rode draad met aanduidingBYPASS ENGAGE SWITCH 2 aan op de middelste pool van de hoofdschakelaar met nummer 2 (Figuur 17 en Figuur 18).
Koppel de grijze draad met aanduiding BYPASS SWITCH 1 aan op de achterste pool van de hoofdschakelaar met nummer 1 (Figuur 17 en Figuur 18).
Important: Als u de draden van de schakelaar onjuist aansluit, kan het hydraulisch systeem beschadigd worden. Controleer of de bedrading juist is; raadpleeg De vierwielaandrijving testen.

Leid de tuimelschakelaar met de aangekoppelde kabelboom in de achterkant van het middelste bedieningspaneel (Figuur 19).

Trek de tuimelschakelaar/kabelboom door het middelste bedieningspaneel omhoog naar het boorgat (Figuur 20).

Monteer de tuimelschakelaar vanaf de onderkant van het bedieningspaneel in de opening van 13 mm; zie Figuur 21 voor de juiste montagelocatie van de zeskantige borgmoer en de ring.
Note: Monteer de schakelaar zo dat de veerbelasting naar de achterkant van de machine wijst.Gooi de ring met lip weg die bij de tuimelschakelaar hoort.

Benodigde onderdelen voor deze stap:
| Kabelboom | 1 |
| Relais | 1 |
| Zelftappende schroef | 1 |
Important: Deze procedure is nodig als u de 4WD-schakelaar gaat monteren.
Leid de kabelboom langs de bestaande kabelboom in de opening in het frame achter de stoel (Figuur 22).

Bevestig de nieuwe kabelboom, in het bedieningspaneel, aan de aanwezige kabelboom.
Leid de aansluiting en de ringstekker in de gereedschapskist rechts (Figuur 23).

Sluit de pool van de kabelboom aan op de extra stroomdraad die uit de zekeringhouder komt zoals getoond in Figuur 24.
Important: Zorg dat de gekozen hulpstroomdraad overeenkomt met de nieuwe zekering, anders werkt de schakelaar niet. Voer een continuïteitstest uit met een multimeter om na te gaan of de gekozen opening en de draad overeenkomen.

Sluit de ringstekker aan op het aardaansluitingenblok; zie Figuur 25.

Ontgrendel de stoel; raadpleeg de Gebruikershandleiding van uw machine.
Bevestig het relais met de bijgeleverde zelftappende schroef op de relaishouder, zoals getoond in Figuur 26.

Steek de relaisaansluiting in het relais zoals getoond in Figuur 27.

Leid de 2 overige kabels die niet direct verbonden zijn met het relais halverwege langs de bestaande kabelboom onder het frame en vlak boven de driewegverdeler (Figuur 28).

Koppel de spoel af van de driewegverdeler (Figuur 29).

Sluit de stekker die u zonet afgekoppeld hebt aan op de vrije aansluiting van de nieuwe kabelboom (Figuur 30).

Sluit de hoekstekker van de nieuwe kabelboom aan op de spoel van de driewegverdeler (Figuur 31).

Leid de overige losse kabelboomuiteinden omlaag rond het onderste frame en sluit ze aan op 2 spoelen van de stroomverdeler aan de binnenkant van de rechtervoorband (Figuur 28 en Figuur 32).

Sluit de pluskabel aan op de pluspool van de accu; raadpleeg de Gebruikershandleiding van de machine.
Als accukabels verkeerd worden verbonden, kan dit schade aan de machine en de kabels tot gevolg hebben en vonken veroorzaken. Hierdoor kunnen accugassen tot ontploffing komen en lichamelijk letsel veroorzaken.
Maak altijd de minkabel (zwart) van de accu los voordat u de pluskabel (rood) losmaakt.
Sluit altijd de pluskabel (rood) van de accu aan voordat u de minkabel (zwart) aansluit.
Sluit de minkabel aan op de minpool van de accu; raadpleeg de Gebruikershandleiding van de machine.
Sluit het deksel van de gereedschapskist rechts en plaats het deksel van het rechterpaneel (Figuur 1).
Hydraulische vloeistof die onder druk ontsnapt, kan door de huid heen dringen en letsel veroorzaken.
Controleer of alle hydraulische slangen en leidingen in goede staat verkeren en alle hydraulische aansluitingen en fittings stevig vastzitten voordat u druk zet op het hydraulische systeem.
Houd lichaam en handen uit de buurt van kleine lekgaten of spuitmonden waaruit onder hoge druk hydraulische vloeistof ontsnapt.
U kunt lekken in het hydraulische systeem opsporen met behulp van karton of papier.
Hef alle druk in het hydraulische systeem op veilige wijze op, voordat u werkzaamheden gaat verrichten aan het hydraulische systeem.
Waarschuw onmiddellijk een arts als er hydraulische vloeistof is geïnjecteerd in de huid.
Controleer alle fittings en hydraulische aansluitingen en draai indien nodig vast.
Zorg dat de omloopklep van de hydraulische pomp in de bedrijfsstand staat; raadpleeg de instructies van 'De machine duwen of slepen' in de Gebruikershandleiding.
Controleer het peil van de hydraulische vloeistof en vul indien nodig bij; raadpleeg de Gebruikershandleiding van uw machine.
Start de machine en laat het hydraulische systeem onder druk komen.
Zet de motor af en controleer of de hydraulische buizen, slangen en fittings lekken.
Note: Repareer alle lekken voordat de machine in gebruik wordt genomen.
Important: Hierna is de montage voltooid.
Steek het sleuteltje in het contact, draai het sleuteltje naar de stand AAN en zet de parkeerrem vrij.
Rij de machine naar voren en druk de tuimelschakelaar voor de vierwielaandrijving naar voren.
Note: Als de set op de juiste manier is gemonteerd, kunt u de solenoïdes horen schakelen. Als dat niet gebeurt, controleer dan de aansluitingen van de kabelboom en de locatie van de zekering.
Maak een scherpe bocht terwijl de schakelaar naar voren is gedrukt.
Note: Als de set op de juiste manier is gemonteerd, kunt u de vierwielaandrijving voelen. Als dat niet gebeurt, controleer dan de aansluitingen van de kabelboom en de locatie van de zekering.
De stroomverdelerset verdeelt de tractiestroom tussen de voor- en de achterwielen. Op die manier moet zowel een voor- als een achterwiel slippen voordat de machine tractie verliest.
Houd de volgende informatie in het achterhoofd voor een optimaal gebruik van een machine waarop een stroomverdelerset gemonteerd is:
De stroomverdelerset mag uitsluitend worden gebruikt in het lage toerentalbereik. Het systeem laat gebruik in het hoge toerentalbereik niet toe.
Als zowel een voor- als een achterwiel gaan slippen, kunnen de stuurremmen helpen. Trap het rempedaal van het slippende voorwiel in om torsie over te brengen naar het wiel dat nog tractie heeft.
Deze stroomverdelerset verdeelt de tractiestroom gelijk tussen de voor- en de achterwielmotoren. Dit betekent dat zowel een voor- als een achterwiel moet slippen voordat de machine tractie verliest.
Note: Wanneer de stroomverdeler actief is, is de prestatie van het tractiesysteem agressiever, vooral terwijl de machine draait. Wees voorzichtig en oefen het gebruik van de machine op een onopvallend gebied om inzicht te krijgen in de tractieprestatie op uw machine.
De 2 optionele installaties hebben lichtjes verschillende operationele eigenschappen:
Optie met automatische stroomverdeler: De stroomverdeler is ALTIJD actief wanneer de machine vooruitrijdt. Er zijn geen electronica of schakelaars bij betrokken.
Optie met manueel geactiveerde stroomverdeler: Er is een schakelaar gemonteerd op het bedieningspaneel van de bestuurder. Wanneer de stroomverdeler niet manueel geactiveerd wordt, is het tractiegedrag hetzelfde als dat van een machine zonder een stroomverdeler. De bestuurder kan de schakelaar activeren indien hij dit wenst. Hiermee activeert hij de stroomverdeler en wordt de stroom tussen de voor- en achtertractiemotoren gelijk verdeeld terwijl de machine vooruitrijdt.
Note: De manueel geactiveerde optie is alleen functioneel wanneer de machine zich in het LAGE toerentalbereik bevindt.De bedieningsschakelaar voor hoog/laag toerental op de machine moet zich in de LAGE instelling bevinden opdat de stroomverdeler kan worden geactiveerd.