Dette produkt overholder alle relevante EU-direktiver. Få yderligere oplysninger i inkorporeringserklæringen bagest i denne udgivelse.
![]() |
Sikkerheds- og instruktionsmærkaterne kan nemt ses af operatøren og er placeret tæt på potentielle risikoområder. Beskadigede eller bortkomne mærkater skal udskiftes. |


Important: Dette sæt er kun beregnet til brug sammen med Groundsmaster-model 30881, 30882, 30873, 30873TE, 30874 og 30874TE med serienummer 40000000 og højere.
Note: Procedurerne til montering af dette sæt kræver, at du arbejder under maskinen.
Note: Du kan bruge et hejseapparat for at få bedre adgang til maskinens underside.
Important: Sæt hætter eller propper på frakoblede hydraulikslanger, -rør eller -komponentporte for at forhindre kontaminering af systemet.
Parker på en plan overflade, aktiver parkeringsbremsen, og sørg for, at traktionspedalen er i neutral position.
Kontroller, at kraftudtaget er i positionen OFF (fra).
Stop motoren, fjern nøglen, og lad motoren køle af.
Hvis du lader nøglen sidde i tændingslåsen, er der risiko for, at nogen utilsigtet kan starte motoren og forårsage alvorlig skade på dig eller andre personer i nærheden.
Fjern nøglen fra kontakten, før vedligeholdelsesarbejde påbegyndes.
Luft trykket fra hydrauliksystemet ud ved at dreje omløbsventilen i hydraulikpumpen. Se vejledningen til skubning og træk af maskinen i betjeningsvejledningen.
Hvis ikke du monterer firehjulstrækkontakten, skal du gå til Afmontering af hydraulikrørene. Hvis du monterer firehjulstrækkontakten, skal du forsætte med denne procedure.
Åbn højre dæksel på værktøjskassen, og frakobl minuskablet fra batteripolen. Se betjeningsvejledningen til din maskine.
Forkert batterikabelføring kan danne gnister og beskadige maskinen og kablerne. Gnister kan få batterigasserne til at eksplodere og medføre personskade.
Frakobl altid batteriets (sorte) minuskabel, før du frakobler det røde pluskabel.
Tilslut altid batteriets røde pluskabel, før du tilslutter det sorte minuskabel.
Frakobl batteriets pluskablet fra batteriet. Se maskinens betjeningsvejledning.
Fjern det højre konsoldæksel som vist i Figur 1.

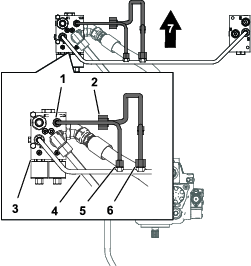
Placer en dræningsbakke under frem-enden af trykslangen (Figur 2).

Afmonter frem-enden af trykslangen fra fittingen i fordelerrøret, og dræn hydraulikvæsken fra slangen og røret (Figur 3).

Afmonter bagenden af trykslangen fra fittingen i hydraulikpumpen, og fjern trykslangen. Se Figur 2 og Figur 3.
Sæt midlertidigt en hætte på pumpen og fordelerrøret.
Note: Kasser den oprindelige trykslange.
Placer dræningsbakken under bag-traktionsmanifolden.
Fjern rørmøtrikken til krydsrøret fra fittingen i bag-traktionsmanifolden (Figur 2 eller Figur 3).
Fjern rørmøtrikken til filterrøret fra fittingen i krydsrøret, og afmonter krydsrøret (Figur 2 eller Figur 3).
Important: Gem filterrøret til montering i Montering af filterrøret og fordelerrøret.
Note: Kasser krydsrøret.
Sæt midlertidigt en hætte på fittingen i bag-traktionsmanifolden.
Fjern rørmøtrikken til bag-traktionsrøret fra fittingen i fordelerrøret.
Fjern rørmøtrikken på fordelerrøret fra T-fittingen i forreste venstre traktionsmotor, og afmonter røret fra maskinen (Figur 2 eller Figur 3).
Note: Kasser fordelerrøret.
Hvis du monterer firehjulstrækkontakten, skal du forsætte med denne procedure. Hvis ikke du monterer firehjulstrækkontakten, skal du gå til Montering af de hydrauliske komponenter.
Important: Denne procedure er nødvendig, hvis du skal montere firehjulstrækkontakten.
Placer en dræningsbakke under den fremadrettede, lige ende af tankslangen.
Afmonter den fremadrettede ende af tankslangen fra fittingen i hydraulikvæsketanken, sæt en hætte på tankens fitting, og dræn hydraulikvæsken fra slangen.

Fjern den bageste, vinklede ende af tankslangen fra skotfittingen, og afmonter tankslangen.
Sæt midlertidigt hætten på skotfittingen.
Note: Kasser den oprindelige tankslange.
Dele, der skal bruges til dette trin:
| Prop | 1 |
| Ventil | 2 |
| Spole (12 V) | 2 |
| Spolemøtrik | 2 |
Important: Manifolden leveres monteret på forhånd uden kontakten. Denne procedure er nødvendig, hvis du skal montere firehjulstrækkontakten.
Fjern de to eksisterende ventiler fra CV1- og CV2-portene på manifolden.
Monter de relevante dele på gennemstrømningsfordelerens manifold som vist i Figur 5.

Spænd spolemøtrikkerne til 6,8 til 9,5 Nm.
Spænd ventilerne til 34 Nm.
Monter proppen over den nye blænde.
Note: Du kan kassere den fjernede blænde og de fjernede ventiler.
Dele, der skal bruges til dette trin:
| Manifold til gennemstrømningsfordeler | 1 |
| Trykslange | 1 |
| Manifoldrør | 1 |
| Traktionsmotorrør | 1 |
| Fordelerrør | 1 |
| Tankslange | 1 |
| Bolt | 2 |
| Flangemøtrik | 2 |
Placer hullerne i manifolden til gennemstrømningsfordeleren ud for hullerne i chassisbeslaget.
Note: Sørg for, at fittingen på 45° peger ned og mod maskinens bagende.

Fastgør manifolden til gennemstrømningsfordeleren til chassisbeslaget med de 2 bolte og 2 flangemøtrikker. Tilspænd boltene med et moment på 37-45 Nm.
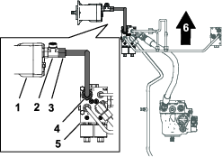
Placer frem-rørmøtrikken til bag-traktionsrøret ud for knærøret i gennemstrømningsfordelerens manifold (Figur 7 og Figur 8).

Skru frem-rørmøtrikken på knærøret, og tilspænd møtrikken med et moment på 51 til 63 Nm.

Fjern det midlertidige dæksel fra hydraulikpumpen.
Før en lige ende af trykslangen ind i fittingen i hydraulikpumpen (Figur 8).
Fjern det midlertidige dæksel fra gennemstrømningsfordelerens manifold.
Før den anden lige ende af trykslangen ind i fittingen på siden af gennemstrømningsfordelerens manifold (Figur 8).
Stram slangefittingsene med et moment på 150 til 184 Nm.
Fjern hætten på fittingen i bag-traktionsmanifolden, der blev monteret tidligere.
Placer rørmøtrikkerne til krydsmanifoldrøret ud for fittingerne i bag-traktionsmanifolden og gennemstrømningsfordelerens manifold (Figur 9).

Skru rørmøtrikkerne på fittingsene i gennemstrømningsfordelerens manifold og bag-traktionsmanifolden, og tilspænd møtrikkerne med et moment på 51 til 63 Nm.
Klargør hydraulikfilterrøret, du gemte i Afmontering af krydsrøret. Placer rørmøtrikken til hydraulikfilterrøret ud for fittingen i krydsmanifoldrøret som vist i Figur 10.

Skru rørmøtrikken til hydraulikfilterrøret på fittingen i krydsmanifoldrøret, og tilspænd møtrikken med et moment på 51 til 63 Nm.
Placer rørmøtrikkerne til fordelerrøret ud for fittingsene i krydsmanifoldrøret og gennemstrømningsfordelerens manifold (Figur 10).
Skru fordelerrørets rørmøtrikker på fittingsene i krydsmanifoldrøret og gennemstrømningsfordelerens manifold, og tilspænd møtrikkerne med et moment på 37 til 45 Nm.
Placer rørmøtrikkerne til traktionsmotorrøret ud for fittingsene i traktionsmotoren og gennemstrømningsfordelerens manifold (Figur 11).

Skru rørmøtrikkerne til traktionsmotorrøret på fittingsene i traktionsmotoren og gennemstrømningsfordelerens manifold, og tilspænd møtrikkerne med et moment på 116 til 142 Nm.
Important: Denne procedure er nødvendig, hvis du skal montere firehjulstrækkontakten.
Fjern det midlertidige dæksel fra skotfittingen, og skru den vinklede ende af tankslangen fast på skotfittingen.

Note: Sørg for, at der er afstand til spolerne ved at vende den vinklede ende og slangen ud mod maskinens højre side, vinkelret på rammen.
Fjern det midlertidige dæksel fra fittingen på hydraulikvæsketanken, og skru den lige ende af tankslangen fast på fittingen.
Stram den fremadrettede, lige ende, der er fastgjort til tanken, med et moment på 50 til 64 Nm.
Stram den vinklede ende, der er fastgjort til skottet, med et moment på 81 til 100 Nm.
Dele, der skal bruges til dette trin:
| Sikring (10 A) | 1 |
| Sikringsmærkat | 1 |
Important: Denne procedure er nødvendig, hvis du skal montere firehjulstrækkontakten.
Monter sikringen i C4-åbningen i sikringsblokken (Figur 13).
Note: Hvis en anden sikring allerede sidder i C4-åbningen, skal du sætte sikringen i en ledig reserveåbning.

Important: Bemærk, hvilken sikringsåbning der svarer til hvilken reservestrømledning. Hvis kontakten tilsluttes en ledning uden en sikring, vil det ikke fungere.
Placer sikringsmærkaten på det tilsvarende panel på diagrammet over sikringsmærkater, der findes under værktøjskassens dæksel.

Dele, der skal bruges til dette trin:
| Vippekontakt | 1 |
| Ledningsnet | 1 |
| Firehjulstræk – funktionsmærkat | 1 |
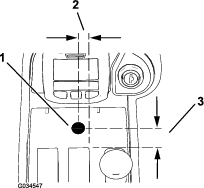
Bor et 13 mm hul i centerkonsollen. Se Figur 15 for den relevante retning.
Important: Vær forsigtig med ikke at ramme komponenter eller ledninger under konsollen med boret.

Placer firehjulstrækkets funktionsmærkat over det borede hul (Figur 16).

Find kontaktklemmernes placering, ledningsnettets mærkater og ledningsnettets farver (Figur 17).
Kontaktklemmerne er identificeret af de numre, der står i bunden af kontakten.
Note: Kontakten er fjederbelastet i bagenden af kontakten (Figur 18). Kontakten er normalt åben mellem klemme 1 og 2 (Figur 17).

Fastgør den røde ledning med angivelsenBYPASS ENGAGE SWITCH 2 til tilsidesættelseskontaktens midterste klemme nummer 2 (Figur 17 og Figur 18).
Fastgør den grå ledning med angivelsen BYPASS ENGAGE SWITCH 1 til tilsidesættelseskontaktens bageste klemme nummer 1 (Figur 17 og Figur 18).
Important: Forkert tilslutning af kontaktens ledninger kan medføre skader på hydrauliksystemet. Kontroller, at ledningerne er tilsluttet korrekt. Se Afprøvning af firehjulstræk.

Før vippekontakten med det tilsluttede ledningsnet ind i bagenden af centerkonsollen (Figur 19).

Træk vippekontakten/ledningsnettet gennem centerkonsollen op til det borede hul (Figur 20).

Sæt vippekontakten i hullet på 13 mm fra bunden af konsollen. Se Figur 21 for at vende den sekskantede låsemøtrik og spændeskive rigtigt.
Note: Monter kontakten, så den er fjederbelastet mod maskinens bagside.Kassér sikringsskiven, der følger med vippekontakten.

Dele, der skal bruges til dette trin:
| Ledningsnet | 1 |
| Relæ | 1 |
| Selvskærende skrue | 1 |
Important: Denne procedure er nødvendig, hvis du skal montere firehjulstrækkontakten.
Før ledningsnettet langs det eksisterende ledningsnet og ind i åbningen i rammen bag sædet (Figur 22).

Fastgør det nye ledningsnet i konsollen til det eksisterende ledningsnet.
Før klemmestik og øjeforbindelsen ind i den højre værktøjskasse (Figur 23).

Tilslut ledningsnettets klemme til reservestrømledningen, så sikringsblokken ser ud som vist i Figur 24.
Important: Sørg for, at den valgte reservestrømledning er tilsluttet den nye sikring, ellers vil kontakten ikke fungere. Udfør en kontinuitetsprøve med en multimåler for at bekræfte at den påtænkte åbning og ledning stemmer overens.

Tilslut øjeforbindelsen til jordklembrættet som vist i Figur 25.

Løsn sædet. Se maskinens betjeningsvejledning.
Fastgør relæet til relæmonteringsbeslaget med den medfølgende selvskærende skrue som vist i Figur 26.

Sæt relæets stik ind i relæet som vist i Figur 27.

Før de to resterende ledninger, som ikke er direkte forbundet til relæet, halvvejs hen langs det eksisterende ledningsnet under rammen, indtil de er direkte over trevejsmanifolden (Figur 28).

Tag spolen fra trevejsmanifolden ud (Figur 29).

Tilslut stikket, du lige har fjernet, til den ledige sokkel på det nye ledningsnet (Figur 30).

Tilslut det vinklede stik fra det nye ledningsnet til spolen på trevejsmanifolden Figur 31.

Før de resterende løse ledningsnetender ned omkring den nedre ramme, og tilslut dem til 2 spoler på gennemstrømningsfordelerens manifold lige på indersiden af højre fordæk (Figur 28 og Figur 32).

Tilslut batteriets pluskabel til batteriets pluspol. Se betjeningsvejledningen til din maskine.
Forkert batterikabelføring kan danne gnister og beskadige maskinen og kablerne. Gnister kan få batterigasserne til at eksplodere og medføre personskade.
Frakobl altid batteriets (sorte) minuskabel, før du frakobler det røde pluskabel.
Tilslut altid batteriets røde pluskabel, før du tilslutter det sorte minuskabel.
Tilslut batteriets minuskabel til batteriets minuspol. Se betjeningsvejledningen til din maskine.
Luk værktøjskassens højre dæksel, og monter det højre konsoldæksel (Figur 1).
Hydraulikvæske, der slipper ud under tryk, kan trænge ind i huden og dermed forårsage personskader.
Sørg for, at alle slanger og rør til hydraulikvæske er i god stand, og at alle hydrauliske forbindelser og fittings slutter tæt, før der sættes tryk på hydrauliksystemet.
Hold din krop og hænder væk fra splithulslækager eller dyser, der sprøjter højtrykshydraulikvæske ud.
Brug pap eller papir til at finde eventuelle hydrauliklækager.
Tag hele trykket af det hydrauliske system, før der udføres arbejde på det.
Søg straks lægehjælp, hvis der sprøjtes væske ind under huden.
Kontroller, og tilspænd alle fittings og hydrauliske forbindelser.
Sørg for, at hydraulikpumpens omløbsventil er i driftsposition. Se vejledningen til skubning og træk af maskinen i betjeningsvejledningen.
Kontroller hydraulikvæskestanden, og påfyld efter behov. Se betjeningsvejledningen til din maskine.
Start maskinen, og lad hydrauliksystemet komme under tryk.
Sluk for motoren, og kontroller, om der er lækager i hydraulikrør, -slanger og fittings.
Note: Reparer alle lækager før betjening af maskinen.
Important: Dette afslutter monteringen.
Sæt nøglen i tændingen, drej nøglen hen til positionen ON (til), og deaktiver parkeringsbremsen.
Kør maskinen fremad, og tryk firehjulstrækkets vippekontakt fremad.
Note: Du bør høre elektromagneterne skifte, hvis sættet er monteret korrekt. Hvis dette ikke er tilfældet, skal du kontrollere ledningsnettets tilslutninger og sikringernes placering.
Foretag et skarpt sving med kontakten trykket fremad.
Note: Du bør fornemme, at firehjulstrækkets sæt er monteret korrekt. Hvis dette ikke er tilfældet, skal du kontrollere ledningsnettets tilslutninger og sikringernes placering.
Gennemstrømningsfordelersættet fordeler traktionen mellem for- og baghjulene. Dette betyder, at både et for- og et baghjul skal spinde, før maskinen mister traktion.
Betjen maskinen på den bedst mulige måde vha. følgende information:
Gennemstrømningsfordelersættet må kun bruges ved lave hastigheder. Systemet tillader ikke, at den kører ved høje hastigheder.
Hvis både et for- og baghjul spinder, kan det hjælpe at bruge styrebremserne. Træd på bremsepedalen for det spindende forhjul for at overføre drejningsmoment til det hjul, der stadig har traktion.
Dette gennemstrømningsfordelersæt fordeler traktionen jævnt mellem for- og baghjulsmotorerne. Dette betyder, at hjulspin skal forekomme på både et for- og et baghjul, før maskinen mister traktion.
Note: Når gennemstrømningsfordeleren er aktiv, er traktionssystemets ydeevne mere aggressiv, især når maskinen drejer. Vær forsigtig, og øv dig i at betjene maskinen på et diskret område for at forstå din maskines traktionsydeevne.
De to valgfrie installationer har driftsegenskaber, der adskiller sig let fra hinanden:
Indstilling for automatisk gennemstrømningsfordeler: Gennemstrømningsfordeleren er ALTID aktiv, når maskinen kører fremad. Der er ingen elektronik eller afbrydere involveret.
Indstilling for manuelt aktiveret gennemstrømningsfordeler: En kontakt er monteret på operatørens kontrolpanel. Når funktionen ikke aktiveres manuelt, er traktionen den samme som på en maskine uden en gennemstrømningsfordeler. Operatøren kan aktivere afbryderen, når det ønskes, så gennemstrømningsfordeleren aktiveres, og gennemstrømningen fordeles jævnt mellem den forreste og bageste traktionsmotor, når maskinen kører fremad.
Note: Indstillingen for manuel aktivering er kun funktionel, når maskinen befinder sig i LAVT hastighedsområde.Betjeningsgrebet til høj/lav hastighedsregulering på maskinen skal befinde sig i indstillingen LAV, før gennemstrømningsfordeleren kan aktiveres.