Questo prodotto è conforme a tutte le direttive europee pertinenti. Per maggiori dettagli, consultate la Dichiarazione di incorporazione sul retro di questa pubblicazione.
![]() |
Gli adesivi di sicurezza e di istruzioni sono chiaramente visibili e sono affissi accanto a zone particolarmente pericolose. Sostituite gli adesivi danneggiati o smarriti. |


Important: Questo kit è pensato per l’uso solo con modelli Groundsmaster 30881, 30882, 30873, 30873TE, 30874 e e 30874TE, numeri di serie 40000000 e successivi.
Note: Le procedure di installazione del kit impongono di operare sotto la macchina.
Note: Potete utilizzare un paranco per un migliore accesso sotto la macchina.
Important: Coprite o inserite eventuali aperture di componenti, tubi o flessibili idraulici scollegati per prevenire la contaminazione del sistema.
Parcheggiate su una superficie pianeggiante, inserite il freno di stazionamento, assicuratevi che il pedale della trazione sia in posizione di folle.
Assicuratevi che il pulsante della PDF sia in posizione di SPEGNIMENTO.
Spegnete il motore, togliete la chiave e lasciate raffreddare la macchina.
Se lasciate la chiave nell'interruttore di accensione, qualcuno potrebbe accidentalmente avviare il motore e ferire gravemente voi o gli astanti.
Togliete la chiave dall'interruttore prima di ogni intervento di manutenzione.
Scaricate la pressione dall'impianto idraulico ruotando la valvola di bypass della pompa idraulica; fate riferimento alle istruzioni per la spinta o il traino della macchina contenute nel Manuale dell'operatore.
Se non state montando l'interruttore 4RM, passate a Rimozione dei tubi idraulici. Se state montando l'interruttore 4RM, proseguite con questa procedura.
Aprite il coperchio della scatola degli attrezzi e scollegate il cavo negativo dal polo della batteria; fate riferimento al Manuale dell'operatore per la vostra macchina.
In caso di errato percorso dei cavi della batteria, la macchina ed i cavi possono venire danneggiati, e causare scintille che possono fare esplodere i gas delle batterie e provocare infortuni.
Scollegate sempre il cavo negativo (nero) della batteria prima di quello positivo (rosso).
Collegate sempre il cavo positivo (rosso) della batteria prima di quello negativo (nero).
Scollegate il cavo positivo dal polo della batteria; fate riferimento al Manuale dell'operatore per la vostra macchina.
Rimuovete il coperchio della consolle di destra, come illustrato nella Figura 1.

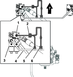
Allineate una bacinella di spurgo sotto l'estremità anteriore del flessibile della pressione (Figura 2).

Togliete l'estremità anteriore del flessibile della pressione dal raccordo nel tubo divisore e lasciate spurgare il fluido idraulico dal flessibile e dal tubo (Figura 3).

Togliete l’estremità posteriore del flessibile della pressione dal raccordo nella pompa idraulica e rimuovete il flessibile della pressione; fate riferimento a Figura 2 e Figura 3.
Coprite temporaneamente la pompa e il tubo divisore.
Note: Smaltite il flessibile della pressione originale.
Allineate la bacinella di spurgo sotto il collettore di trazione posteriore.
Rimuovete il dado del tubo per il tubo trasversale dal raccordo nel collettore della trazione posteriore (Figura 2 o Figura 3).
Rimuovete il dado del tubo per il tubo del filtro dal raccordo nel tubo trasversale e rimuovete il tubo trasversale (Figura 2 o Figura 3).
Important: Conservate il tubo del filtro per l'installazione in Installazione del tubo del filtro e del tubo divisore.
Note: Eliminate il tubo trasversale.
Coprite temporaneamente il raccordo nel collettore di trazione posteriore.
Rimuovete il bullone e il dado che fissano il tubo divisore alla staffa del tubo e rimuovete il morsetto (Figura 3 o Figura 2).
Rimuovete i 2 bulloni e i 2 dadi che fissano la staffa del tubo alla staffa dello chassis (Figura 3 o Figura 2).
Note: Eliminate la staffa del tubo, il morsetto e la bulloneria.
Rimuovete il dado a tubo del tubo di trazione posteriore dal raccordo del tubo divisore.
Rimuovete il dado del tubo del tubo divisore dal raccordo a T nel motore di trazione anteriore sinistro e rimuovete il tubo dalla macchina (Figura 2 o Figura 3).
Note: Eliminate il tubo divisore.
Se state montando l'interruttore 4RM, proseguite con questa procedura. Se non state montando l'interruttore 4RM, passate a Montaggio dei componenti idraulici.
Important: Questa procedura è necessaria se installate l'interruttore 4RM.
Allineate una bacinella di spurgo sotto l'estremità anteriore diritta del flessibile del serbatoio.
Rimuovete l'estremità anteriore del flessibile del serbatoio dal raccordo nel serbatoio del fluido idraulico, chiudete il raccordo sul serbatoio e lasciate spurgare il fluido idraulico dal flessibile.

Rimuovete l'estremità posteriore angolata del flessibile del serbatoio dal raccordo del diaframma e rimuovete il flessibile del serbatoio.
Coprite temporaneamente il raccordo diaframma.
Note: Eliminate il flessibile del serbatoio originale.
Parti necessarie per questa operazione:
| Tappo | 1 |
| Valvola | 2 |
| Bobina (12 V) | 2 |
| Dado della bobina | 2 |
Important: Il collettore viene fornito preassemblato per l’utilizzo senza l’interruttore. Questa procedura è necessaria se installate l'interruttore 4RM.
Rimuovete le 2 valvole presenti dalle porte CV1 e CV2 del collettore.
Montate i componenti appropriati sul collettore del divisore di flusso come illustrato nella Figura 5.

Serrate i dadi della bobina a 6,8–9,5 N∙m.
Serrate le valvole a 34 N∙m.
Montate il tappo sul nuovo orifizio.
Note: Potete scartare l’orifizio e le valvole rimosse.
Parti necessarie per questa operazione:
| Collettore divisore di flusso | 1 |
| Flessibile della pressione | 1 |
| Tubo collettore | 1 |
| Tubo motore di trazione | 1 |
| Tubo divisore | 1 |
| Flessibile del serbatoio | 1 |
| Bullone | 2 |
| Dado flangiato | 2 |
Allineate i fori nel collettore divisore di flusso ai fori nella staffa del telaio.
Note: Verificate che il raccordo a 45° sia rivolto verso il basso e verso la parte posteriore della macchina.

Fissate il collettore divisore di flusso alla staffa del telaio con 2 bulloni e 2 dadi flangiati. Serrate i bulloni a una coppia compresa tra 37 e 45 N∙m.
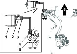
Allineate il dado del tubo anteriore per il tubo della trazione posteriore con il raccordo a gomito nel collettore del divisore di flusso (Figura 7 e Figura 8).

Inserite il dado a tubo anteriore sul gomito e serrate a una coppia compresa tra 51 e 63 N·m.

Rimuovete il cappuccio temporaneo dalla pompa idraulica.
Introducete un'estremità diritta del flessibile della pressione nel raccordo della pompa idraulica (Figura 8).
Rimuovete il tappo temporaneo dal collettore del divisore di flusso.
Introducete l'altra estremità diritta del flessibile della pressione nel raccordo sul lato del collettore del divisore di flusso (Figura 8).
Serrate i raccordi del flessibile a una coppia compresa tra 150 e 184 N∙m.
Rimuovete il cappuccio sul raccordo del collettore di trazione posteriore precedentemente installato.
Allineate i dadi del tubo per il tubo del collettore trasversale ai raccordi nel collettore della trazione posteriore e nel collettore del divisore di flusso (Figura 9).

Introducete i dadi a tubo sui raccordi nel collettore divisore di flusso e nel collettore di trazione posteriore e serrate i dadi a una coppia compresa tra 51 e 63 N·m.
Preparate il tubo del filtro idraulico conservato dal passaggio Rimozione del tubo trasversale. Allineate il dado a tubo del tubo del filtro idraulico al raccordo nel tubo collettore trasversale, come mostrato in Figura 10.

Inserite il dado a tubo del tubo del filtro idraulico sul raccordo nel tubo collettore trasversale e serrate a una coppia compresa tra 51 e 63 N·m.
Allineate i dadi a tubo del tubo divisore ai raccordi nel tubo collettore trasversale e nel collettore divisore di flusso (Figura 10).
Introducete i dadi a tubo per il tubo divisore sui raccordi nel tubo del collettore trasversale e nel collettore divisore di flusso e serrate i dadi a una coppia compresa tra 37 e 45 N∙m.
Allineate i dadi a tubo del tubo del motore di trazione ai raccordi nel motore di trazione e nel collettore divisore di flusso (Figura 11).

Introducete i dadi a tubo del tubo del motore di trazione sui raccordi nel motore di trazione e nel collettore divisore di flusso e serrate a una coppia compresa tra 116 e 142 N·m.
Important: Questa procedura è necessaria se installate l'interruttore 4RM.
Rimuovete il tappo temporaneo dal raccordo del diaframma e introducete l'estremità angolata del flessibile del serbatoio sul raccordo del diaframma.

Note: Garantite uno spazio per le bobine rivolgendo l'estremità angolata e il flessibile in fuori, verso il lato destro della macchina, perpendicolarmente al telaio.
Rimuovete il tappo temporaneo dal raccordo sul serbatoio del fluido idraulico e introducete l'estremità diritta del flessibile del serbatoio sul raccordo.
Serrate l'estremità anteriore diritta, collegata al serbatoio a 50–64 N∙m.
Serrate l'estremità angolata, collegata al diaframma a 81–100 N∙m.
Parti necessarie per questa operazione:
| Fusibile (10 A) | 1 |
| Adesivo dei fusibili | 1 |
Important: Questa procedura è necessaria se installate l'interruttore 4RM.
Montate il fusibile nello slot C4 del portafusibili (Figura 13).
Note: Se lo slot C4 è già occupato da un altro fusibile, posizionate il fusibili in qualsiasi altro slot ausiliario aperto.

Important: Annotate quale slot corrisponde a quale filo di alimentazione ausiliaria. Se l'interruttore è collegato a un filo senza un fusibile, non funzionerà.
Collocate l’adesivo del fusibile nel riquadro corrispondente dell’adesivo con lo schema dei fusibili che si trova sul lato inferiore del coperchio della scatola degli attrezzi.

Parti necessarie per questa operazione:
| Commutatore | 1 |
| Cablaggio preassemblato | 1 |
| Adesivo di funzionamento delle 4 ruote motrici | 1 |
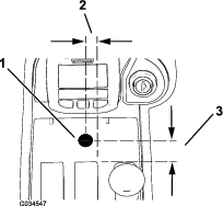
Praticate un foro da 13 mm nella consolle centrale; fate riferimento a Figura 15 per il corretto orientamento.
Important: Prestate attenzione a non colpire eventuali componenti o fili sotto la consolle con la punta del trapano.

Posizionate l'adesivo di funzionamento delle 4 ruote motrici sopra il foro praticato (Figura 16).

Identificate le posizioni dei morsetti degli interruttori, le etichette del cablaggio preassemblato e i colori del cablaggio preassemblato (Figura 17).
I morsetti degli interruttori sono identificati dai numeri stampati sulla parte inferiore dell'interruttore.
Note: L'interruttore è caricato a molla sulla parte posteriore dell'interruttore (Figura 18). L'interruttore è normalmente aperto tra i morsetti 1 e 2 (Figura 17).

Fissate il filo rosso etichettatoBYPASS ENGAGE SWITCH 2 (INTERRUTORE DI ATTIVAZIONE DEL BYPASS 2) al morsetto centrale dell’interruttore di emergenza numero 2 (Figura 17 e Figura 18).
Fissate il cavo grigio con l’etichetta BYPASS ENGAGE SWITCH 1 (INTERRUTORE DI ATTIVAZIONE DEL BYPASS 1) al morsetto posteriore dell’interruttore di emergenza numero 1 (Figura 17 e Figura 18).
Important: Un cablaggio incorretto dell'interruttore può causare danni all'impianto idraulico. Verificate che il cablaggio sia installato correttamente; fate riferimento a Test della trazione integrale.

Disponete il commutatore con il cablaggio preassemblato collegato nella parte posteriore della consolle centrale (Figura 19).

Tirate il commutatore/cablaggio preassemblato attraverso la consolle centrale fino al foro praticato (Figura 20).

Montate il commutatore nel foro da 13 mm dalla parte inferiore della consolle; fate riferimento a Figura 21 per l'orientamento corretto del dado di bloccaggio esagonale e della rondella.
Note: Montate l'interruttore caricato a molla verso la parte posteriore della macchina.Eliminate la rondella ad alette inclusa nel commutatore.

Parti necessarie per questa operazione:
| Cablaggio preassemblato | 1 |
| Relè | 1 |
| Vite autofilettante | 1 |
Important: Questa procedura è necessaria se installate l'interruttore 4RM.
Disponete il cablaggio preassemblato lungo il cablaggio preesistente nell'apertura nel telaio, dietro al sedile (Figura 22).

Fissate il nuovo cablaggio preassemblato, nella consolle, al cablaggio preassemblato preesistente.
Disponete la spina terminale e il raccordo a occhiello nella scatola degli attrezzi destra (Figura 23).

Collegate il morsetto del cablaggio preassemblato al filo dell'alimentazione ausiliaria, lasciando il portafusibili come illustrato nella Figura 24.
Important: Assicuratevi che il filo di alimentazione ausiliaria selezionato sia associato al nuovo fusibile o l'interruttore non funzionerà. Effettuate un test di continuità con un multimetro per confermare che lo slot in questione e il filo corrispondano.

Collegate il raccordo a occhiello al portafusibili di messa a terra, come illustrato nella Figura 25.

Sbloccate il sedile; fate riferimento al Manuale dell'operatore della vostra macchina.
Collegate il relè al relativo supporto con la vite autofilettante in dotazione, come illustrato nella Figura 26.

Collegate il connettore del relè al relè, come illustrato nella Figura 27.

Disponete i 2 fili rimanenti che non sono direttamente collegati al relè a metà lungo il cablaggio preassemblato preesistente sotto il telaio, fino a quando non si trovano direttamente sopra il collettore a 3 vie (Figura 28).

Scollegate la bobina dal collettore a 3 vie (Figura 29).

Collegate la spina che avete appena rimosso nella presa libera sul nuovo cablaggio preassemblato (Figura 30).

Collegate la spina angolata proveniente dal nuovo cablaggio preassemblato alla bobina sul collettore a 3 vie (Figura 31).

Disponete le estremità del cablaggio sfuso rimanente verso il basso, attorno al telaio inferiore e collegatele alle 2 bobine sul collettore del divisore di flusso, proprio all'interno dello pneumatico anteriore destro (Figura 28 e Figura 32).

Collegate il cavo positivo della batteria al polo positivo della batteria; fate riferimento al Manuale dell'operatore per la vostra macchina.
In caso di errato percorso dei cavi della batteria, la macchina ed i cavi possono venire danneggiati, e causare scintille che possono fare esplodere i gas delle batterie e provocare infortuni.
Scollegate sempre il cavo negativo (nero) della batteria prima di quello positivo (rosso).
Collegate sempre il cavo positivo (rosso) della batteria prima di quello negativo (nero).
Collegate il cavo negativo della batteria al polo negativo della batteria; fate riferimento al Manuale dell'operatore per la vostra macchina.
Chiudete il coperchio della scatola degli attrezzi destra e montate il coperchio della consolle di destra (Figura 1).
Se il fluido idraulico fuoriesce sotto pressione, può penetrare la pelle e causare infortuni.
Verificate che tutti i tubi e i flessibili del fluido idraulico siano in buone condizioni, e che tutte le connessioni e i raccordi idraulici siano saldamente serrati, prima di mettere l'impianto sotto pressione.
Tenete corpo e mani lontano da perdite filiformi o da ugelli che eiettano fluido idraulico pressurizzato.
Usate cartone o carta per cercare perdite di fluido idraulico.
Eliminate con sicurezza la pressione dall'intero impianto idraulico prima di eseguire qualsiasi intervento sull'impianto.
Se il fluido viene iniettato nella pelle, rivolgetevi immediatamente ad un medico.
Controllate e serrate tutti i raccordi e i collegamenti idraulici.
Verificate che la valvola di bypass della pompa idraulica sia in posizione di funzionamento; fate riferimento alle istruzioni di spinta o traino della macchina nel Manuale dell'operatore.
Verificate il livello del fluido idraulico e rabboccate se necessario; fate riferimento al Manuale dell’operatore della vostra macchina.
Avviate la macchina e pressurizzate l'impianto idraulico.
Spegnete il motore e controllate i tubi, i flessibili e i raccordi idraulici per escludere perdite.
Note: Riparate le perdite prima di utilizzare la macchina.
Important: Questo completa l'installazione.
Posizionate la chiave nell'interruttore, girate la chiave in posizione di ACCENSIONE e disinserite il freno di stazionamento.
Guidate la macchina in avanti e premete in avanti il commutatore 4RM.
Note: Se il kit è montato correttamente, dovreste udire il cambio del solenoide. In caso contrario, verificate i collegamenti del cablaggio preassemblato e la posizione dei fusibili.
Effettuate una svolta stretta con l'interruttore premuto in avanti.
Note: Se il kit è montato correttamente, dovreste percepire le 4 ruote motrici. In caso contrario, verificate i collegamenti del cablaggio preassemblato e la posizione dei fusibili.
Il kit divisore di flusso divide il flusso di trazione tra le ruote anteriori e posteriori. È necessario che sia uno pneumatico anteriore, sia uno posteriore slittino prima che la macchina perda trazione.
Servitevi delle informazioni seguenti per utilizzare al meglio la macchina su cui è montato il kit ripartitore di flusso:
Il kit del divisore di flusso deve essere utilizzato soltanto nel range di basse velocità. Il sistema non consente il funzionamento nel regime di alta velocità.
Se avviene lo slittamento di una ruota anteriore e una posteriore, può essere utile utilizzare i freni di guida. Premete il pedale del freno corrispondente alla ruota anteriore che slitta in modo da trasferire la coppia alla ruota che ha ancora trazione.
Questo kit divisore di flusso divide in modo uniforme il flusso di trazione tra i motori della ruota anteriore e posteriore. Questo significa che sia uno pneumatico anteriore, sia uno posteriore dovranno slittare prima che la macchina perda trazione.
Note: Quando il divisore di flusso è attivo, le prestazioni del sistema di trazione sono più aggressive, in particolare mentre la macchina sta effettuando una svolta. Fate attenzione ed effettuate le operazioni in un’area discreta per acquisire conoscenza delle prestazioni di trazione della propria macchina.
Le 2 installazioni opzionali hanno caratteristiche operative leggermente differenti:
Opzione divisore di flusso automatico: il divisore di flusso è SEMPRE attivo quando la macchina procede a marcia avanti. Non sono coinvolti interruttori o componenti elettronici.
Opzione divisore di flusso con attivazione manuale: viene installato un interruttore sul pannello di controllo dell’operatore. Quando non viene attivato manualmente, il comportamento di trazione è identico a quello di una macchina senza divisore di flusso. L’operatore può azionare l’interruttore quando lo desidera, attivando il divisore di flusso, dividendo in modo uniforme il flusso tra i motori di trazione anteriore e posteriore mentre la macchina sta procedendo a marcia avanti.
Note: L’opzione di attivazione manuale funziona solo quando la macchina è in un range di velocità BASSA.L’interruttore di controllo della velocità alta-bassa sulla macchina deve essere impostato su BASSA per consentire l’attivazione del divisore di flusso.