此产品符合欧盟所有相关指令。若要了解详情,请参阅本手册封底的注册声明 (DOI)。
![]() |
任何潜在危险区附近均贴有操作员清晰可见的安全标贴和说明。更换受损或丢失的标贴。 |


Important: 本组件仅适用于 Groundsmaster 机型 30881、30882、30873、30873TE、30874 和 30874TE 序列号 40000000 及以上。
Note: 安装此组件的程序需要您从机器下面工作。
Note: 您可以使用起重机,在机器下方进行更方便的检修。
Important: 盖住或塞住任何断开的液压软管、管道或组件端口,以防止污染系统。
停在水平地面上,接合手刹,确保驱动踏板处于空档位置。
确保 PTO 按钮处于关闭位置。
关闭发动机,拔下钥匙,并等待机器冷却。
如果将钥匙留在点火开关上,可能会有人无意中启动发动机,对您或旁观者造成严重伤害。
执行任何维护前,请拔下点火开关的钥匙。
通过转动液压泵旁通阀排出液压系统的压力;请参阅操作员手册中推动或拖曳机器的说明。
如果不安装 4 轮驱动开关,请跳至步骤拆掉液压管线。如果要安装 4 轮驱动开关,请继续此程序。
打开右工具箱盖,从电池电极断开负极接线;请参阅机器操作员手册。
电池接线不正确会损坏机器,而且接线之间会产生火花。火花可引发电池气体爆炸,从而造成人身伤害。
应始终先断开负极(黑色)电池线,然后才能断开正极(红色)接线。
应始终先连接正极(红色)电池线,然后才能连接负极(黑色)接线。
断开电池的正极电池线;请参阅机器操作员手册。
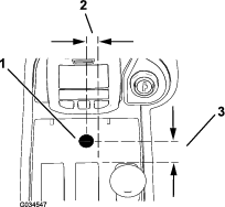
如图 1所示卸掉右控制台盖。

Important: 如果您准备安装 4 轮驱动开关,才必须执行此程序。
将油箱软管前面直端下方的放油盘对齐。
从液压油箱中的接头卸下油箱软管的前端,盖住油箱上的接头,让液压油从软管中排出。

从隔板接头卸下油箱软管的后斜角端,然后取下油箱软管。
临时盖住隔板接头。
Note: 丢弃原油箱软管。
此程序中需要的物件:
| 插头 | 1 |
| 阀门 | 2 |
| 线圈(12V) | 2 |
| 线圈螺母 | 2 |
Important: 歧管已经预装,以便在没有开关时使用;如果您准备安装 4 轮驱动开关,才必须执行此程序。
从歧管的 CV1 和 CV2 端口卸下 2 个现有阀门。
如图 5所示,将适当的零件安装到分流器歧管上。

上紧线圈螺母扭矩至 6.8~9.5N∙m。
上紧阀门扭矩至 34N·m。
将栓塞安装到新孔口上。
Note: 您可以丢弃卸下的栓塞和阀门。
此程序中需要的物件:
| 分流器歧管 | 1 |
| 压力软管 | 1 |
| 歧管管子 | 1 |
| 牵引马达管 | 1 |
| 分流器管 | 1 |
| 油箱软管 | 1 |
| 螺栓 | 2 |
| 凸缘螺母 | 2 |
将分流器歧管中的孔与底盘支架中的孔对齐。
Note: 确保 45 度接头向下朝向机器的背面。

用 2 个螺栓和 2 个凸缘螺母将分流器歧管固定到底盘支架上。上紧螺栓扭矩至 37~45N∙m。
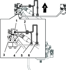
取下之前安装的后牵引歧管接头上的盖子。
将交叉歧管管的管螺母与后牵引歧管和分流器歧管中的接头对齐(图 9)。

将管螺母拧到分流器歧管和后牵引歧管内的接头上,然后上紧螺母扭矩至 51~63N∙m。
将牵引马达管的管螺母与牵引马达和分流器歧管内的接头对齐(图 11)。

将牵引马达管的管螺母拧到牵引马达和分流器歧管内的接头上,然后上紧螺母扭矩至 116~142N∙m。
Important: 如果您准备安装 4 轮驱动开关,才必须执行此程序。
取下隔板接头上的临时盖子,并将油箱软管的斜角端拧到隔板接头上。

Note: 使斜角端和软管向外朝向机器右侧,与机架垂直,确保线圈间隙。
取下液压油箱接头上的临时盖子,并将油箱软管的直端拧到接头上。
上紧连接至油箱的前直端扭矩至 50~64N∙m。
上紧连接至隔板的斜角端扭矩至 81~100N∙m。
此程序中需要的物件:
| 保险丝(10A) | 1 |
| 保险丝标贴 | 1 |
Important: 如果您准备安装 4 轮驱动开关,才必须执行此程序。
将保险丝安装到险丝盒的 C4 插槽内(图 13)。
Note: 如果另一个保险丝已经占用了 C4 插槽,可将该保险丝放在任何打开的辅助插槽内。

Important: 注意哪个保险丝插槽对应于哪个辅助电源线。如果开关连接至不带保险丝的电线,开关将不起作用。
将保险丝标贴粘贴在工具箱盖下方对应的面板上。

此程序中需要的物件:
| 切换开关 | 1 |
| 线束 | 1 |
| 4 轮驱动功能标贴 | 1 |
在中央控制台钻一个 13mm 的孔;请参阅图 15,了解正确的方向。
Important: 小心不要让钻头碰到控制台下方的任何组件或电线。

将 4 轮驱动功能标贴贴在新钻孔的上方(图 16)。

确认开关端子位置、线束标签和线束颜色(图 17)。
开关端子由印在开关底部的数字加以识别。
Note: 切换开关是弹簧加载到开关后部(图 18)。端子 1 与 2 之间的开关通常是开启的(图 17)。

将标有旁路接合开关 1的灰色接线固定至超越控制开关后面的 1 号端子(图 17 和图 18)。
Important: 错误的开关接线可能导致液压系统损坏。验证接线安装是否正确;请参阅测试四轮驱动。

将连接了线束的切换开关放入中央控制台的后面(图 19)。

将切换开关/线束通过中央控制台向上拉到钻出的孔(图 20)。

从中央控制台底部将切换开关装入 13mm 的孔;请参阅图 21,了解正确的六角螺母和垫圈方向。
Note: 将开关弹簧加载装置安装到机器后部。丢弃随切换开关附带的带标签垫圈。

此程序中需要的物件:
| 线束 | 1 |
| 继电器 | 1 |
| 自攻螺丝 | 1 |
Important: 如果您准备安装 4 轮驱动开关,才必须执行此程序。
沿现有线束将线束布放到座椅下方机架的开口(图 22)。

在控制台内将新线束固定至现有线束。
将端子插头和孔眼连接件放入工具箱(图 23)。

如图 24所示,将线束端子插入离开保险丝盒的辅助电线。
Important: 确保选定的辅助电线与新保险丝相连,否则开关将不起作用。用万用表进行连续性测试,以确认所需的插槽和电线是否匹配。

如图 25所示,将孔眼连接件连接至地线盒。

打开座椅的闩锁;请参阅机器操作员手册。
如图 26所示,用提供的自攻螺丝将继电器安装到继电器安装座上。

如图 27所示,将继电器接头插入继电器。

将未直接连接到继电器的 2 根剩余电线沿着机架下方的现有线束布放,直至位于 3 向歧管的上方(图 28)。

从 3 向歧管拔掉线圈的插头(图 29)。

将刚刚拔出的插头接入新线束的空闲插槽内(图 30)。

将新线束的斜角插头接入 3 向歧管上的线圈(图 31)。

将剩余的松散线束端部绕在下机架上,并将它们连接到右前轮胎内侧的分流器歧管上的 2 个线圈(图 28和图 32)。

将正极电池线连接至电池正极;请参阅机器操作员手册。
电池接线不正确会损坏机器,而且接线之间会产生火花。火花可引发电池气体爆炸,从而造成人身伤害。
应始终先断开负极(黑色)电池线,然后才能断开正极(红色)接线。
应始终先连接正极(红色)电池线,然后才能连接负极(黑色)接线。
将负极电池线连接至电池负极;请参阅机器操作员手册。
关闭右工具箱盖,然后安装右控制台盖(图 1)。
压力下泄漏的液压油可穿透皮肤,造成伤害。
在对液压系统施加压力之前,请确保所有液压油软管和管线均处于良好状态,且所有液压连接和接头均紧固到位。
请确保身体和双手远离喷射高压液压油的针孔泄漏点或喷嘴。
使用纸板或纸张找出液压泄漏点。
在对液压系统执行任何工作之前,请先安全释放液压系统中的所有压力。
如果液压油穿透皮肤,请立即就医。
检查并拧紧所有接头和液压连接件。
确保液压泵旁通阀处于操作位置;请参阅操作员手册中的推动或拖曳机器说明。
检查液压油位,必要时加注;请参阅机器操作员手册。
启动机器并让液压系统加压。
关闭发动机,然后检查液压管、软管和接头的泄漏情况。
Note: 操作机器之前,修理所有泄漏的地方。
Important: 这样就可以完成安装。
将钥匙放入开关,将钥匙转至启动位置,然后分离手刹。
向前驾驶机器,并向前按下 4 轮驱动切换开关。
Note: 如果组件安装正确,您应该能听到电磁阀换档。如果没有听到,请检查线束连接和保险丝位置。
向前压开关进行急转向。
Note: 如果组件安装正确,您应该能感受到 4 轮驱动。如果没有感到,请检查线束连接和保险丝位置。
分流器组件可在前、后轮之间分隔牵引流。这将需要前轮胎和后轮胎在机器失去牵引力之前旋转。
使用以下信息,可最好地操作安装了分流器的机器:
分流器套件仅用于低速范围。高速范围下系统不会启动分流器。
如果前轮和后轮同时旋转,可能有助于使用转向制动器。应用对应于旋转前轮的制动踏板,以便将扭矩传递到仍然具有牵引力的车轮。
此分流器组件可在前、后轮电机之间平均分隔牵引流。这意味着前轮胎和后轮胎需要在机器失去牵引力之前旋转。
Note: 当分流器启用时,牵引系统的性能会更加激进,特别是在机器转动时。请小心并在不引人注意的区域练习操作,以了解机器的牵引性能。
2 种可选安装的操作特性略有不同:
自动分流器选件:机器向前行驶时,分流器始终处于活动状态。不涉及任何电子设备或开关。
手动激活的分流器选件:在操作员控制面板上安装了一个开关。如果未手动激活,则牵引行为与没有分流器的机器相同。操作员可以根据需要接合开关,从而激活分流器,并在机器向前行驶时在前后牵引电机之间平均分配流量。
Note: 手动激活的选件仅在机器处于低速范围时才起作用。机器上的高低速控制开关必须处于低速设置,才能激活分流器。