Este produto cumpre todas as diretivas europeias relevantes. Para mais informações, consulte a Declaração de incorporação (DOI) no verso desta publicação.
![]() |
Os autocolantes de segurança e instruções estão facilmente visíveis para o operador e situam-se próximo das zonas de potencial perigo. Substitua todos os autocolantes danificados ou perdidos. |


Important: Este kit destina-se apenas a utilização nos modelos Groundsmaster 30881, 30882, 30873, 30873TE, 30874 e 30874TE números de série 40000000 e superiores.
Note: Os procedimentos de instalação deste kit implicam que trabalhe debaixo da máquina.
Note: Pode utilizar um guindaste para um melhor acesso à parte inferior da máquina.
Important: Tape ou ligue quaisquer ligações hidráulicas, tubos ou portas de componentes desligados para evitar a contaminação do sistema.
Estacione numa superfície nivelada, engate o travão de mão, certifique-se de que o pedal de tração está na posição neutra.
Certifique-se de que a alavanca da tomada de força está na posição DESLIGAR.
Desligue o motor, retire a chave e deixe a máquina arrefecer.
Se deixar a chave na ignição, alguém pode ligar acidentalmente o motor e feri-lo a si ou às pessoas que se encontrarem próximo da máquina.
Retire a chave da ignição antes de fazer qualquer revisão.
Purgue pressão do sistema hidráulico rodando a válvula de distribuição da bomba hidráulica; consulte as instruções para puxar ou rebocar a máquina no Manual do utilizador.
Se não estiver a instalar o interruptor da tração às 4 rodas, salte para o passo Remoção das linhas hidráulicas. Se estiver a instalar o interruptor da tração às 4 rodas, continue com este procedimento.
Abra a cobertura da caixa de ferramentas direita e desligue o cabo negativo do polo da bateria; consulte o Manual do utilizador da máquina.
A ligação incorreta dos cabos da bateria pode danificar a máquina e os cabos, produzindo faíscas. As faíscas podem provocar uma explosão dos gases da bateria, resultando em ferimentos pessoais.
Desligue sempre o cabo negativo (preto) da bateria antes de desligar o cabo positivo (vermelho).
Ligue sempre o cabo positivo (vermelho) antes de ligar o cabo negativo (preto).
Desligue o cabo positivo da bateria da bateria; consulte o Manual do utilizador da máquina.
Retire a cobertura da consola direita, como se mostra na Figura 1.

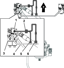
Alinhe um recipiente de escoamento com a extremidade frontal da mangueira de pressão (Figura 2).

Remova a extremidade frontal da mangueira de pressão da união no tubo divisor e permita que o fluido hidráulico drene da mangueira e do tubo (Figura 3).

Remova a extremidade traseira da mangueira de pressão da união na bomba hidráulica e remova a mangueira de pressão; consulte a Figura 2 e a Figura 3.
Tape temporariamente a bomba e o tubo divisor.
Note: Elimine a mangueira de pressão original.
Alinhe o recipiente de escoamento com o coletor de tração traseiro.
Remova a porca do tubo para a mangueira transversal da união no coletor de tração traseiro (Figura 2 ou Figura 3).
Remova a porca do tubo para o tubo do filtro da união no tubo transversal e remova o tubo transversal (Figura 2 ou Figura 3).
Important: Guarde o tubo do filtro para instalação em Instalação do tubo do filtro e o divisor do tubo.
Note: Elimine o tubo transversal.
Tape temporariamente a união no coletor de tração traseiro.
Remova a porca do tubo para o tubo de tração traseiro da união do tubo divisor.
Remova a porca do tubo do tubo divisor da união em T no motor de tração esquerdo frontal e remova o tubo da máquina (Figura 2 ou Figura 3).
Note: Elimine o tubo divisor.
Se estiver a instalar o interruptor da tração às 4 rodas, continue com este procedimento. Se não estiver a instalar o interruptor da tração às 4 rodas, salte para o passo Instalação dos componentes hidráulicos.
Important: Este procedimento é necessário se for instalar o interruptor da tração às 4 rodas.
Alinhe um recipiente de escoamento com a extremidade frontal reta da mangueira do depósito.
Remova a extremidade frontal da mangueira do depósito da união no depósito do fluido hidráulico, tape a união no depósito e permita que o fluido hidráulico drene da mangueira.

Remova a extremidade traseira angular da mangueira do depósito da união do anteparo e remova a mangueira do depósito.
Tape temporariamente o acessório da divisória.
Note: Elimine a mangueira do depósito original.
Peças necessárias para este passo:
| Tampão | 1 |
| Válvula | 2 |
| Bobina (12 V) | 2 |
| Porca da bobina | 2 |
Important: O coletor vem pré-montado para utilização sem o interruptor; este procedimento é necessário se for instalar o interruptor da tração às 4 rodas.
Retire as duas válvulas existentes das portas CV1 e CV2 do coletor.
Instale as peças adequadas no coletor do divisor de fluxo, como se mostra na Figura 5.

Aperte as porcas da bobina com 6,8 a 9,5 N·m.
Aperte as válvulas com uma força de 34 N·m.
Instale o tampão sobre o novo orifício.
Note: Pode deitar fora o orifício e válvulas removidos.
Peças necessárias para este passo:
| Coletor do divisor de fluxo | 1 |
| Mangueira de pressão | 1 |
| Tubo coletor | 1 |
| Tubo do motor tração | 1 |
| Tubo divisor | 1 |
| Mangueira do depósito | 1 |
| Retentor | 2 |
| Porca flangeada | 2 |
Alinhe os orifícios no coletor do divisor de fluxo com os orifícios do suporte do chassis.
Note: Assegure-se de que a união de 45 graus está para baixo e aponta para a traseira da máquina.

Fixe o coletor do divisor de fluxo ao suporte do chassis com os dois parafusos e as duas porcas flangeadas. Aperte os parafusos com 37 a 45 N·m.
Alinhe a porca do tubo frontal para a mangueira de tração traseira com a união em cotovelo no coletor do divisor de fluxo (Figura 7 e Figura 8).

Enrosque a porca do tubo frontal no cotovelo e aperte a porca com 51 a 63 N·m.

Retire a tampa temporária da bomba hidráulica.
Enrosque uma extremidade reta da mangueira de pressão na união na bomba hidráulica (Figura 8).
Retire a tampa temporária do coletor do divisor de fluxo.
Alinhe a outra extremidade em ângulo da mangueira de pressão na união na lateral do divisor de fluxo (Figura 8).
Aperte as uniões dos tubos com uma força de 150 a 184 N·m.
Remova a tampa da união do coletor de tração traseiro previamente instalado.
Alinhe as porcas do tubo para o tubo do coletor transversal com as uniões no coletor de tração traseiro e no coletor do divisor de fluxo (Figura 9).

Enrosque as porcas do tubo nas uniões no coletor do divisor de fluxo e no coletor de tração traseiro e aperte as porcas com 51 a 63 N·m.
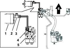
Prepare o tubo do filtro hidráulico guardado de Remoção do tubo transversal. Alinhe a porca do tubo para o tubo do filtro hidráulico com a união no tubo do coletor transversal conforme indicado na Figura 10.

Enrosque as porcas do tubo para o tubo do filtro hidráulico nas uniões no tubo do coletor transversal e aperte as porcas com 51 a 63 N·m.
Alinhe as porcas do tubo divisor com as uniões no tubo do coletor transversal e coletor do divisor de fluxo (Figura 10).
Enrosque as porcas do tubo divisor nas uniões no tubo do coletor transversal e no coletor do divisor de fluxo e aperte as porcas com 37 a 45 N·m.
Alinhe as porcas do tubo do tubo do motor de tração com as uniões no motor de tração e o coletor do divisor de fluxo (Figura 11).

Enrosque as porcas do tubo do tubo do motor de tração nas uniões no motor de tração e no coletor do divisor de fluxo e aperte as porcas com 116 a 142 N·m.
Important: Este procedimento é necessário se for instalar o interruptor da tração às 4 rodas.
Retire a tampa temporária da união do anteparo e enrosque a extremidade angular da mangueira do depósito na união do anteparo.

Note: Certifique-se de que existe espaço entre as bobinas ao voltar a extremidade angular e a mangueira para o lado direito da máquina, perpendicular à estrutura.
Retire a tampa temporária da união no depósito de fluido hidráulico e enrosque a extremidade reta da mangueira do depósito na união.
Aperte a extremidade frontal reta ligada ao depósito com 50 a 64 N·m.
Aperte a extremidade angular ligada ao anteparo com 81 a 100 N·m.
Peças necessárias para este passo:
| Fusível (10 A) | 1 |
| Autocolante do fusível | 1 |
Important: Este procedimento é necessário se for instalar o interruptor da tração às 4 rodas.
Instale o fusível na ranhura C4 pretendida na caixa de fusíveis (Figura 13).
Note: Se outro fusível já estiver a ocupar a ranhura C4, coloque o fusível em qualquer ranhura auxiliar livre.

Important: Atenção que a ranhura do fusível corresponde ao fio de alimentação auxiliar. Se o interruptor estiver ligado a um fio sem um fusível, não funcionará.
Coloque o autocolante do fusível no painel correspondente do autocolante do mapa dos fusíveis localizado sob a cobertura da caixa de ferramentas.

Peças necessárias para este passo:
| Interruptor de comutação | 1 |
| Cablagem | 1 |
| Autocolante da função de tração às 4 rodas | 1 |
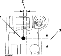
Faça um furo com 13 mm na consola central; consulte Figura 15 para ter a orientação adequada.
Important: Tenha cuidado para não acertar em nenhuns componentes nem cabos debaixo da consola quando perfurar.

Coloque o autocolante da função de tração às 4 rodas por cima do orifício perfurado (Figura 16).

Identifique os locais dos terminais do interruptor, etiquetas da cablagem e cores da cablagem (Figura 17).
Os terminais do interruptor estão identificados pelos números impressos na parte inferior do interruptor.
Note: O interruptor é tensionado por mola para a traseira do interruptor (Figura 18). O interruptor está normalmente aberto entre os terminais 1 e 2 (Figura 17).

Prenda o fio vermelho rotuladoBYPASS ENGAGE SWITCH 2 (INTERRUPTOR DE ENGATE DA DERIVAÇÃO 2) ao terminal central do interruptor de substituição número 2 (Figura 17 e Figura 18).
Prenda o fio cinzento rotulado BYPASS ENGAGE SWITCH 1 (INTERRUPTOR DE ENGATE DA DERIVAÇÃO 1) ao terminal traseiro do interruptor de substituição número 1 (Figura 17 e Figura 18).
Important: A ligação de fios incorreta ao interruptor resulta em danos no sistema hidráulico. Verifique se a ligação dos fios está corretamente instalada; consulte a Testes à tração às quatro rodas.

Encaminhe o interruptor com função de cotovelo com a cablagem ligada para a traseira da consola central (Figura 19).

Empurre o interruptor com função de cotovelo/cablagem através da consola central até ao furo (Figura 20).

Instale o interruptor com ação de cotovelo no orifício com 13 mm a partir da parte inferior da consola; consulte Figura 21 para obter orientação correta da porca de bloqueio e anilha.
Note: Instale o interruptor tensionado por mola para a traseira da máquina.Deite fora a anilha com patilha incluída no interruptor de comutação.

Peças necessárias para este passo:
| Cablagem | 1 |
| Relé | 1 |
| Parafuso autorroscante | 1 |
Important: Este procedimento é necessário se for instalar o interruptor da tração às 4 rodas.
Encaminhe a cablagem ao longo da cablagem existente para a abertura na estrutura atrás do banco (Figura 22).

Prenda a nova cablagem, na consola, à cablagem existente.
Encaminhe a ligação do terminal e a ligação de olhal para a caixa de ferramentas direita (Figura 23).

Ligue o terminal da cablagem ao cabo de alimentação auxiliar que sai do bloco de fusíveis, como se mostra em Figura 24.
Important: Certifique-se de que o fio de alimentação auxiliar escolhido está associado ao novo fusível; caso contrário, o interruptor não funciona. Efetue um teste de continuidade com um multímetro para confirmar se a ranhura pretendida e o fio correspondem.

Ligue a ligação de olhal ao bloco do terminal terra, como se mostra na Figura 25.

Destranque o banco; consulte o Manual do utilizador da máquina.
Ligue o relé à montagem do relé com o parafuso autorroscante fornecido, como se mostra na Figura 26.

Ligue o conector do relé ao relé, como se mostra em Figura 27.

Encaminhe os 2 fios restantes que não estejam diretamente ligados ao relé ao longo da cablagem existente sob a estrutura até ficarem diretamente por cima do coletor de 3 vias (Figura 28).

Desligue a bobina do coletor de 3 vias (Figura 29).

Ligue a ligação que retirou à tomada livre da nova cablagem (Figura 30).

Ligue a ligação angular da nova cablagem à bobina no coletor de 3 vias (Figura 31).

Encaminhe as restantes extremidades soltas para baixo em torno da estrutura inferior e ligue-as às 2 bobinas no coletor do divisor de fluxo no interior do pneu frontal direito (Figura 28 e Figura 32).

Ligue o cabo positivo da bateria da bateria ao polo positivo da bateria; consulte o Manual do utilizador da máquina.
A ligação incorreta dos cabos da bateria pode danificar a máquina e os cabos, produzindo faíscas. As faíscas podem provocar uma explosão dos gases da bateria, resultando em ferimentos pessoais.
Desligue sempre o cabo negativo (preto) da bateria antes de desligar o cabo positivo (vermelho).
Ligue sempre o cabo positivo (vermelho) da bateria antes de ligar o cabo negativo (preto).
Ligue o cabo negativo da bateria da bateria ao polo negativo da bateria; consulte o Manual do utilizador da máquina.
Feche a cobertura da caixa de ferramentas direita e instale a cobertura da consola direita (Figura 1).
O fluido hidráulico que sai sob pressão pode penetrar na pele e provocar lesões.
Certifique-se de que todos os tubos e tubos hidráulicos se encontram em bom estado de conservação e que todas as ligações e uniões hidráulicas estão bem apertadas antes de colocar o sistema sob pressão.
Mantenha o corpo e mãos afastados de fugas de pequenos furos ou bicos que projetem fluido hidráulico sob alta pressão.
Utilize um pedaço de cartão ou papel para detetar fugas do fluido hidráulico.
Alivie com segurança toda a pressão do sistema hidráulico antes de executar qualquer trabalho neste sistema.
Em caso de penetração do fluido na pele, consulte imediatamente um médico.
Verifique e aperte todas as uniões e ligações hidráulicas.
Certifique-se de que válvula de distribuição da bomba hidráulica está na posição de funcionamento; consulte as instruções para puxar ou rebocar máquina no Manual do utilizador.
Verifique o nível do fluido hidráulico e volte a encher conforme necessário; consulte o Manual do utilizador da sua máquina.
Ligue a máquina e deixe o sistema hidráulico pressurizar.
Desligue o motor e verifique eventuais fugas nos tubos hidráulicos, mangueiras e uniões.
Note: Repare todas as fugas antes de utilizar a máquina.
Important: Isto conclui a instalação.
Coloque a chave no interruptor, rode a chave para a posição LIGAR e desengate o travão de mão.
Conduza a máquina para a frente e pressione para a frente o interruptor com ação de cotovelo da tração às 4 rodas.
Note: Deve ouvir os solenóides a mudar, se o kit estiver corretamente instalado. Se tal não acontecer, verifique as ligações da cablagem e a colocação do fusível.
Faça uma curva apertada com o interruptor pressionado para a frente.
Note: Deve sentir a tração às 4 rodas, se o kit estiver corretamente instalado. Se tal não acontecer, verifique as ligações da cablagem e a colocação do fusível.
O kit do divisor de fluxo divide o fluxo de tração entre as rodas frontais e traseiras. Isto requer que um pneu frontal e um traseiro rodem antes de a máquina perder a tração.
Utilize as informações seguintes para operar melhor a máquina com o kit do divisor de fluxo instalado:
O kit do divisor de fluxo só pode ser utilizado na gama de baixa velocidade. O sistema não permite que seja operado a uma velocidade elevada.
Se uma roda frontal e uma traseira rodarem, pode ser útil utilizar os travões da direção. Pressione o pedal do travão correspondente à roda frontal a rodar de forma a transferir o binário para a roda que ainda tem tração.
Este kit do divisor de fluxo divide o fluxo de tração uniformemente entre os motores das rodas frontais e traseiras. Isto significa que tanto um pneu frontal como um traseiro têm de rodar antes de a máquina perder a tração.
Note: Quando o divisor de fluxo está ativo, o desempenho do sistema de tração é mais agressivo, particularmente enquanto a máquina vira. Tenha cuidado e pratique o funcionamento numa área discreta para compreender o desempenho da tração da sua máquina.
As duas instalações opcionais têm caraterísticas operacionais ligeiramente diferentes:
Opção de divisor de fluxo automático: o divisor de fluxo está SEMPRE ativo quando a máquina conduz para a frente. Não há eletrónica ou interruptores envolvidos.
Opção de divisor de fluxo ativado manualmente: é instalado um interruptor no painel de controlo do operador. Quando não ativado manualmente, o comportamento de tração é idêntico a uma máquina sem divisor de fluxo. O operador pode engatar o interruptor quando desejado, ativando o divisor de fluxo, dividindo de forma uniforme o fluxo entre os motores de tração frontal e traseiro enquanto a máquina conduz para a frente.
Note: A opção ativada manualmente só fica funcional quando a máquina se encontra no intervalo de velocidade BAIXA.O interruptor de controlo de velocidade alta-baixa na máquina tem de estar na configuração BAIXA para o divisor de fluxo ativar.