Dette produktet er i samsvar med alle relevante europeiske direktiver. Hvis du vil ha mer informasjon, kan du se sammenstillingserklæringen (DOI) på baksiden av denne publikasjonen.
![]() |
Sikkerhetsmerker og instruksjoner er lett synlige for føreren og er plassert i nærheten av alle områder som representerer en potensiell fare. Bytt ut alle merker som er ødelagte eller mangler. |


Important: Dette settet er kun ment for bruk med Groundsmaster-modeller 30881, 30882, 30873, 30873TE, 30874 og 30874TE-serienumre 40000000 og høyere.
Note: Prosedyrene for å montere dette settet forutsetter at du arbeider på undersiden av maskinen.
Note: Du kan løfte maskinen med en vinsj for å få bedre tilgang på undersiden.
Important: Sett hette på eller tett igjen alle frakoblede porter til hydrauliske slanger, rør eller komponenter for å forhindre kontaminering av systemet.
Parker på et jevnt underlag, sett på parkeringsbremsen og påse at trekkpedalen er i nøytral stilling.
Pass på at kraftuttaksknappen er i AV-stillingen.
Stopp motoren, ta ut tenningsnøkkelen og la maskinen kjøle seg ned.
Hvis du lar nøkkelen stå i tenningsbryteren, kan noen utilsiktet starte motoren, noe som kan påføre deg eller andre alvorlige skader.
Fjern nøkkelen fra bryteren før du begynner med eventuelt vedlikeholdsarbeid.
Luft ut trykket fra det hydrauliske systemet ved å dreie omløpsventilen for hydraulikkpumpen. Se instruksjonene for skyving eller tauing av maskinen i brukerhåndboken.
Hvis du ikke monterer bryteren for firehjulsdrift, kan du gå til Fjerne de hydrauliske ledningene. Hvis du monterer bryteren for firehjulsdrift, fortsett med denne prosedyren.
Åpne det høyre verktøykassedekselet og koble den negative kabelen fra batteripolen. Se brukerhåndboken for maskinen.
Feilaktig ruting av batterikabler kan skade maskinen og kablene og forårsake gnister. Gnistene kan føre til at batterigassene eksploderer, noe som kan forårsake personskade.
Koble alltid fra den negative (svarte) batterikabelen før du kobler fra den positive (røde) kabelen.
Koble alltid til den positive (røde) batterikabelen før du setter på den negative (svarte) kabelen.
Koble den positive batterikabelen fra batteriet. Se maskinens brukerhåndbok.
Fjern det høyre konsolldekselet, som vist i Figur 1.

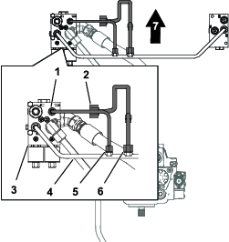
Still et tappefat under den fremre enden av trykkslangen (Figur 2).

Fjern den fremre enden av trykkrøret fra fordelerrørets kobling, og la den hydrauliske væsken tømmes fra slangen og røret (Figur 3).

Fjern den bakre enden av trykkslangen fra koblingen i hydraulikkpumpen, og fjern trykkslangen. Se Figur 2 og Figur 3.
Sett hette på pumpen og fordelerrøret inntil videre.
Note: Kast den opprinnelige trykkslangen.
Plasser tappefatet under den bakre trekk-manifolden.
Fjern rørmutteren for kryssrøret fra den bakre trekk-manifoldens kobling (Figur 2 eller Figur 3).
Fjern rørmutteren for filterrøret fra koblingen i kryssrøret, og fjern kryssrøret (Figur 2 eller Figur 3).
Important: Ta vare på filterslangen for montering i Montere filterrør og fordelerrør.
Note: Kast kryssrøret.
Sett hette på den bakre trekk-manifoldens kobling inntil videre.
Fjern rørmutteren for det bakre trekk-røret fra fordelerrørets kobling.
Fjern fordelerrørets rørmutter fra T-koblingen i den fremre, venstre trekkmotoren, og fjern røret fra maskinen (Figur 2 eller Figur 3).
Note: Kast fordelerrøret.
Hvis du monterer bryteren for firehjulsdrift, fortsett med denne prosedyren. Hvis du ikke monterer bryteren for firehjulsdrift, kan du gå til Montere hydrauliske komponenter.
Important: Denne prosedyren er nødvendig hvis du skal montere bryteren for firehjulsdrift.
Still et tappefat under den fremre, rette enden av tankslangen.
Fjern den fremre enden av tankslangen fra koblingen i hydraulikkvæsketanken, sett en hette på koblingen på tanken og la hydraulikkvæsken tømmes fra slangen.

Fjern den bakre, vinklede enden av tankslangen fra skilleveggkoblingen, og fjern tankslangen.
Sett hette på skilleveggkoblingen inntil videre.
Note: Kast den opprinnelige trykkslangen.
Deler som er nødvendige for dette trinnet:
| Plugg | 1 |
| Ventil | 2 |
| Spole (12 V) | 2 |
| Spolemutter | 2 |
Important: Manifolden leveres ferdigmontert for bruk uten bryter. Denne prosedyren er nødvendig hvis du skal montere bryteren for firehjulsdrift.
Fjern de to eksisterende ventilene fra portene CV1 og CV2 på manifolden.
Monter de nødvendige delene på strømningsfordelermanifolden, som vist i Figur 5.

Stram spolemutterne til 6,8–9,5 Nm.
Trekk til ventilene med et moment på 34 Nm.
Monter pluggen over det nye munnstykket.
Note: Du kan kaste den fjernede pluggen og ventilene.
Deler som er nødvendige for dette trinnet:
| Strømningsfordelermanifold | 1 |
| Trykkslange | 1 |
| Manifoldrør | 1 |
| Trekkmotorrør | 1 |
| Fordelerrør | 1 |
| Tankslange | 1 |
| Bolt | 2 |
| Flensmutter | 2 |
Plasser hullene i strømningsfordelermanifolden på linje med hullene i chassisbraketten.
Note: Påse at 45-graderskoblingen peker nedover og bakover mot maskinens bakende.

Fest strømningsfordelermanifolden til chassisbraketten med de to boltene og to flensmutrene. Trekk til boltene med et moment på 37–45 Nm.
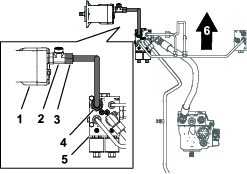
Plasser den fremre rørmutteren for det bakre trekk-røret med den vinklede koblingen i strømningsfordelermanifolden (Figur 7 og Figur 8).

Skru den fremre rørmutteren inn på den vinklede koblingen, og stram mutteren til 51 til 63 Nm.

Fjern det midlertidige lokket fra hydraulikkpumpen.
Skru en rett ende av trykkslangen inn på koblingen i hydraulikkpumpen (Figur 8).
Fjern det midlertidige lokket fra strømningsfordelermanifolden.
Skru den andre rette enden av trykkslangen inn i koblingen på siden av manifolden for strømningsfordeler (Figur 8).
Trekk til slangekoblingene med et moment på 150–184 Nm.
Fjern hetten på koblingen til den bakre trekk-manifolden som du satte på tidligere.
Plasser rørmutteren på linje med kryssmanifold-røret til koblingene i bakre trekk-manifolden og strømningsfordelermanifolden (Figur 9).

Skru rørmutterne inn på koblingene i strømningsfordelermanifolden og den bakre trekk-manifolden, og stram mutterne til 51 til 63 Nm.
Klargjør hydraulikkfilterrøret som du tok vare på i Fjerne kryssrøret. Plasser rørmutteren for hydraulikkfilterrøret på linje med koblingene i kryssmanifoldrøret, som vist i Figur 10.

Skru rørmutterne for det hydrauliske filter-røret inn på koblingene i kryssmanifold-røret, og stram mutterne til 51 til 63 Nm.
Plasser rørmutterne for fordelerrøret på linje med koblingene i kryssmanifoldrøret og strømningsfordelermanifolden (Figur 10).
Skru rørmutterne for fordelerrøret inn på koblingene i kryssmanifoldrøret og den bakre strømningsfordelermanifolden, og stram mutterne til 37 til 45 Nm.
Plasser rørmutteren på linje med trekkmotorrøret til koblingene i trekkmotoren og strømningsfordelermanifolden (Figur 11).

Skru rørmutterne for trekkmotorrøret inn på koblingene i trekkmotoren og strømningsfordelermanifolden, og stram mutterne til 116 til 142 Nm.
Important: Denne prosedyren er nødvendig hvis du skal montere bryteren for firehjulsdrift.
Fjern det midlertidige lokket fra skilleveggkoblingen, og skru den vinklede enden av tankslangen på skilleveggkoblingen.

Note: Sørg for klaring for spolene ved å vende den vinklede enden og slangen ut mot høyre side av maskinen, loddrett mot rammen.
Fjern det midlertidige lokket fra koblingen på hydraulikkvæsketanken, og skru den rette enden av tankslangen på koblingen.
Trekk til den fremre, rette enden som er festet til tanken, til 50–64 Nm.
Trekk til den vinklede enden som er festet til skilleveggen, til 81–100 Nm.
Deler som er nødvendige for dette trinnet:
| Sikring (10 A) | 1 |
| Sikringsmerke | 1 |
Important: Denne prosedyren er nødvendig hvis du skal montere bryteren for firehjulsdrift.
Sett sikringen inn i C4-sporet i sikringsboksen (Figur 13).
Note: Hvis det allerede finnes en sikring i C4-sporet, plasser sikringen i et ledig spor.

Important: Merk hvilket sikringsspor som korresponderer med hvilken hjelpestrømledning. Hvis bryteren er koblet til en ledning uten en sikring, vil den ikke fungere.
Plasser sikringsmerket i tilsvarende panel til sikringskartmerket plassert under verktøykassedekselet.

Deler som er nødvendige for dette trinnet:
| Vippebryter | 1 |
| Ledningssats | 1 |
| Merke for firehjulsdriftsfunksjon | 1 |
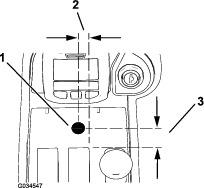
Bor et 13 mm hull i midtkonsollen. Se Figur 15 for riktig retning.
Important: Vær forsiktig så du ikke treffer noen av komponentene eller ledningene under konsollen med boret.

Plasser merket for firehjulsdriftsfunksjon over hullet (Figur 16).

Identifiser plasseringene til bryterterminalen, merkene og fargene til ledningssatsen (Figur 17).
Bryterterminalene er identifisert med tallene trykt i bunnen av bryteren.
Note: Bryteren er fjærbelastet til baksiden av bryteren (Figur 18). Bryteren er normalt åpen mellom terminalene 1 og 2 (Figur 17).

Fest den røde ledningen merketBYPASS ENGAGE SWITCH 2 til overstyringsbryteren på midtre terminal nr. 2 (Figur 17 og Figur 18).
Fest den grå ledningen merket BYPASS ENGAGE SWITCH 1 til overstyringsbryteren på bakre terminal nr. 1 (Figur 17 og Figur 18).
Important: Feil på bryterledninger kan føre til skade på hydraulikksystemet. Sjekk at kablene er korrekt montert. Se Teste firehjulsdriften.

Før vippebryteren med den tilkoblede ledningssatsen til bakdelen av den midtre konsollen (Figur 19).

Trekk vippebryteren/ledningssatsen gjennom midtkonsollen opp til det borede hullet (Figur 20).

Monter vippebryteren i hullet på 13 mm fra undersiden av konsollen. Se Figur 21 for korrekt innretting av sekskantlåsemutteren og skiven.
Note: Monter fjærbelastet bryter mot maskinens bakende.Kast låseskiven som følger med vippebryteren.

Deler som er nødvendige for dette trinnet:
| Ledningssats | 1 |
| Relé | 1 |
| Selvgjengende skrue | 1 |
Important: Denne prosedyren er nødvendig hvis du skal montere bryteren for firehjulsdrift.
Før ledningssatsen langs den eksisterende ledningssatsen, inn i åpningen i rammen bak setet (Figur 22).

Monter den nye ledningssatsen i konsollen til den eksisterende ledningssatsen.
Før terminalpluggen og maljekoblingen til høyre verktøykasse (Figur 23).

Koble ledningssatsens klemme til hjelpestrømledningen fra sikringsblokken, som vist i Figur 24.
Important: Påse at den valgte hjelpestrømledningen korresponderer med den nye sikringen, ellers vil ikke bryteren fungere. Utfør en test av ledningssammenhengen med et multimeter for å bekrefte at ønsket spor og ledning samsvarer.

Koble maljekoblingen til den jordede klemmeblokken, som vist i Figur 25.

Lås opp setet. Se maskinens brukerhåndbok.
Koble reléet til reléfestet med den medfølgende selvgjengende skruen, som vist i Figur 26.

Koble relékoblingen til reléet som vist i Figur 27.

Før de to gjenværende ledningene som ikke er direkte koblet til releet, halvveis langs den eksisterende ledningssatsen og under rammen til den er like over treveismanifolden (Figur 28).

Løsne spolen fra treveismanifolden (Figur 29).

Koble pluggen du nettopp fjernet, til den ledige kontakten på den nye ledningssatsen (Figur 30).

Koble den vinklede pluggen på den nye ledningssatsen til spolen på treveismanifolden Figur 31.

Før de gjenværende løse ledningssatsendene ned rundt den nedre rammen, og koble dem til to spoler på strømningsfordelermanifolden, like på innsiden av det høyre, fremre dekket (Figur 28 og Figur 32).

Koble den positive batterikabelen til den positive batteripolen. Se maskinens brukerhåndbok.
Feilaktig ruting av batterikabler kan skade maskinen og kablene og forårsake gnister. Gnistene kan føre til at batterigassene eksploderer, noe som kan forårsake personskade.
Koble alltid fra den negative (svarte) batterikabelen før du kobler fra den positive (røde) kabelen.
Koble alltid til den positive (røde) batterikabelen før du setter på den negative (svarte) kabelen.
Koble den negative batterikabelen til den negative batteripolen. Se maskinens brukerhåndbok.
Lukk det høyre verktøykassedekselet, og monter det høyre konsolldekselet (Figur 1).
Hydraulisk olje som kommer ut under trykk, kan trenge gjennom huden og forårsake personskader.
Kontroller at alle hydraulikkslanger og ledninger er i god stand, og at alle hydrauliske koblinger og beslag er tette, før det hydrauliske systemet settes under trykk.
Hold kropp og hender borte fra hull eller dyser som sprøyter ut hydraulisk olje under høyt trykk.
Bruk kartong eller papir til å finne lekkasjer.
Før du utfører vedlikehold eller reparasjoner på det hydrauliske systemet, må du forsiktig slippe ut alt trykket.
Oppsøk legehjelp øyeblikkelig hvis olje kommer i direkte kontakt med huden.
Sjekk og stram alle koblinger og hydrauliske koblinger.
Påse at omløpsventilen for den hydrauliske pumpen er i driftsstilling. Se instruksjoner for skyving eller tauing av maskinen i brukerhåndboken.
Sjekk hydraulikkvæskenivået og etterfyll etter behov. Se maskinens brukerhåndbok.
Start maskinen, og la det hydrauliske systemet komme under trykk.
Slå av motoren, og kontroller at det ikke finnes noen lekkasjer i hydrauliske rør, slanger og koblinger.
Note: Reparer alle lekkasjer før maskinen settes i drift.
Important: Dette fullfører monteringen.
Sett nøkkelen i bryteren, vri nøkkelen til På-stilling og koble fra parkeringsbremsen.
Kjør maskinen fremover og trykk vippebryteren for firehjulsdrift fremover.
Note: Når settet er korrekt montert, skal du kunne høre at solenoidene veksles. Hvis du ikke gjør det, sjekk ledningssatsens koblinger og sikringsplassering.
Ta en skarp sving med bryteren trykket fremover.
Note: Når settet er korrekt montert, skal du kunne merke firehjulsdriften. Hvis du ikke gjør det, sjekk ledningssatsens koblinger og sikringsplassering.
Strømningsfordelersettet deler trekkstrømningen mellom for- og bakhjulene. Dette betyr at både et forhjul og et bakhjul må spinne før maskinen mister grepet.
Bruk følgende informasjon for best mulig bruk av maskinen med montert strømningsfordelersett:
Strømningsfordelersettet skal kun brukes ved lave hastigheter. Systemet tillater ikke bruk ved høy hastighet.
Hvis både et forhjul og et bakhjul spinner, kan det være nyttig å bruke styrebremsene. Trykk på bremsepedalen som korresponderer med det spinnende forhjulet for å overføre momentet til hjulet som fortsatt har bakkegrep.
Denne strømningsfordelersettet fordeler trekkstrømningen mellom de fremre og bakre hjulmotorene jevnt. Dette betyr at både et forhjul og et bakhjul må spinne før maskinen mister grepet.
Note: Når strømningsfordeleren er aktiv, er trekkraftsystemets ytelse mer aggressiv, spesielt mens maskinen går. Vær forsiktig, og øv deg på operasjoner i et diskret område for å forstå trekkraftytelsen på maskinen din.
De to valgfrie installasjonene har litt ulike driftsegenskaper:
Automatisk strømningsfordeleralternativ: Strømningsfordeleren er ALLTID aktiv når maskinen kjører fremover. Det er ingen elektronikk eller brytere involvert.
Manuelt aktivert strømningsfordeleralternativ: En bryter er installert på kontrollpanelet for operatøren. Når den ikke er manuelt aktivert, er trekkraftatferden identisk med en maskin uten en strømningsfordeler. Operatøren kan slå på bryteren når det er ønskelig, noe som aktiverer strømningsfordeleren og jevnt fordeler strømningen mellom fremre og bakre trekkmotorer mens maskinen kjører fremover.
Note: Det manuelt aktiverte alternativet er kun funksjonelt når maskinen er i hastighetsområdet LAV.Bryteren for høy/lav hastighet på maskinen må være i satt til LAV for at strømningsfordeleren skal kunne aktiveres.