Ce produit est conforme à toutes les directives européennes pertinentes. Pour plus de renseignements, reportez-vous à la Déclaration d'incorporation (DOI) à la fin de ce document.
![]() |
Des autocollants de sécurité et des instructions bien visibles par l'opérateur sont placés près de tous les endroits potentiellement dangereux. Remplacez tout autocollant endommagé ou manquant. |


Important: Ce kit est uniquement destiné aux Groundsmaster modèles 30881, 30882, 30873, 30873TE, 30874 et 30874TE à partir du numéro de série 40000000.
Note: Les procédures de montage de ce kit exigent de travailler sous la machine.
Note: Vous pouvez utiliser un pont élévateur pour faciliter l'accès sous la machine.
Important: Obturez les flexibles hydrauliques, les tubes ou les orifices des composants pour éviter toute contamination du système.
Garez la machine sur une surface plane et horizontale, serrez le frein de stationnement et vérifiez que la pédale de déplacement est en position neutre.
Vérifiez que le bouton de commande de la PDF est à la position DéSENGAGéE.
Coupez le moteur, enlevez la clé de contact et laissez refroidir la machine.
Si vous laissez la clé dans le commutateur d'allumage, quelqu'un pourrait mettre le moteur en marche et vous blesser gravement, ainsi que les personnes à proximité.
Avant tout entretien, retirez la clé du commutateur d'allumage.
Purgez la pression du système hydraulique en tournant la vanne de dérivation de la pompe hydraulique ; voir les instructions de poussée ou de remorquage de la machine dans le Manuel de l'utilisateur.
Si vous ne montez pas l'interrupteur 4RM, passez directement à l'opération Débranchement des conduites hydrauliques. Si vous montez l'interrupteur 4RM, poursuivez cette procédure.
Ouvrez le couvercle de la boîte à outils droite, débranchez le câble négatif de la borne de la batterie ; voir le manuel de l'utilisateur de votre machine.
S'ils sont mal acheminés, les câbles de la batterie peuvent subir des dommages ou endommager la machine et produire des étincelles. Les étincelles peuvent provoquer l'explosion des gaz de la batterie et vous blesser.
Débranchez toujours le câble négatif (noir) de la batterie avant le câble positif (rouge).
Connectez toujours le câble positif (rouge) de la batterie avant le câble négatif (noir).
Débranchez le câble positif de la batterie ; voir le Manuel de l'utilisateur de votre machine.
Déposez le couvercle de la console droite, comme montré à la Figure 1.

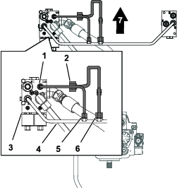
Placez un bac de vidange sous l'extrémité avant du flexible de pression (Figure 2).

Débranchez l'extrémité avant du tube de pression du raccord dans le tube de diviseur, et laissez couler le liquide hydraulique du flexible et du tube (Figure 3).

Débranchez l'extrémité arrière du flexible de pression du raccord dans la pompe hydraulique, et enlevez le flexible de pression ; voir Figure 2 et Figure 3.
Obturez temporairement la pompe et le tube de diviseur.
Note: Mettez au rebut le flexible de pression.
Placez un bac de vidange sous le collecteur de traction arrière.
Retirez l'écrou-raccord pour le tube transversal du raccord du collecteur de traction arrière (Figure 2 ou Figure 3).
Retirez l'écrou-raccord pour le tube filtrant du raccord du tube transversal et déposez le tube transversal (Figure 2 ou Figure 3).
Important: Conservez le tube du filtre pour la pose sous Pose du tube filtrant et du tube de diviseur.
Note: Mettez au rebut le tube transversal.
Obturez temporairement le raccord du collecteur de traction arrière.
Retirez le boulon et l'écrou qui fixent le tube de diviseur au support de tube, et retirez le collier (Figure 3 ou Figure 2).
Retirez les 2 boulons et les 2 écrous qui fixent le support de tube au support de châssis (Figure 3 ou Figure 2).
Note: Mettez au rebut le support de tube, le collier et les fixations.
Retirez l'écrou-raccord du tube de traction arrière sur le raccord du tube de diviseur.
Retirez l'écrou-raccord du tube de diviseur sur le raccord en T du moteur de traction avant gauche, et déposez le tube de la machine (Figure 2 ou Figure 3).
Note: Mettez au rebut le tube de diviseur.
Si vous montez l'interrupteur 4RM, poursuivez cette procédure. Si vous ne montez pas l'interrupteur 4RM, passez directement à l'opération Pose des composants hydrauliques.
Important: Cette procédure est nécessaire si vous montez l'interrupteur 4RM.
Placez un bac de vidange sous l'extrémité droite avant du flexible du réservoir.
Débranchez l'extrémité avant du flexible du raccord du réservoir hydraulique, bouchez le raccord sur le réservoir et faites couler le liquide hydraulique par le flexible.

Débranchez l'extrémité coudée arrière du flexible du réservoir du raccord de traversée et enlevez le flexible.
Obturez temporairement le raccord de traversée.
Note: Mettez au rebut le flexible de réservoir existant.
Pièces nécessaires pour cette opération:
| Bouchon | 1 |
| Vanne | 2 |
| Bobine (12 V) | 2 |
| Écrou de bobine | 2 |
Important: Le collecteur est pré-assemblé en prévision de l'utilisation sans l'interrupteur ; cette procédure est nécessaire si vous montez l'interrupteur 4RM.
Déposez les 2 vannes existantes des orifices CV1 et CV2 du collecteur.
Montez les pièces adéquates sur le collecteur du diviseur de débit comme montré à la Figure 5.

Serrez les écrous de bobines à un couple de 6,8 à 9,5 N·m.
Serrez les vannes à 34 N·m.
Reposez l'obturateur sur le nouvel orifice.
Note: Vous pouvez vous débarrasser des orifices et des vannes déposés.
Pièces nécessaires pour cette opération:
| Collecteur de diviseur de débit | 1 |
| Flexible de pression | 1 |
| Tube de collecteur | 1 |
| Tube de moteur de traction | 1 |
| Tube de diviseur | 1 |
| Flexible de réservoir | 1 |
| Boulon | 2 |
| Écrou à embase | 2 |
Alignez les trous du collecteur du diviseur de débit et ceux du support de châssis.
Note: Vérifiez que le raccord à 45 degrés est orienté vers le bas et l'arrière de la machine.

Fixez le collecteur de diviseur de débit au support de châssis à l'aide de 2 boulons et de 2 écrous à embase. Serrez les boulons à un couple de 37 à 45 N·m.
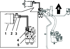
Alignez l'écrou-raccord avant du tube de traction arrière et le raccord coudé du collecteur du diviseur de débit (Figure 7 et Figure 8).

Vissez l'écrou-raccord avant sur le raccord coudé et serrez l'écrou à un couple de 51 à 63 N·m.

Retirez l'obturateur temporaire de la pompe hydraulique.
Vissez une extrémité droite du flexible de pression sur le raccord de la pompe hydraulique (Figure 8).
Retirez l'obturateur temporaire du collecteur du diviseur de débit.
Vissez l'autre extrémité droite du flexible de pression sur le raccord latéral du collecteur du diviseur de débit (Figure 8).
Serrez les raccords à un couple de 150 à 184 N·m.
Retirez l'obturateur du raccord de collecteur de traction arrière que vous avez mis en place précédemment.
Alignez les écrous-raccords du tube de collecteur transversal et les raccords du collecteur de traction arrière et du collecteur du diviseur de débit (Figure 9).

Vissez les écrous-raccords sur les raccords du collecteur du diviseur de débit et du collecteur de traction arrière, et serrez les écrous à un couple de 51 à 63 N·m.
Préparez le tube du filtre hydraulique conservé à la section Dépose du tube transversal. Alignez l'écrou-raccord du tube de filtre hydraulique sur le raccord du tube transversal de collecteur, comme montré à la Figure 10.

Vissez l'écrou-raccord du tube de filtre hydraulique sur le raccord du tube transversal de collecteur, et serrez l'écrou à un couple de 51 à 63 N·m.
Alignez les écrous-raccords du tube de diviseur sur les raccords du tube transversal du collecteur et du collecteur du diviseur de débit (Figure 10).
Vissez les écrous-raccords du tube de diviseur sur les raccords du tube transversal du collecteur et du collecteur du diviseur de débit, et serrez les écrous à un couple de 37 à 45 N·m.
Alignez les écrous-raccords du tube de moteur de traction sur les raccords du moteur de traction et du collecteur du diviseur de débit (Figure 11).

Vissez les écrous-raccords du tube de moteur de traction sur les raccords du moteur de traction et du collecteur du diviseur de débit, et serrez les écrous à un couple de 116 à 142 N·m.
Important: Cette procédure est nécessaire si vous montez l'interrupteur 4RM.
Enlevez l'obturateur temporaire du raccord de traversée et vissez l'extrémité coudée du flexible de réservoir sur le raccord de traversée.

Note: Veillez à faire de la place pour les bobines en tournant l'extrémité coudée et le flexible vers l'extérieur et le côté droit de la machine, perpendiculairement au cadre.
Enlevez l'obturateur temporaire du raccord sur le réservoir hydraulique et vissez l'extrémité droite du flexible de réservoir sur le raccord.
Serrez l'extrémité droite avant reliée au raccord de réservoir à un couple de 50 à 64 N·m.
Serrez l'extrémité coudée reliée au raccord de traversée à un couple de 81 à 100 N·m.
Pièces nécessaires pour cette opération:
| Fusible (10 A) | 1 |
| Autocollant de fusible | 1 |
Important: Cette procédure est nécessaire si vous montez l'interrupteur 4RM.
Insérez le fusible de dans l'emplacement C4 du porte-fusibles (Figure 13).
Note: Si un autre fusible occupe déjà l'emplacement C4, placez le fusible dans un emplacement auxiliaire libre.

Important: Notez l'emplacement de fusible qui correspond au fil d'alimentation auxiliaire. L'interrupteur ne fonctionnera pas s'il est connecté à un fil sans fusible.
Apposez l'autocollant du fusible sur le panneau correspondant de l'autocollant d'agencement des fusibles situé à l'intérieur du couvercle de la boîte à outils.

Pièces nécessaires pour cette opération:
| Interrupteur à bascule | 1 |
| Faisceau de câblage | 1 |
| Autocollant de fonctionnement 4RM | 1 |
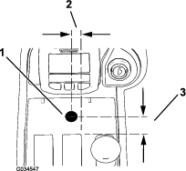
Percez un trou de 13 mm dans la console centrale ; voir la Figure 15 pour connaître la bonne orientation.
Important: Attention à ne toucher aucun des composants ou câbles situés sous la console avec le foret.

Placez l'autocollant de fonctionnement 4RM au-dessus du trou que vous avez percé (Figure 16).

Identifiez l'emplacement des bornes de l'interrupteur, les étiquettes du faisceau de câblage et les couleurs du faisceau de câblage (Figure 17).
Les bornes de l'interrupteur sont identifiées par les chiffres frappés au fond de l'interrupteur.
Note: L'interrupteur est rappelé par ressort à l'arrière (Figure 18). L'interrupteur est normalement ouvert entre les bornes 1 et 2 (Figure 17).

Reliez le câble rouge étiquetéBYPASS ENGAGE SWITCH 2 à la borne 2 centrale de l'interrupteur de neutralisation (Figure 17 et Figure 18).
Reliez le câble gris étiqueté BYPASS ENGAGE SWITCH 1 à la borne 1 arrière de l'interrupteur de neutralisation (Figure 17 et Figure 18).
Important: Le système hydraulique sera endommagé si l'interrupteur n'est pas connecté correctement. Vérifiez que les câbles sont connectés correctement ; voir Essai de la transmission intégrale (4RM).

Faites passer le l'interrupteur à bascule auquel est connecté le faisceau à l'arrière de la console centrale (Figure 19).

Tirez l'interrupteur à bascule et le faisceau à travers la console centrale jusqu'au trou percé (Figure 20).

Insérez l'interrupteur à bascule dans le trou de 13 mm par le fond de la console ; voir la Figure 21 pour l'orientation correcte du contre-écrou hexagonal et de la rondelle.
Note: Montez l'interrupteur rappelé par ressort vers l'arrière de la machine.Mettez au rebut la rondelle à languette fournie avec l'interrupteur à bascule.

Pièces nécessaires pour cette opération:
| Faisceau de câblage | 1 |
| Relais | 1 |
| Vis autotaraudeuse | 1 |
Important: Cette procédure est nécessaire si vous montez l'interrupteur 4RM.
Faites passer le faisceau de câblage le long du faisceau et dans l'ouverture du cadre derrière le siège (Figure 22).

Dans la console, attachez le nouveau faisceau de câblage au faisceau existant.
Acheminez le connecteur à borne et la cosse dans la boîte à outils droite (Figure 23).

Branchez la borne du faisceau de câblage au câble d'alimentation auxiliaire sortant du porte-fusibles, comme montré à la Figure 24.
Important: Vérifiez que le fil d'alimentation auxiliaire choisi est associé au nouveau fusible, sinon l'interrupteur ne fonctionnera pas. Effectuez un test de continuité pour confirmer la correspondance de l'emplacement choisi et du fil.

Branchez la cosse à Ĺ“illet au bornier de masse ; voir la Figure 25.

Déverrouillez le siège ; voir le manuel de l'utilisateur de votre machine.
Fixez le relais à son support avec les vis autotaraudeuses fournies, comme montré à la Figure 26.

Branchez le connecteur du relais au relais, comme montré à la Figure 27.

Acheminez les 2 fils restants qui ne sont pas directement reliés au relais, à mi-chemin le long du faisceau existant, sous le cadre, jusqu'à ce qu'ils soient juste au-dessus du collecteur 3 voies (Figure 28).

Débranchez la bobine du collecteur 3 voies (Figure 29).

Branchez le connecteur que vous venez de débrancher à la douille libre sur le nouveau faisceau (Figure 30).

Branchez le connecteur coudé du nouveau faisceau à la bobine du collecteur 3 voies (Figure 31).

Faites passer les extrémités encore libres du faisceau autour du cadre inférieur, et branchez-les aux 2 bobines sur le collecteur du diviseur de débit, juste à l'intérieur de la roue avant droite (Figure 28 et Figure 32).

Branchez le câble positif de la batterie à la borne positive de la batterie ; voir le Manuel de l'utilisateur de la machine.
S'ils sont mal acheminés, les câbles de la batterie peuvent subir des dommages ou endommager la machine et produire des étincelles. Les étincelles peuvent provoquer l'explosion des gaz de la batterie et vous blesser.
Débranchez toujours le câble négatif (noir) de la batterie avant le câble positif (rouge).
Connectez toujours le câble positif (rouge) de la batterie avant le câble négatif (noir).
Branchez le câble négatif de la batterie à la borne négative de la batterie ; voir le Manuel de l'utilisateur de la machine.
Refermez le couvercle de la boîte à outils droite et reposez le couvercle de la console droite (Figure 1).
Les fuites de liquide hydraulique sous pression peuvent transpercer la peau et causer des blessures graves.
Vérifiez l'état des flexibles et conduites hydrauliques, ainsi que le serrage de tous les raccords et branchements avant de mettre le système hydraulique sous pression.
N'approchez pas les mains ou autres parties du corps des fuites en trou d'épingle ou des gicleurs d'où sort du liquide hydraulique sous haute pression.
Utilisez un morceau de papier ou de carton pour détecter les fuites.
Évacuez avec précaution toute la pression du système hydraulique avant toute intervention sur le système.
Consultez immédiatement un médecin si du liquide est injecté sous la peau.
Contrôlez et resserrez tous les raccords et raccordements hydrauliques
Vérifiez que la vanne de dérivation de la pompe hydraulique est en position de fonctionnement ; voir les instructions de poussée ou de remorquage de la machine dans le Manuel de l'utilisateur.
Vérifiez le niveau de liquide hydraulique et faites l'appoint au besoin ; voir le Manuel de l'utilisateur de la machine.
Démarrez le moteur et attendez que le système hydraulique soit sous pression.
Coupez le moteur et vérifiez l'étanchéité des tubes, flexibles et raccords hydrauliques.
Note: Réparez toutes les fuites avant d'utiliser la machine.
Important: L'installation est maintenant terminée.
Mettez la clé dans le commutateur d'allumage et tournez-la à la position CONTACT, puis desserrez le frein de stationnement.
Conduisez la machine en marche avant et poussez l'interrupteur à bascule 4RM vers l'avant.
Note: Si le kit est installé correctement, vous devriez entendre les solénoïdes se déplacer. Si ce n'est pas le cas, contrôlez les connexions du faisceau de câblage et la position du fusible.
Prenez un virage serré tout en laissant l'interrupteur basculé vers l'avant.
Note: Si le kit est installé correctement, vous devriez sentir la transmission intégrale (4RM). Si ce n'est pas le cas, contrôlez les connexions du faisceau de câblage et la position du fusible.
Le kit diviseur de débit répartit le débit entre les roues avant et arrière. Pour que la machine perde de sa motricité, il faudrait qu'une roue avant et une roue arrière patinent en même temps.
Utilisez les informations suivantes pour obtenir des performances optimales de la machine lorsque le kit diviseur de débit est monté :
Le kit diviseur de débit ne s'utilise que dans la gamme basse. Le système ne lui permet pas de fonctionner dans la gamme haute.
Si une roue avant et une roue arrière patinent en même temps, il peut être utile d'utiliser les freins de direction. Enfoncez la pédale de frein correspondant à la roue avant qui patine pour transférer le couple à la roue qui reste motrice.
Ce kit diviseur de débit répartit uniformément le débit entre les moteurs des roues avant et arrière. Ainsi, pour que la machine perde de sa motricité, il faudrait qu'une roue avant et une roue arrière patinent en même temps.
Note: Lorsque le diviseur de débit est actif, le système de déplacement se comporte de manière plus agressive, notamment dans les virages. Restez prudent(e) et entraînez-vous à utiliser la machine dans un endroit peu visible pour bien en comprendre le comportement.
Les 2 installations optionnelles ont des caractéristiques de fonctionnement légèrement différentes :
Option diviseur de débit automatique : le diviseur de débit est TOUJOURS actif quand la machine roule en marche avant. Aucun composant électronique ou interrupteur n'intervient.
Option diviseur de débit à activation manuelle : un interrupteur est monté sur le panneau de commande de la machine. Lorsque le diviseur n'est pas activé manuellement, la machine en déplacement se comporte comme une machine sans diviseur de débit. L'utilisateur peut actionner l'interrupteur quand il le souhaite pour activer le diviseur de débit, ce qui a pour effet de répartir le débit de manière uniforme entre les moteurs des roues avant et arrière pendant que la machine roule en marche avant.
Note: L'option à activation manuelle est seulement disponible quand la gamme basse est sélectionnée.Le sélecteur de gamme de la machine doit être à la position gamme basse pour que le diviseur de débit soit activé.