Este producto cumple todas las directivas europeas aplicables. Para obtener más detalles, consulte la Declaración de Incorporación (DOI) al final de esta publicación.
![]() |
Las calcomanías de seguridad e instrucciones están a la vista del operador y están ubicadas cerca de cualquier zona de peligro potencial. Sustituya cualquier calcomanía que esté dañada o que falte. |


Important: Este kit está diseñado únicamente para utilizarse con los modelos Groundsmaster 30885, 30887, 30893, 30893TE, 30899 y 30899TE, números de serie 40000000 y superiores.
Note: Los procedimientos de instalación de este kit requieren que usted trabaje debajo de la máquina.
Note: Puede utilizar una grúa para facilitar el acceso a la parte inferior de la máquina.
Important: Tape o tapone cualquier manguera, tubo o conector hidráulico que no esté conectado para evitar contaminar el sistema.
Aparque sobre una superficie nivelada, ponga el freno de estacionamiento, y asegúrese de que el pedal de tracción está en la posición de punto muerto.
Asegúrese de que el botón de la TDF está en la posición de DESENGRANADO.
Apague el motor, retire la llave y deje que la máquina se enfríe por completo.
Si usted deja la llave en el interruptor de encendido, alguien podría arrancar el motor accidentalmente y causar lesiones graves a usted o a otras personas.
Retire la llave del interruptor antes de realizar cualquier operación de mantenimiento.
Purgue la presión del sistema hidráulico girando la válvula de desvío de la bomba hidráulica; consulte las instrucciones para empujar o remolcar la máquina del Manual del operador.
Si no va a instalar el interruptor de 4WD, vaya a Retirada de las líneas hidráulicas. Si va a instalar el interruptor de 4WD, continúe con este procedimiento.
Abra la tapa de la caja de herramientas de la derecha y desconecte el cable negativo del borne de la batería; consulte el manual del operador de la máquina.
Un enrutado incorrecto de los cables de la batería podría dañar la máquina y los cables, causando chispas. Las chispas podrían hacer explotar los gases de la batería, causando lesiones personales.
Desconecte siempre el cable negativo (negro) de la batería antes de desconectar el cable positivo (rojo).
Conecte siempre el cable positivo (rojo) de la batería antes de conectar el cable negativo (negro).
Desconecte el cable positivo de la batería; consulte el manual del operador de la máquina.
Retire la cubierta derecha de la consola, según se muestra en Figura 1.

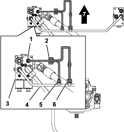
Coloque un recipiente debajo del extremo delantero de la manguera de presión (Figura 2).

Retire el extremo delantero de la manguera de presión del acoplamiento del tubo del divisor, y deje que se drene el aceite hidráulico de la manguera y del tubo (Figura 2).

Retire el extremo trasero de la manguera de presión del acoplamiento de la bomba hidráulica, y retire la manguera de presión (Figura 2 y Figura 3).
Tapone provisionalmente la bomba y el tubo del divisor.
Note: Deseche la manguera de presión original.
Coloque un recipiente debajo del distribuidor de tracción trasera.
Retire la tuerca del tubo transversal del acoplamiento del distribuidor de tracción trasera (Figura 2).
Retire la tuerca del tubo del filtro del acoplamiento del tubo transversal, y retire el tubo transversal (Figura 2).
Important: Guarde el tubo del filtro para su instalación en Instalación del tubo del filtro y del tubo del divisor.
Note: Deseche el tubo transversal.
Tape temporalmente el acoplamiento del distribuidor de tracción trasera.
Retire la tuerca del tubo de tracción trasera del acoplamiento del tubo del divisor.
Retire la tuerca del tubo del divisor del acoplamiento en T del motor de tracción delantero izquierdo, y retire el tubo de la máquina (Figura 2).
Note: Deseche el tubo del divisor.
Si va a instalar el interruptor de 4WD, continúe con este procedimiento. Si no va a instalar el interruptor de 4WD, vaya a Instalación de los componentes hidráulicos.
Important: Este procedimiento es necesario si se instala el interruptor de 4WD.
Coloque un recipiente de vaciado debajo del extremo delantero recto de la manguera del depósito.
Retire el extremo delantero de la manguera del depósito del acoplamiento del depósito de fluido hidráulico, tapone el acoplamiento del depósito y deje que se drene el fluido hidráulico de la manguera.

Retire el extremo trasero en ángulo de la manguera del depósito del pasamuros, y retire la manguera del depósito.
Tapone temporalmente el conector pasamuros.
Note: Deseche la manguera de depósito original.
Piezas necesarias en este paso:
| Tapón | 1 |
| Válvula | 2 |
| Bobina (12 V) | 2 |
| Tuerca de la bobina | 2 |
Important: El distribuidor viene preensamblado para el uso sin interruptor; este procedimiento es necesario si se instala el interruptor de 4WD.
Retire las 2 válvulas existentes de los orificios CV1 y CV2 del distribuidor.
Instale los componentes indicados en el distribuidor del divisor de flujo, según se muestra en Figura 5.

Apriete las tuercas de las bobinas a 6,8–9,5 N·m.
Apriete las válvulas a 34 N·m.
Coloque el tapón sobre el reductor nuevo.
Note: Puede desechar el reductor y las válvulas que se retiraron.
Piezas necesarias en este paso:
| Distribuidor del divisor de flujo | 1 |
| Manguera de presión | 1 |
| Tubo del distribuidor | 1 |
| Tubo del motor de tracción | 1 |
| Tubo del divisor | 1 |
| Manguera del depósito | 1 |
| Perno | 2 |
| Tuerca con arandela prensada | 2 |
Alinee los taladros del distribuidor del divisor de flujo con los taladros del soporte del chasis.
Note: Asegúrese de que el acoplamiento de 45 grados está orientado hacia abajo y hacia la parte trasera de la máquina.

Conecte el distribuidor del divisor de flujo al soporte del chasis con los 2 pernos y las 2 tuercas con arandela prensada. Apriete los pernos a 37 – 45 N∙m.
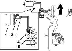
Alinee la tuerca delantera del tubo de tracción trasera con el codo del distribuidor del divisor de flujo (Figura 7 y Figura 8).

Enrosque la tuerca delantera del tubo en el codo, y apriete la tuerca a 51 – 63 N·m.

Retire el tapón provisional de la bomba hidráulica.
Enrosque un extremo recto de la manguera de presión en el acoplamiento de la bomba hidráulica (Figura 8).
Retire el tapón provisional del distribuidor del divisor de flujo.
Enrosque el otro extremo recto de la manguera de presión en el acoplamiento lateral del distribuidor del divisor de flujo (Figura 8).
Apriete los acoplamientos de la manguera a 150 – 184 N·m.
Retire el tapón del acoplamiento del distribuidor de tracción trasera que se instaló anteriormente.
Alinee las tuercas del tubo transversal con los acoplamientos del distribuidor de tracción trasera y del distribuidor del divisor de flujo (Figura 9).

Enrosque las tuercas del tubo en los acoplamientos del distribuidor del divisor de flujo y del distribuidor de tracción trasera, y apriete las tuercas a 51 – 63 N·m.
Prepare el tubo del filtro hidráulico que guardó en Retirada del tubo transversal. Alinee la tuerca del tubo del filtro hidráulico con el acoplamiento del tubo transversal, según se muestra en Figura 10.

Enrosque la tuerca del tubo del filtro hidráulico en el acoplamiento del tubo transversal, y apriete la tuerca a 51 – 63 N·m.
Alinee las tuercas del tubo del divisor con los acoplamientos del tubo transversal y del distribuidor del divisor de flujo (Figura 10).
Enrosque las tuercas del tubo del divisor en los acoplamientos del tubo transversal y del distribuidor del divisor de flujo, y apriete las tuercas a 37 – 45 N·m.
Alinee las tuercas del tubo del motor de tracción con los acoplamientos del motor de tracción y del distribuidor del divisor de flujo (Figura 11).

Enrosque las tuercas del tubo del motor de tracción en los acoplamientos del motor de tracción y del distribuidor del divisor de flujo, y apriete las tuercas a 116 – 142 N·m.
Important: Este procedimiento es necesario si se instala el interruptor de 4WD.
Retire el tapón provisional del pasamuros y enrosque el extremo en ángulo de la manguera del depósito en el pasamuros.

Note: Asegúrese de que hay espacio suficiente para las bobinas orientando el extremo en ángulo hacia fuera, hacia el lado derecho de la máquina, perpendicular al bastidor.
Retire el tapón provisional del acoplamiento del depósito de fluido hidráulico, y enrosque el extremo recto de la manguera del depósito en el acoplamiento.
Apriete el extremo delantero recto que está conectado al depósito a 50 – 64 N·m.
Apriete el extremo en ángulo que está conectado al pasamuros a 81 – 100 N·m.
Piezas necesarias en este paso:
| Fusible (10 A) | 1 |
| Pegatina del fusible | 1 |
Important: Este procedimiento es necesario si se instala el interruptor de 4WD.
Si tiene una máquina más antigua, instale el fusible en la ranura C4 en la caja de fusibles (Figura 13).
Note: Si ya hay otro fusible en la ranura C4, o si tiene un modelo más nuevo, ponga el fusible en cualquier ranura auxiliar que esté libre.

Important: Determine la ranura del bloque de fusibles que corresponde a cada cable eléctrico auxiliar. Si el interruptor está conectado a un cable sin fusible, no funcionará.
Coloque la pegatina del fusible en el panel correspondiente de la pegatina de los fusibles, situada debajo de la tapa de la caja de herramientas.


Piezas necesarias en este paso:
| Interruptor basculante | 1 |
| Arnés de cables del interruptor | 1 |
| Pegatina de la función 4WD | 1 |
| Arnés de cables del relé | 1 |
| Relé | 1 |
| Tornillo autorroscante | 1 |
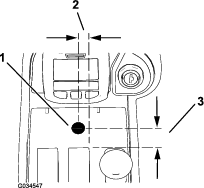
Perfore un taladro de 13 mm en la consola central; consulte la posición correcta en Figura 16.
Important: Tenga cuidado de no tocar ningún componente ni cable de debajo de la consola con la broca.

Fije la pegatina de la función 4WD sobre el taladro perforado (Figura 17).

Identifique las ubicaciones de los terminales del interruptor, las etiquetas del arnés de cables y los colores del arnés de cables (Figura 18).
Los terminales del interruptor se identifican con los números impresos en la parte inferior del interruptor.
Note: El interruptor está tensado con resorte en la parte trasera del interruptor (Figura 19). El interruptor está abierto normalmente entre los terminales 1 y 2 (Figura 18).

Conecte el cable rojo marcadoBYPASS ENGAGE SWITCH 2 en el arnés de cables del interruptor al terminal central n.º 2 del interruptor de desactivación (Figura 18 y Figura 19).
Conecte el cable gris marcado BYPASS ENGAGE SWITCH 1 en el arnés de cables del interruptor al terminal trasero n.º 1 del interruptor de desactivación (Figura 18 y Figura 19).
Important: El cableado incorrecto del interruptor puede producir daños en el sistema hidráulico. Compruebe que el cableado está instalado correctamente; consulte Prueba de la tracción a cuatro ruedas.

Retire los 2 tornillos que fijan el panel lateral a la consola y enrute el interruptor basculante con el arnés de cables conectado en la consola central (Figura 20).

Tire del interruptor basculante y del arnés de cables por la consola central, hasta el taladro perforado (Figura 21).

Instale el interruptor basculante en el taladro de 13 mm desde debajo de la consola; consulte en Figura 22 la orientación correcta de la contratuerca hexagonal y la arandela.
Note: Instale el interruptor tensado con resorte hacia la parte trasera de la máquina.Deseche la arandela con pestaña suministrada con el interruptor basculante.

Conecte el interruptor basculante al arnés de cables de la máquina, tal y como se muestra en la Figura 23.

Conecte el relé y el arnés del relé al arnés de cables de la máquina, tal y como se muestra en la Figura 24.

Conecte el relé al bastidor de la consola con el tornillo autorroscante suministrado.
Piezas necesarias en este paso:
| Arnés de cables del solenoide | 1 |
Important: Este procedimiento es necesario si se instala el interruptor de 4WD.
Desenganche el asiento; consulte el manual del operador de la máquina.
Conecte el conector libre en el arnés de cables del solenoide al conector del arnés de cables de la máquina debajo del asiento (Figura 25).

Enrute los extremos sueltos restantes del arnés alrededor del bastidor inferior y conéctelos a las 2 bobinas en el distribuidor del divisor de flujo, dentro del neumático delantero derecho (Figura 26).

Enganche el asiento; consulte el Manual del operador de la máquina.
Conecte el cable positivo de la batería al borne positivo de la batería; consulte el manual del operador de la máquina.
Un enrutado incorrecto de los cables de la batería podría dañar la máquina y los cables, causando chispas. Las chispas podrían hacer explotar los gases de la batería, causando lesiones personales.
Desconecte siempre el cable negativo (negro) de la batería antes de desconectar el cable positivo (rojo).
Conecte siempre el cable positivo (rojo) de la batería antes de conectar el cable negativo (negro).
Conecte el cable negativo de la batería al borne negativo de la batería; consulte el manual del operador de la máquina.
Cierre la tapa de la caja de herramientas de la derecha e instale la cubierta derecha de la consola (Figura 1).
Las fugas de aceite hidráulico bajo presión pueden penetrar en la piel y causar lesiones.
Asegúrese de que todas las mangueras y líneas de fluido hidráulico están en buenas condiciones de uso, y que todos los acoplamientos y conexiones hidráulicos están apretados, antes de aplicar presión al sistema hidráulico.
Mantenga el cuerpo y las manos alejados de fugas pequeñas o boquillas que liberan fluido hidráulico a alta presión.
Utilice un cartón o un papel para buscar fugas hidráulicas.
Alivie de manera segura toda presión en el sistema hidráulico antes de realizar trabajo alguno en el sistema hidráulico.
Busque atención médica inmediatamente si el fluido penetra en la piel.
Compruebe y apriete todos los acoplamientos y conectores hidráulicos.
Asegúrese de que la válvula de desvío de la bomba hidráulica está en la posición de operación; consulte las instrucciones para empujar o remolcar la máquina del manual del operador.
Compruebe el nivel de fluido hidráulico y rellene según sea necesario; consulte el Manual del operador de la máquina.
Arranque la máquina y deje que se presurice el sistema hidráulico.
Apague el motor y compruebe que no hay fugas en las mangueras o en los tubos y acoplamientos hidráulicos.
Note: Repare cualquier fuga antes de utilizar la máquina.
Important: Esto completa la instalación.
Ponga la llave en el interruptor, gire la llave a la posición de CONECTADO, y quite el freno de estacionamiento.
Conduzca la máquina hacia adelante, y presione el interruptor basculante de 4WD hacia delante.
Note: Debe oír el accionamiento de los solenoides si el kit está instalado correctamente. Si no es así, compruebe las conexiones del arnés de cables y la posición del fusible.
Haga un giro cerrado con el interruptor hacia adelante.
Note: Debe notar la tracción 4WD si el kit está instalado correctamente. Si no es así, compruebe las conexiones del arnés de cables y la posición del fusible.
El kit de divisor de flujo de tracción divide el caudal de tracción de manera uniforme entre las ruedas delanteras y traseras. Con este sistema, tienen que patinar dos ruedas, una delantera y una trasera, para que la máquina pierda tracción.
Utilice la información siguiente para una conducción óptima de la máquina con el kit de divisor de flujo instalado.
El kit de divisor de flujo debe utilizarse únicamente en el intervalo de velocidad baja. El sistema no permite que funcione en el intervalo de velocidad alta.
Si patina una rueda delantera y una rueda trasera, puede resultar útil utilizar los frenos de dirección. Pise el pedal de freno correspondiente a la rueda delantera que patina para transferir el par motor a la rueda que todavía tiene tracción.
Este kit de divisor de flujo divide el caudal de tracción uniformemente entre los motores de las ruedas delanteras y traseras. Con este sistema, sería necesario que patinara tanto una rueda delantera como una rueda trasera para que la máquina perdiese tracción.
Note: Cuando el divisor de flujo está activado, el rendimiento del sistema de tracción es más agresivo, sobre todo cuando la máquina está girando. Tenga cuidado y practique la operación en una zona poco visible para comprender el rendimiento de tracción de su máquina.
Las 2 instalaciones opcionales tienen características de operación ligeramente diferentes:
Opción de divisor de flujo automático: El divisor de flujo está activado SIEMPRE cuando la máquina está en marcha hacia adelante. No implica el uso de ningún sistema de interruptores o electrónico.
Opción de divisor de flujo activado manualmente: Hay un interruptor instalado en el panel de control del operador. Cuando no está activado manualmente, la tracción funciona de manera idéntica a la de una máquina sin divisor de flujo. El operador puede accionar el interruptor cuando lo desee; esto activa el divisor de flujo, que divide el caudal uniformemente entre los motores de tracción delanteros y traseros cuando la máquina avanza hacia adelante.
Note: La opción de activación manual sólo funciona si la máquina está en el intervalo de velocidad BAJA.El interruptor de intervalo de velocidad alta y baja en la máquina debe estar ajustado en BAJA, o alternativamente, en ALTA/BAJA AUTO con la carcasa bajada para que se active el divisor de flujo.