Данное изделие отвечает требованиям всех соответствующих европейских директив. Дополнительные сведения см. в «Декларации о соответствии компонентов (DOI)» в конце данной публикации.
![]() |
Предупреждающие наклейки и инструкции по технике безопасности должны быть хорошо видны оператору и установлены во всех местах потенциальной опасности. При отсутствии или повреждении наклейки следует установить новую наклейку. |


Important: Данный комплект предназначен для использования только с машинами Groundsmaster моделей 30885, 30887, 30893, 30893TE, 30899 и 30899TE с серийными номерами 40000000 и выше.
Note: При установке данного комплекта требуется выполнять работы под машиной.
Note: Для облегчения доступа под машину можно использовать подъемник.
Important: Чтобы предотвратить загрязнение системы, закройте крышками или заглушками все отсоединенные гидравлические шланги, трубки или отверстия компонентов.
Установите машину на ровной поверхности, включите стояночный тормоз и убедитесь, что педаль тяги находится в нейтральном положении.
Убедитесь в том, что кнопка механизма отбора мощности находится в положении OFF (Выкл.)
Выключите двигатель, извлеките ключ и дайте машине остыть.
Оставленный в замке зажигания ключ может привести к несанкционированному запуску двигателя посторонним лицом, в результате чего оператор или находящиеся рядом люди могут получить серьезные травмы.
Перед выполнением любого технического обслуживания извлеките ключ из замка зажигания.
Стравите давление из гидравлической системы, повернув клапан перепуска гидравлического насоса; см. инструкции по перемещению машины толканием или буксировкой в Руководстве оператора.
Если переключатель полного привода устанавливать не нужно, перейдите к разделу Демонтаж гидравлических магистралей. Если вы устанавливаете переключатель полного привода, продолжайте выполнять эти действия.
Откройте крышку правого ящика (аккумуляторного) и отсоедините отрицательный кабель от штыря аккумуляторной батареи; см. Руководство оператора для своей машины.
Неправильное подключение кабелей к аккумуляторной батарее может вызвать искрение и привести к повреждению машины и кабелей. Искры могут вызвать взрыв аккумуляторных газов, что приведет к получению травмы.
Всегда отсоединяйте отрицательный (черный) кабель аккумулятора перед отсоединением положительного (красного) кабеля.
Всегда присоединяйте положительный (красный) кабель аккумулятора перед присоединением отрицательного (черного) кабеля.
Отсоедините положительный кабель от аккумуляторной батареи; см. Руководство оператора для машины.
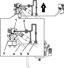
Снимите крышку правой стороны консоли, как показано на Рисунок 1.

Установите сливной поддон под передний конец напорного шланга (Рисунок 2).

Отсоедините передний конец напорного шланга от штуцера трубки делителя и дайте гидравлической жидкости стечь из шланга и трубки (Рисунок 2).

Отсоедините задний конец напорного шланга от штуцера гидравлического насоса и демонтируйте напорный шланг (Рисунок 2 и Рисунок 3).
Временно закройте заглушками насос и трубку делителя.
Note: Удалите в отходы снятый напорный шланг.
Поместите сливной поддон под задний коллектор тяги.
Отверните гайку поперечной трубки от штуцера на заднем коллекторе тяги (Рисунок 2).
Отверните гайку трубки фильтра от штуцера на поперечной трубке и демонтируйте поперечную трубку (Рисунок 2).
Important: Сохраните трубку фильтра для последующей установки, описанной в разделе Установка трубки фильтра и трубки делителя.
Note: Удалите поперечную трубку в отходы.
Временно закройте заглушкой штуцер коллектора управления тягой задних колес.
Отверните гайку задней трубки тяги от штуцера на трубке делителя.
Отверните гайку трубки делителя от тройника переднего левого тягового двигателя и демонтируйте трубку с машины (Рисунок 2).
Note: Удалите трубку делителя в отходы.
Если вы устанавливаете переключатель полного привода, продолжайте выполнять эти действия. Если переключатель полного привода устанавливать не нужно, перейдите к разделу Установка гидравлических компонентов.
Important: Данную процедуру необходимо выполнить в случае, если вы устанавливаете переключатель полного привода.
Установите сливной поддон под передний прямой конец шланга бака.
Отсоедините передний конец шланга бака от штуцера гидравлического бака, закройте заглушкой штуцер на баке и дайте гидравлической жидкости стечь из шланга.

Отсоедините задний угловой конец шланга бака от переходного штуцера и снимите шланг бака.
Временно закройте переходной штуцер заглушкой.
Note: Удалите в отходы оригинальный шланг бака.
Детали, требуемые для этой процедуры:
| Пробка | 1 |
| Клапан | 2 |
| Катушка (12 В) | 2 |
| Гайка катушки | 2 |
Important: Коллектор поставляется в собранном виде, готовом для использования без переключателя; данную процедуру необходимо выполнить в случае, если вы устанавливаете переключатель полного привода
Снимите 2 имеющихся клапана с отверстий CV1 и CV2 коллектора.
Установите соответствующие детали на коллектор делителя потока, как показано на Рисунок 5.

Затяните гайки катушек с моментом от 6,8 до 9,5 Н∙м.
Затяните клапаны с моментом 34 Н∙м.
Установите пробку на новый дроссель.
Note: Снятый дроссель и клапаны можно удалить в отходы.
Детали, требуемые для этой процедуры:
| Коллектор делителя потока | 1 |
| Напорный шланг | 1 |
| Трубка коллектора | 1 |
| Трубка тягового двигателя | 1 |
| Трубка делителя | 1 |
| Шланг бака | 1 |
| Держатель | 2 |
| Фланцевая гайка | 2 |
Совместите отверстия в коллекторе делителя потока с отверстиями в кронштейне ходовой части.
Note: Убедитесь, что 45-градусный штуцер направлен вниз и в сторону задней части машины.

Прикрепите коллектор делителя потока к кронштейну ходовой части с помощью двух болтов и двух фланцевых гаек. Затяните болты с моментом от 37 до 45 Н∙м.
Совместите переднюю гайку задней трубки тяги с угловым штуцером коллектора делителя потока (Рисунок 7 и Рисунок 8).

Наверните переднюю гайку трубки на колено и затяните гайку с моментом от 51 до 63 Н∙м.

Удалите временную заглушку гидравлического насоса.
Наверните один прямой конец напорного шланга на штуцер гидравлического насоса (Рисунок 8).
Удалите временную заглушку с коллектора делителя потока.
Наверните другой прямой конец напорного шланга на штуцер в боковой части коллектора делителя потока (Рисунок 8).
Затяните штуцеры шлангов с моментом 150 – 184 Н∙м.
Снимите установленную ранее заглушку с коллектора управления тягой задних колес..
Совместите гайки поперечной трубки коллектора со штуцерами коллектора управления тягой задних колес и коллектора делителя потока (Рисунок 9).

Наверните гайки трубок на штуцеры коллектора делителя потока и заднего коллектора тяги, затяните гайки с моментом от 51 до 63 Н∙м.
Подготовьте трубку гидравлического фильтра, сохраненную после выполнения действий, описанных в разделе Демонтаж поперечной трубки. Совместите гайку трубки гидравлического фильтра со штуцером поперечной трубки коллектора, как показано на Рисунок 10.

Наверните гайку трубки гидравлического фильтра на штуцер поперечной трубки коллектора и затяните гайку с моментом от 51 до 63 Н∙м.
Совместите гайки трубки делителя со штуцерами поперечной трубки коллектора и коллектора делителя потока (Рисунок 10).
Наверните гайки трубки делителя на штуцеры поперечной трубки коллектора и коллектора делителя потока, затяните гайки с моментом от 37 до 45 Н∙м.
Совместите гайки трубки тягового двигателя со штуцерами тягового двигателя и коллектора делителя потока (Рисунок 11).

Наверните гайки трубки тягового двигателя на штуцеры тягового двигателя и коллектора делителя потока, затяните гайки с моментом от 116 до 142 Н∙м.
Important: Данную процедуру необходимо выполнить в случае, если вы устанавливаете переключатель полного привода.
Удалите временную заглушку с переходного штуцера и наверните угловой конец шланга бака на переходной штуцер.

Note: Оставьте пространство для катушек, направив угловой конец и шланг наружу, в направлении правой стороны машины, перпендикулярно раме.
Удалите временную заглушку со штуцера на гидравлическом баке и наверните прямой конец шланга бака на штуцер.
Затяните передний прямой конец, подсоединенный к баку, с моментом 50 – 64 Н∙м.
Затяните угловой конец, подсоединенный к переходному штуцеру, с моментом 81 – 100 Н∙м.
Детали, требуемые для этой процедуры:
| Предохранитель (10 A) | 1 |
| Наклейка предохранителя | 1 |
Important: Данную процедуру необходимо выполнить в случае, если вы устанавливаете переключатель полного привода.
Если у вас машина более ранней модели, установите предохранитель в гнездо C4 блока предохранителей (Рисунок 13).
Note: Если гнездо C4 уже занято другим предохранителем или если у вас машина более поздней модели, установите предохранитель в любое свободное вспомогательное гнездо.

Important: Запомните, к какому гнезду предохранителя идет соответствующий провод вспомогательного электропитания. Если переключатель будет подсоединен к проводу без предохранителя, он не будет работать.
Прикрепите наклейку предохранителя к соответствующей панели наклейки со схемой предохранителей, расположенной под крышкой ящика.


Детали, требуемые для этой процедуры:
| Тумблерный переключатель | 1 |
| Жгут проводов переключателя | 1 |
| Функциональная наклейка полного привода | 1 |
| Жгут проводов реле | 1 |
| Реле | 1 |
| Самонарезающий винт | 1 |
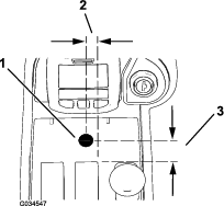
Просверлите отверстие диаметром 13 мм в среднем пульте; см. правильное расположение на Рисунок 16.
Important: Соблюдайте меры предосторожности, чтобы не коснуться сверлом каких-либо компонентов или проводов под консолью.

Прикрепите функциональную наклейку полного привода поверх просверленного отверстия (Рисунок 17).

Определите расположение клемм переключателя, этикеток и цвет жгутов проводов (Рисунок 18).
Клеммы переключателя обозначены номерами, напечатанными на нижней части переключателя.
Note: Переключатель нагружен пружиной, действующей в сторону его задней части (Рисунок 19). Клеммы переключателя 1 и 2 нормально разомкнуты (Рисунок 18).

Присоедините красный провод жгута проводов переключателя, обозначенныйBYPASS ENGAGE SWITCH 2 (ПЕРЕКЛЮЧАТЕЛЬ ВКЛЮЧЕНИЯ ПЕРЕПУСКА 2), жгута проводов переключателя , к средней клемме № 2 переключателя перехода на ручное управление (Рисунок 18 и Рисунок 19).
Присоедините серый провод жгута проводов переключателя, обозначенный BYPASS ENGAGE SWITCH 1 (ПЕРЕКЛЮЧАТЕЛЬ ВКЛЮЧЕНИЯ ПЕРЕПУСКА 1), к задней клемме № 1 переключателя перехода на ручное управление (Рисунок 18 и Рисунок 19).
Important: Неправильное подсоединение проводов к переключателю может привести к повреждению гидравлической системы. Убедитесь в правильном монтаже электрической проводки; см. раздел Проверка полного привода.

Отверните 2 винта крепления боковой панели к консоли и проложите тумблерный переключатель вместе с подсоединенным жгутом проводов в среднюю консоль (Рисунок 20).

Протяните тумблерный переключатель вместе со жгутом проводов через среднюю консоль и вверх к просверленному отверстию (Рисунок 21).

Вставьте тумблерный переключатель в отверстие диаметром 13 мм со стороны нижней части консоли; см. правильную ориентацию шестигранной контргайки и шайбы на Рисунок 22.
Note: Установите переключатель так, чтобы нагруженная пружиной часть была направлена в сторону задней части машины.Удалите в отходы шайбу с выступами, входящую в комплект тумблерного переключателя.

Подсоедините тумблерный переключатель к жгуту проводов машины, как показано на Рисунок 23.

Подсоедините реле и жгут проводов реле к жгуту проводов машины, как показано на Рисунок 24.

Подсоедините реле к раме консоли с помощью прилагаемого самонарезающего винта.
Детали, требуемые для этой процедуры:
| Жгут проводов электромагнита | 1 |
Important: Данную процедуру необходимо выполнить в случае, если вы устанавливаете переключатель полного привода.
Разблокируйте сиденье; см. Руководство оператора для вашей машины.
Подсоедините свободный разъем на жгуте проводов электромагнита к разъему жгута проводов машины под сиденьем (Рисунок 25).

Проложите остальные свободные концы жгута проводов вниз вокруг нижней рамы и подсоедините их к 2 катушкам на коллекторе делителя потока непосредственно в нише правого переднего колеса (Рисунок 26).

Заблокируйте сиденье; см. Руководство оператора для вашей машины.
Подсоедините положительный кабель к положительной клемме аккумуляторной батареи; см. Руководство оператора для машины.
Неправильное подключение кабелей к аккумуляторной батарее может вызвать искрение и привести к повреждению машины и кабелей. Искры могут вызвать взрыв аккумуляторных газов, что приведет к получению травмы.
Всегда отсоединяйте отрицательный (черный) кабель аккумулятора перед отсоединением положительного (красного) кабеля.
Всегда присоединяйте положительный (красный) кабель аккумулятора перед присоединением отрицательного (черного) кабеля.
Подсоедините отрицательный кабель к отрицательной клемме аккумуляторной батареи; см. Руководство оператора для машины.
Закройте крышку правого ящика для инструментов и установите крышку правого пульта (Рисунок 1).
Гидравлическая жидкость, выброшенная под давлением, может повредить кожный покров и проникнуть в ткани тела.
Перед подачей давления в гидравлическую систему убедитесь, что все гидравлические шланги и трубопроводы исправны, а все гидравлические соединения и штуцеры герметичны.
Не приближайтесь к местам точечных утечек или штуцерам, из которых под высоким давлением выбрасывается гидравлическая жидкость.
Для обнаружения гидравлических утечек используйте картон или бумагу.
Перед выполнением любых работ на гидравлической системе полностью сбросьте давление в гидравлической системе безопасным способом.
Если жидкость попала под кожный покров, немедленно обратитесь за медицинской помощью.
Проверьте и затяните все штуцеры и гидравлические соединения.
Убедитесь, что клапан перепуска гидравлического насоса находится в рабочем положении; см. инструкции по перемещению машины толканием или буксировкой в Руководстве для оператора.
Проверьте уровень гидравлической жидкости и при необходимости долейте жидкость; см. Руководство оператора для вашей машины.
Запустите машину и подождите, пока не поднимется давление в гидравлической системе.
Заглушите двигатель и проверьте гидравлические трубки, шланги и штуцеры на отсутствие утечек.
Note: Устраните все утечки перед эксплуатацией машины.
Important: На этом установка завершена.
Вставьте ключ в замок зажигания, поверните его в положение Вкл. и выключите стояночный тормоз.
Двигаясь на машине вперед, нажмите тумблерный переключатель полного привода (4WD) вперед.
Note: Если комплект установлен правильно, вы услышите, как сработают электромагниты. В ином случае проверьте соединения жгутов проводов и местоположения предохранителей.
Удерживая переключатель нажатым вперед, выполните крутой поворот.
Note: Если комплект установлен правильно, вы почувствуете, что действует полный привод. В ином случае проверьте соединения жгутов проводов и местоположения предохранителей.
Комплект делителя потока разделяет поток тяги между передними и задними колесами. При этом потеря сцепления машины с грунтом может произойти только при пробуксовывании как передних, так и задних колес.
Используйте следующую информацию, чтобы наилучшим образом управлять машиной, когда на ней установлен комплект делителя потока тяги:
Комплект делителя потока предназначен для использования только в диапазоне низких скоростей. Система не позволит ему работать в диапазоне высоких скоростей.
Если как передние, так и задние колеса начинают пробуксовывать, можно использовать бортовой тормоз. Нажмите педаль тормоза, соответствующего проскальзывающему переднему колесу, чтобы перенести крутящий момент на то колесо, у которого все еще есть сцепление с грунтом.
Данный комплект делителя потока разделяет тяговый поток равномерно между передними и задними колесными двигателями. Это означает, что потеря сцепления машины с грунтом может произойти только при пробуксовывании передних и задних колес одновременно.
Note: Когда включен делитель потока, действие системы тяги становится более интенсивным, особенно во время поворота машины. Соблюдайте осторожность и попрактикуйтесь в управлении машиной в незаметной зоне, чтобы понять работу системы тяги вашей машины.
У 2 дополнительных вариантов установки имеются немного различающиеся характеристики управления:
Вариант автоматического делителя потока: делитель потока ВСЕГДА работает, когда машина движется вперед. При этом не применяются электронные системы или переключатели.
Вариант делителя потока с ручным включением: на панели управления оператора установлен переключатель. Когда он не включен вручную, управление тягой идентично машине без делителя потока. Оператор может включить переключатель, когда это необходимо, при этом начинает работать делитель потока, который равномерно разделяет тяговый поток между передними и задними колесными двигателями при движении машины вперед.
Note: Вариант с ручным включением действует только в случае, когда машина находится в НИЗКОМ диапазоне скоростей.Переключатель управления высоким-низким диапазонами скоростей машины должен находиться в положении НИЗКИЙ ДИАПАЗОН или в качестве альтернативного варианта в положении HI/LO AUTO (АВТОМ. ВЫБОР ВЫСОКОГО/НИЗКОГО ДИАПАЗОНА) при опущенной деке, чтобы делитель потока мог действовать.