តំហែទាំ
ប្រើជើងទម្រនៅពេលផ្អៀងផ្នែកកាត់
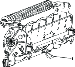
នៅពេលដែលផ្នែកកាត់ត្រូវបានផ្អៀងដើម្បីបែរមុខទៅរកឃ្លុបកាំបិត/ដុំរមូរ ត្រូវទល់ផ្នែកខាងក្រោយនៃផ្នែកកាត់ដោយប្រើជើងទម្រ (ដែលបានផ្គត់ផ្គង់ជាមួយផ្នែកទាញ) ដើម្បីធានាថាខ្ចៅនៅផ្នែកចុងខាងក្រោយនៃរបាឃ្លុបដែលលៃតម្រូវវីសមិននៅឈប់ស្ងៀមនៅលើផ្ទៃការងារ (រូបភាព 23)។

ការដាក់ប្រេងរំអិលផ្នែកកាត់
លាបប្រេងលើគ្រឿងបង្គុំលាបខ្លាញ់ទាំង 5 នៃផ្នែកកាត់នីមួយៗជាប្រចាំ (រូបភាព 24) ជាមួយខ្លាញ់លីចូមលេខ 2។
មានចំណុចដាក់ប្រេងរំអិលចំនួន 2 នៅលើរ៉ូឡូខាងមុខ 2 នៅលើរ៉ូឡូខាងក្រោយ និងចំនួន 1 នៅកន្លាស់របស់ម៉ូទ័រដុំរមូរ។
Note: ម៉ូដែល 03192 មិនមានរ៉ូឡូខាងមុខងទេ មានតែចំណុចរំអិលចំនួន 2 នៅលើរ៉ូឡូខាងក្រោយ និង 1 នៅផ្នែកបង្វិលរបស់ម៉ូទ័រដុំរមូរ។
Important: ការដាក់ប្រេងរំអិលគ្រឿងកាត់ភ្លាមៗ ក្រោយពីការលាងសម្អាតជួយបន្សុទ្ធទឹកចេញពីបាដាង ហើយបង្កើនអាយុកាលរបស់បាដាង។
-
ជូតសម្អាតគ្រឿងខ្ចៅដាក់ប្រេងរំអិលនីមួយៗដោយប្រើក្រណាត់ស្អាត។
-
លាបខាញ់រហូតទាល់តែខាញ់ស្អាតចេញពីសៀលរបស់រ៉ូឡូ និងសន្ទះសង្គ្រោះបាដាង។
-
ជូតសម្អាតខ្លាញ់ដែលលើសចេញ។

ការសង្កត់សង្គ្រោះដុំរមូរ
ដុំរមូរថ្មីមានប្រវែងទទឹងដីពី 1.3 ទៅ 1.5 មម និងការសង្កត់សង្គ្រោះ 30° ។
នៅពេលដែលទទឹងដីមានទំហំធំជាង 3 មម អនុវត្តដូចខាងក្រោម៖
-
អនុវត្តការសង្កត់ដោះមុំ 30° នៅលើផ្លែកាំបិតរបស់ដុំរមូរទាំងអស់រហូតដល់ទទឹងដីមានទំហំ 1.3 មម (0.050 អ៊ិញ) (រូបភាព 25។

-
សង្កត់បង្វិលដុំរមូរដើម្បីសម្រេចបាន <0.025 មម អស់ដុំរមូរ។
Note: នេះបណ្តាលឲ្យទទឹងដីកើនឡើងបន្តិចបន្តួច។
Note: ដើម្បីពង្រីកភាពជាប់បានយូរនៃគែមនៃដុំរមូរ និងឃ្លុប កាំបិត—បន្ទាប់ពីបានសំលៀងដុំរមូរ និងឃ្លុបកាំបិត—សូមពិនិត្យមើលទំនាក់ទំនងរវាងដុំរមូរ និងឃ្លុបកំបិតម្តងទៀត បន្ទាប់ពីបានកាត់ 2 វាលហើយ ដោយសារគែមដែលគ្រោមនោះនឹងត្រូវដកចេញ ដែលបង្កើតឲ្យមានការសម្អាតមិនត្រឹមត្រូវពីដុំរមូរ ទៅឃ្លុបកាំបិត ដូច្នេះហើយធ្វើឲ្យវាឆាប់រេចរិល។
-
ដោយប្រើd,ដុំម៉ែត្រវាស់អង្កត់ផ្ចិត វាស់អង្កត់ផ្ចិតខាងក្រៅនៃដុំរមូរនៅចុងទាំងពីរ (រូបភាព 26); ភាពខុសគ្នានៃអង្កត់ផ្ចិតខាងក្រៅរវាងផ្នែងខាងចុងគួរតែតិចជាង 0.010 អ៊ីញ (0.250 មម) ។ ប្រសិនបើវាខុសគ្នាខ្លាំងពេក សូមកិនដើម្បីកែតម្រូវភាពខុសគ្នានោះ។
Note: ម៉ែត្រវាស់អង្កត់ផ្ចិតខាងក្រៅអាចរកបានពីអ្នកចែកចាយពេញសិទ្ធិរបស់ក្រុមហ៊ុន Troro របស់អ្នក។

ដំឡើង
Important: អ្នកត្រូវបញ្ជាទិញគ្រឿងបន្លាស់ដូចខាងក្រោមដើម្បីឱ្យផ្នែកកាត់អាចត្រូវបានបំពាក់ជាមួយនឹងម៉ាស៊ីនកិនវិល៖
| ចំនួន | គ្រឿងបន្លាស់ | គ្រឿងបន្លាស់លេខ |
| 2 | ក្រចាប់ HOC ខាងមុខ | 125-2796 |
| 2 | ប៊ូឡុងរឹត (⅜ x 1-½ អ៊ីញ) | 3231-4 |
| 2 | ក្បាលឡោស៊ីរឹតពីរជាន់ (⅜ អ៊ិញ) | 104-8301 |
| 2 | ប៊ូឡុងក្បាលឆកោន (5/16 x 1-⅛ អ៊ីញ) | 322-16 |
| 1 | ដងរ៉ូឡូខាងមុខ | 117-0957 |
-
ដោះបង្គុំរ៉ូឡូហាងចេញ (បើមានបំពាក់); សូមចូលមើល ការសារេបង្គុំរូឡូដឹកជញ្ជូន។
-
ប្រើប៊ូឡុងរឹត និងខ្ចៅខ្ទាស់ដើម្បីដំឡើងក្រចាប់ HoC ទៅនឹងរន្ធផ្នែកខាងលើនៃទ្រនាប់ចំហៀង (រូបភាព 27)។
Important: ត្រូវប្រាកដថាក្រចាប់ HOC ត្រូវបានដំឡើងជាមួយប៊ូឡុងរឹតនៅផ្នែកខាងលើនៃរន្ធ ដើម្បីអោយក្រចាប់ HOC នៅទាបតាមដែលអាចធ្វើបាន។

-
ដំឡើងអ័ក្សទៅផ្នែកខាងបាតខាងក្រោមនៃក្រចាប់ HOC ដោយប្រើប៊ូឡុងក្បាលឆកោន 2 គ្រាប់។
-
ត្រូវប្រាកដថាអ័ក្សស្របទៅនឹងផ្នែកកាត់; ប្រសិនបើវាមិនស្របទេ បន្ធូរប៊ូឡុងរឹតនៅផ្នែកទាប ហើយរឹតបន្តឹងវាម្តងទៀតនៅពេលអ័ក្សស្របគ្នា។
ការជួសជុលឃ្លុបកាំបិត
ដែនកំណត់សេវាកម្មឃ្លុបកាំបិតមានរាយនៅក្នុងគំនូសតាងដូចខាងក្រោម។
Important: ការប្រតិបត្តិការផ្នែកកាត់ដោយប្រើឃ្លុបកាំបិតក្រោមដែនកំណត់សេវាកម្មជួសជុលអាចនឹងបណ្ដាលឲ្យលេចរូបរាងមិនល្អក្រោយពេលកាត់ និងកាត់បន្ថយភាពត្រឹមត្រូវនៃរចនាសម្អ័ន្ធរបស់ឃ្លុបកាំបិតសម្រាប់ផលប៉ះពាល់។
| តារាងកម្រិតសេវាកម្មឃ្លុបកាំបិត (ឃ្លុបកាំបិតផលិតកម្ម) | ||||
| ឃ្លុបកាំបិត | គ្រឿងបន្លាស់លេខ | កម្ពស់មាត់ឃ្លុបកាំបិត | ដែនកំណត់សេវាម្ម* | មុំសំលៀងខាងលើ/៊ខាងមុខ |
| HOC ទាប | 120-1641 (27 អ៊ិញ) | 5.6 មម (0.220 អ៊ីញ) | 4.8 មម (0.190 អ៊ីញ) | 10/5° |
| 120-1642 (32 អ៊ិញ) | ||||
| EdgeMax® | 137-6095 (69 ស.ម) | 6.9 មម (0.270 អ៊ីញ) | 4.8 មម (0.190 អ៊ីញ) | 10/5° |
| ស្ដង់ដា | 114-9388 (ម៉ូដែល 03189/90, 69 ស.ម) | 6.9 មម (0.270 អ៊ីញ) | 4.8 មម (0.190 អ៊ីញ) | 10/5° |
| 114-9389 (ម៉ូដែល 03191, 32 អ៊ិញ) | ||||
| កាតព្វកិច្ចធ្ងន់ធ្ងរ | 114-9390 (ម៉ូដែល 03192, 27 អ៊ិញ) | 9.3 មម (0.370 អ៊ីញ) | 4.8 មម (0.190 អ៊ីញ) | 10/5° |
| 114-9391 (32 អ៊ិញ) | ||||

Note: រាល់ខ្នាតកម្រិតសេវាកម្មនៃឃ្លុបកាំបិតទាក់ទងនឹងផ្នែកខាងក្រោមនៃឃ្លុបកាំបិត (រូបភាព 29)

ការពិនិត្យមុំសំលៀងផ្នែកខាងលើ
មុំដែលអ្នកប្រើក្នុងការសំលៀងឃ្លុបកាំបិតរបស់អ្នកគឺពិតជាសំខាន់ណាស់។
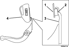
ប្រើឧបករណ៍បង្ហាញមុំ (គ្រឿងបន្លាស់ Toro លេខ 131-6828) និងទម្រឧបករណ៍បង្ហាញមុំ (គ្រឿងបន្លាស់ Toro លេខ 131-6829) ដើម្បីពិនិត្យមុំដែលប្រដាប់សំលៀងរបស់អ្នកបង្កើត ហើយបន្ទាប់មកលៃតម្រូវចំពោះភាពមិនត្រឹមត្រូវណាមួយរបស់ប្រដាប់សំលៀង។
-
ដាក់ឧបករណ៍បង្ហាញមុំនៅលើផ្នែកខាងក្រោមនៃឃ្លុបកាំបិតដូចបានបង្ហាញក្នុង រូបភាព 30។

-
ប៉ះប៊ូតុង Alt Zero នៅលើឧបករណ៍បង្ហាញមុំ។
-
ដាក់ទម្រឧបករណ៍បង្ហាញមុំនៅលើជាយរបស់ឃ្លុបកាំបិត ដើម្បីឲ្យជាយមេដែកពាក់ជាប់ជាយរបស់ឃ្លុបកាំបិត(រូបភាព 31)។
Note: បន្ទះបង្ហាញឌីជីថលគួរតែអាចមើលឃើញពីផ្នែកដូចគ្នាអំឡុងជំហាននេះ ដូចដែលវានៅក្នុងជំហាន 1។

-
ដាក់ឧបករណ៍បង្ហាញមុំនៅលើទម្រដូចបានបង្ហាញនៅក្នុង រូបភាព 31។
Note: នេះជាមុំដែលប្រដាប់សំលៀងរបស់អ្នកបង្កើតឡើង ហើយគួរតែស្ថិតក្នុងមុំ 2° នៃមុំសំលៀងផ្នែកខាងលើដែលបានណែនាំ។
ការជួសជុលរបាឃ្លុប
ការដករបាឃ្លុបចេញ
-
មួលវីសលៃតម្រូវរបាឃ្លុបច្រាសទ្រនិចនាឡិកាដើម្បីដកឃ្លុបកាំបិតចេញពីដុំរមូរ (រូបភាព 32)។

-
មួលខ្ចៅសម្ពាធរឺស័រចេញរហូតទាល់តែរ៉ងលែងសង្កត់នឹងរបារឃ្លុប (រូបភាព 32)។
-
នៅផ្នែកនីមួយៗរបស់គ្រឿងចក្រ សូមបន្ធូរខ្ចៅដែលភ្ជាប់ប៊ូឡុងរបារឃ្លុប (រូបភាព 33)។

-
ដកប៊ូឡុងរបាឃ្លុបនីមួយៗ ដើម្បីឲ្យរបាឃ្លុបត្រូវបានទាញចុះក្រោម និងដកចេញពីប៊ូឡុងរបស់គ្រឿងចក្រ (រូបភាព 33)។ មានរ៉ងនីឡុងចំនួន 2 និងរ៉ងដែកដែលបានបោះត្រាចំនួន 1 នៅលើចុងនីមួយៗរបស់របាឃ្លុប (រូបភាព 34)។

ការដំឡើងរបាឃ្លុប
-
ដំឡើងរបាឃ្លុប ដែលកំណត់ទីតាំងត្រចៀកចាប់រវាងរ៉ង និងប្រដាប់លៃតម្រូវរបាឃ្លុប។
-
រឹតរបាឃ្លុបទៅនឹងបន្ទះចំហៀងនីមួយៗជាមួយប៊ូឡុងរបាឃ្លុប (ខ្ចៅនៅលើប៊ូឡុង) និងរ៉ងចំនួន 6 ។
-
កំណត់ទីតាំងរ៉ងនីឡុងនៅផ្នែកនីមួយៗរបស់ទ្រនាប់បន្ទះចំហៀង។
-
ដាក់រ៉ងដែកខាងក្រៅរ៉ងនីឡុងនីមួយៗ (រូបភាព 34)។
Note: មួលប៊ូឡុងរបាឃ្លុបពី 37 ទៅ 45 N∙m ។ រឹតបន្តឹងខ្ចៅខ្ទាស់រហូតដល់រ៉ងដែកខាងក្រៅឈប់វិល និងចំណុចម៉ាកេត្រូវបានដកចេញ ប៉ុន្តែហាមរឹតបន្តឹងខ្លាំងពេកដែលធ្វើឲ្យបន្ទះចំហៀងផ្លាតចេញ។ រ៉ងនៅផ្នែកខាងក្នុងប្រហែលជាមានគម្លាត។
-
រឹតបន្តឹងខ្ចៅសម្ពាធរឺស័ររហូតទាល់តែរឺស័រធ្លាក់ស្រុត បន្ទាប់មកមួលចេញកន្លះជុំ ½ (រូបភាព 35)។

ការដំឡើងឃ្លុបកាំបិត
-
កោសបំបាត់ស្នាមច្រេះ ស្នាមដាច់ និងស្នាមច្រេះចេញពីផ្ទៃរបារឃ្លុប ហើយលាបប្រេងមួយស្រទាប់ស្ដើងទៅផ្ទៃរបារឃ្លុប។
-
សម្អាតក្រឡាវីស។
-
លាបសមាសធាតុការពារការស្អិតជាប់ទៅវីស ហើយដំឡើងឃ្លុបកាំបិតទៅរបាឃ្លុបដូចខាងក្រោម (រូបភាព 36)៖

-
សំលៀងឃ្លុបកាំបិត។
ការជួសជុលឧបករណ៍លៃតម្រូវពីរចំណុច HD (DPA)
-
ដកគ្រឿងបន្លាស់ទាំងអស់ចេញ (សូមអាន សេចក្ដីណែនាំអំពីការដំឡើង សម្រាប់ឃីត HD DPA និង រូបភាព 38)។
-
លាបសមាសធាតុការពារការស្អិតជាប់ទៅផ្នែកខាងក្នុងនៃតំបន់ទ្រនាប់នៅលើតួកណ្ដាលរបស់ផ្នែកកាត់ (រូបភាព 38)។
-
តម្រង់កូនសោនៅលើទ្រនាប់ក្បាលភ្ជាប់ទៅនឹងរន្ធនៅក្នុងតួ ហើយដំឡើងទ្រនាប់ (រូបភាព 38)។
-
ដំឡើងរ៉ងអង្កាញ់ទៅលើឡាបឧបករណ៍លៃតម្រូវ ហើយរំកិលឡាបឧបករណ៍លៃតម្រូវទៅក្នុងទ្រនាប់ក្បាលភ្ជាប់នៅក្នុងតួរបស់ផ្នែកកាត់ (រូបភាព 38)។
-
ភ្ជាប់ឡាបឧបករណ៍លៃតម្រូវដោយប្រើរ៉ងសំប៉ែត និងខ្ចៅខ្ទាស់ (រូបភាព 38)។
-
មួលខ្ចៅខ្ទាស់ពី 20 ទៅ 27 N∙m ។
Note: ឡាបឧបករណ៍លៃតម្រូវរបាឃ្លុបមានក្រឡាដៃឆ្វេង។

-
ដាក់សមាសធាតុប្រឆាំងនឹងការចាប់យកទៅអំបោះរបស់វីសនៃប្រដាប់លៃតម្រូវរបាឃ្លុប ដែលសាកសមទៅនឹងដងនៃប្រដាប់លៃតម្រូវ។
-
ស៊កអំបោះរបស់វីសនៃប្រដាប់លៃតម្រូវរបាឃ្លុបទៅដងនៃប្រដាប់លៃតម្រូវ។
-
ដំឡើងធូរៗនូវ រ៉ងរឹង រឺស្ស័រ និងខ្ចៅបន្តឹងរឺស្ស័រទៅលើវីសនៃប្រដាប់លៃតម្រូវ។
-
ដំឡើងរបាឃ្លុប ដែលកំណត់ទីតាំងត្រចៀកចាប់រវាងរ៉ង និងប្រដាប់លៃតម្រូវរបាឃ្លុប។
-
រឹតរបាឃ្លុបទៅនឹងបន្ទះចំហៀងនីមួយៗជាមួយប៊ូឡុងរបាឃ្លុប (ខ្ចៅនៅលើប៊ូឡុង) និងរ៉ងចំនួន 6 ។
Note: កំណត់ទីតាំងរ៉ងនីឡុងនៅផ្នែកនីមួយៗរបស់ទ្រនាប់បន្ទះចំហៀង។
-
ដាក់រ៉ងដែកខាងក្រៅរ៉ងនីឡុងនីមួយៗ (រូបភាព 38)។
-
មួលប៊ូឡុងរបាឃ្លុបពី 37 ទៅ 45 N∙m ។
-
រឹតបន្តឹងខ្ចៅខ្ទាស់រហូតដល់រ៉ងដែកខាងក្រៅឈប់វិល និងចំណុចម៉ាកេត្រូវបានដកចេញ ប៉ុន្តែហាមរឹតបន្តឹងខ្លាំងពេកដែលធ្វើឲ្យបន្ទះចំហៀងផ្លាតចេញ។
Note: រ៉ងនៅផ្នែកខាងក្នុងប្រហែលជាមានគម្លាត (រូបភាព 38)។
-
រឹតបន្តឹងខ្ចៅនៅលើគ្រឿងផ្គុំនៃប្រដាប់លៃតម្រូវរបាឃ្លុបរហូតទាល់តែរឺស្ស័របណ្ណែន ត្រូវបានណែនយ៉ាងពេញលេញ បន្ទាប់មកបន្ធូរខ្ចៅកន្លះជុំ (រូបភាព 38)។
-
អនុវត្តទម្រង់ការនេះឡើងវិញនៅលើផ្នែកខាងចុងនៃផ្នែកកាត់ផ្សេងទៀត។
-
លៃតម្រូវឃ្លុបកាំបិតទៅនឹងដុំរមូរ សូមអាន ការលៃតម្រូវដងកាំបិតទៅដុំរមូរ។
ការជួសជុលរ៉ូឡូ
កញ្ចប់ប្រដាប់ប្រដារបង្កើតរ៉ូឡូឡើងវិញ (គ្រឿងបន្លាស់លេខ 114-5430) និងកញ្ចប់ឧបករណ៍បង្កើតរ៉ូឡូឡើងវិញ (គ្រឿងបន្លាស់លេខ 115-0803) (រូបភាព 39) អាចរកបានសម្រាប់ការបម្រើសេវាកម្មរ៉ូឡូ។ កញ្ចប់ប្រដាប់ប្រដារបង្កើតរ៉ូឡូឡើងវិញដាក់បញ្ចូលនូវរាល់បាដាង ខ្ចៅបាដាង សៀលខាងក្នុង និងសៀលខាងក្រៅដើម្បីបង្កើតរ៉ូឡូឡើងវិញ។ កញ្ចប់ឧបករណ៍បង្កើតរ៉ូឡូឡើងវិញដាក់បញ្ចូលនូវរាល់ឧបករណ៍ និងសេចក្ដីណែនាំអំពីការដំឡើងតម្រូវឱ្យមានការបង្កើតរ៉ូឡូឡើងវិញដោយប្រើកញ្ចប់ប្រដាប់ប្រដារបង្កើតរ៉ូឡូឡើងវិញ។ សូមអានសៀវភៅរាយឈ្មោះគ្រឿងបន្លាស់របស់អ្នក ឬទាក់ទងអ្នកចែកចាយផលិតផល Toro ដែលមានការអនុញ្ញាតសម្រាប់ជំនួយ។



ទាំងនេះ និងយកចិត្តទុកដាក់ចំពោះនិមិត្តសញ្ញាសុវត្ថិភាពជានិច្ចដែលមានន័យថាការប្រុងប្រយ័ត្ន
ការព្រមាន ឬគ្រោះថ្នាក់—សេចក្ដីណែនាំអំពីសុវត្ថិភាពផ្ទាល់ខ្លួន។
ការមិនអនុវត្តតាមការណែនាំទាំងនេះអាចបណ្ដាលឲ្យមានរបួសរាងកាយ ឬការស្លាប់។




















