ການບຳລຸງຮັກສາ
ການໃຊ້ຂາຄ້ຳໃນເວລາຍົກໜ່ວຍຕັດຂຶ້ນ
ທຸກຄັ້ງທີ່ຕ້ອງໄດ້ໃຊ້ໜ່ວຍຕັດເພື່ອສຳຜັດກັບແຜ່ນມີດ/ກຽວ, ໃຫ້ເປີດດ້ານຫຼັງຂອງໜ່ວຍຕັດກັບຂາຄ້ຳ (ໃຫ້ມາພ້ອມກັບລົດຕັດຫຍ້າ) ເພື່ອໃຫ້ແນ່ໃຈວ່ານັອດແມ່ຢູ່ດ້ານຫຼັງຂອງນັອດປັບແຖບແຜ່ນບໍ່ໄດ້ຢູ່ເທິງພື້ນທີ່ເຮັດວຽກ (ຮູບສະແດງ 23).

ການຫຼໍ່ລື່ນໜ່ວຍຕັດ
ໝັ່ນໃຫ້ຄວາມຫຼໍ່ລື່ນແກ່ຊິ້ນສ່ວນກະແລັດ 5 ອັນຂອງໜ່ວຍຕັດແຕ່ລະອັນດ້ວຍ (ຮູບສະແດງ 24) ນ້ຳມັນກະແລັດລີທຽມເບີ 2.
ມີຈຸດຫຼໍ່ລື່ນຢູ່ລູກກິ້ງທາງໜ້າ 2 ຈຸດ, ລູກກິ້ງທາງຫຼັງ 2 ຈຸດ ແລະ ຢູ່ຈຸດໂຄ້ງມໍເຕີ້ກຽວ 1 ຈຸດ.
Note: ລຸ້ນ 03192 ບໍ່ມີລູກກິ້ງດ້ານໜ້າ, ມີພຽງແຕ່ຈຸດໃສ່ນ້ຳມັນຫຼໍ່ລື່ນ 2 ຈຸດໃນລູກກິ້ງດ້ານຫຼັງ ແລະ 1 ຈຸດຢູ່ທີ່ສະຫຼັກມໍເຕີ້ກຽວ.
Important: ການຫຼໍ່ລື່ນໜ່ວຍຕັດທັນທີຫຼັງຈາກລ້າງຈະຊ່ວຍຊັບນ້ຳອອກຈາກລູກບີ່ ແລະ ເພີ່ມອາຍຸການໃຊ້ງານຂອງລູກບີ່.
-
ເຊັດຊິ້ນສ່ວນນ້ຳມັນກະແລັດແຕ່ລະອັນດ້ວຍຜ້າທີ່ສະອາດ.
-
ທານ້ຳມັນກະແລັດໃສ່ຈົນກວ່າຈະມີນ້ຳມັນກະແລັດທີ່ສະອາດອອກມາຈາກຕົວອັດລູກກິ້ງ ແລະ ວາວລະບາຍແຮງດັນລູກບີ່.
-
ເຊັດນ້ຳມັນກະແລັດສ່ວນເກີນອອກ.

ການເຈຍສ່ວນນູນອອກມາຂອງກົງໝູນ
ກົງໝູນໃໝ່ມີໜ້າກ້ວາງ 1.3 ເຖິງ 1.5 ມມ (0.050 ເຖິງ 0.060 ນິ້ວ) ແລະ ການເຈຍສ່ວນນູນອອກມາ 30°.
ເມື່ອໜ້າກວ້າງນັ້ນກວ້າງກວ່າ 3 ມມ (0.120 ນິ້ວ), ໃຫ້ເຮັດດັ່ງຕໍ່ໄປນີ້:
-
ນຳໃຊ້ການເຈຍສ່ວນນູນອອກມາ 30° ໃນໃບມີດກົງໝູນທຸກໃບຈົນກ່ວາໜ້າກວ້າງເປັນ 1.3 ມມ (0.050 ນິ້ວ) (ຮູບສະແດງ 25).

-
ໝູນການເຈຍກົງໝູນໃຫ້ບັນລຸກົງໝູນໝົດ <0.025 ມມ (0.001 ນິ້ວ).
Note: ນີ້ເຮັດໃຫ້ໜ້າກວ້າງເພີ່ມຂຶ້ນເລັກນ້ອຍ.
Note: ເພື່ອຍືດອາຍຸການໃຊ້ງານຂອງຄວາມຄົມຂອງຂອບຂອງກົງໝູນ ແລະ ມີດນອນ, ຫຼັງຈາກໄດ້ເຈຍກົງໝູນ ແລະ/ຫຼື ມີດນອນ, ໃຫ້ກວດເບິ່ງການສຳຜັດຂອງກົງໝູນຫາມີດນອນອີກຄັ້ງຫຼັງຈາກການຕັດຫຍ້າທາງສະໜາມກັອຟ 2 ຄັ້ງ, ເພາະວ່າຈະມີການລົບສ້ຽນອອກ, ເຊິ່ງອາດຈະເຮັດໃຫ້ກົງໝູນກັບມີດນອນມີໄລຍະບໍ່ຖືກຕ້ອງ ແລະ ເລັ່ງໃຫ້ມີການຫຼຸ້ຍຫ້ຽນໄວ.
-
ການໃຊ້ແມັດແທກເສັ້ນຜ່າກາງ, ວັດແທກເສັ້ນຜ່າກາງດ້ານນອກຂອງກົງໝູນຢູ່ທັງສອງດ້ານ (ຮູບສະແດງ 26); ຄວາມແຕກຕ່າງຢູ່ເສັ້ນຜ່າກາງດ້ານນອກລະຫວ່າງສົ້ນຄວນຈະໜ້ອຍກວ່າ 0.250 ມມ (0.010 ນິ້ວ). ຖ້າຄວາມແຕກຕ່າງຫຼາຍກວ່ານັ້ນ, ຝົນເພື່ອປັບຄວາມແຕກຕ່າງໃຫ້ຖືກຕ້ອງ.
Note: ແມັດແທກເສັ້ນຜ່າກາງດ້ານນອກແມ່ນມີໃຫ້ຢູ່ນຳຜູ້ຈຳໜ່າຍ Toro ທີ່ໄດ້ຮັບອະນຸຍາດຂອງທ່ານ.

ການຕິດຕັ້ງສ່ວນປະກອບຫົວເພົາດ້ານໜ້າສຳລັບສຳລັບການລັບກົງໝູນ
Important: ທ່ານຕ້ອງສັ່ງອາໄຫຼ່ຕໍ່ໄປນີ້ເພື່ອໃຫ້ສາມາດຈັດໜ່ວຍຕັດເຂົ້າກັບເຄື່ອງຈັກລັບກົງໝູນໄດ້ຄື:
| ຈຳນວນ | ອາໄຫຼ່ | ອາໄຫຼ່ເລກທີ |
| 2 | ຂາຄ້ຳ HOC ດ້ານໜ້າ | 125-2796 |
| 2 | ນັອດຕົວຜູ້ຮອງຮັບ (⅜ x 1-½ ນິ້ວ) | 3231-4 |
| 2 | ນັອດລັອກຕົວແມ່ (⅜ ນິ້ວ) | 104-8301 |
| 2 | ນັອດຕົວຜູ້ຮອງຮັບ (5/16 x 1-⅛ ນິ້ວ) | 322-16 |
| 1 | ເພົາກົງໝູນດ້ານໜ້າ | 117-0957 |
-
ເອົາສ່ວນປະກອບກົງໝູນອອກ (ຖ້າຕິດຕັ້ງມານຳ), ໃຫ້ເບິ່ງ ການປັບສ່ວນປະກອບລູກກິ້ງ.
-
ການໃຊ້ນັອດຕົວຜູ້ຮອງຮັບ ແລະ ນັອດລັອກຕົວແມ່, ຕົວຕິດຂາຄ້ຳ HoC ດ້ານໜ້າໃສ່ຮູດ້ານເທິງສຸດຂອງແຜ່ນດ້ານຂ້າງ (ຮູບສະແດງ 27).
Important: ໃຫ້ແນ່ໃຈວ່າຂາຄ້ຳ HOC ຖືກຕິດຕັ້ງດ້ວຍນັອດຕົວຜູ້ຮອງຮັບຢູ່ດ້ານເທິງຂອງຊ່ອງ, ເພື່ອໃຫ້ຂາຄ້ຳຕ່ຳລົງເທົ່າທີ່ຈະຕ່ຳໄດ້.

-
ຕິດຕັ້ງເພົາໃສ່ພື້ນຂອງຂາຄ້ຳ HOC ດ້ວຍການໃຊ້ນັອດຕົວຜູ້ຫົວຫົກຫຼ່ຽມ 2 ນັອດ.
-
ໃຫ້ແນ່ໃຈວ່າເພົາຂະໜານກັບໜ່ວຍຕັດ; ຖ້າມນບໍ່ຂະໜານ, ມາຍນັອດຕົວຜູ້ຮອງຮັບຢູ່ດ້ານຕ່ຳລົງໃຫ້ຫຼວມ ແລະ ຮັດມັນອີກໃຫ້ແໜ້ນເມື່ອເພົາຂະໜານ.
ການບຳລຸງຮັກສາມີດນອນ
ຂີດຈຳກັດການເຮັດວຽກຂອງມີດນອນແມ່ນລະບຸໄວ້ຢູ່ໃນຕາຕະລາງດັ່ງຕໍ່ໄປນີ້.
Important: ການໃຊ້ງານໜ່ວຍຕັດດ້ວຍມີດນອນທີ່ຕ່ຳກວ່າຂີດຈຳກັດການໃຊ້ງານອາດຈະສົ່ງຜົນກະທົບຕໍ່ປະສິດທິພາບການຕັດທີ່ບໍ່ດີ ແລະ ຫຼຸດຄວາມສົມບູນຂອງໂຄງສ້າງຂອງມີດນອນສຳລັບການກະທົບ.
| ຕາຕະລາງຂີດຈຳກັດການເຮັດວຽກຂອງມີດນອນ (ມີດນອນການຜະລິດ) | ||||
| ມີດນອນ | ອາໄຫຼ່ເລກທີ | ລວງສູງຂອງຂອບມີດນອນ | ຂີດຈຳກັດການເຮັດວຽກ* | ມູມການຝົນທາງເທິງ/ທາງໜ້າ |
| ລວງສູງຂອງການຕັດ (HOC) ຕ່ຳ | 120-1641 (68.6 ຊມ (27 ນິ້ວ)) | 5.6 ມມ (0.220 ນິ້ວ) | 4.8 ມມ (0.190 ນິ້ວ) | 10/5° |
| 120-1642 (81.3 ຊມ (32 ນິ້ວ)) | ||||
| EdgeMax® | 137-6095 (68.6 ຊມ (27 ນິ້ວ)) | 6.9 ມມ (0.270 ນິ້ວ) | 4.8 ມມ (0.190 ນິ້ວ) | 10/5° |
| ມາດຕະຖານ | 114-9388 (ລຸ້ນ 03189/90, 69 ຊມ (27 ນິ້ວ)) | 6.9 ມມ (0.270 ນິ້ວ) | 4.8 ມມ (0.190 ນິ້ວ) | 10/5° |
| 114-9389 (ລຸ້ນ 03191, (81.3 ຊມ (32 ນິ້ວ))) | ||||
| ໃຊ້ງານໜັກ | 114-9390 (ລຸ້ນ 03192, 69 ຊມ (27 ນິ້ວ)) | 9.3 ມມ (0.370 ນິ້ວ) | 4.8 ມມ (0.190 ນິ້ວ) | 10/5° |
| 114-9391 (81.3 ຊມ (32 ນິ້ວ)) | ||||

Note: ການວັດແທກຂີດຈຳກັດການສ້ອມແປງບຳລຸງຮັກຂອງມີດນອນທັງໝົດກ່ຽວຂ້ອງດ້ານລຸ່ມຂອງມີດນອນ (ຮູບສະແດງ 29).

ການກວດສອບມູມເຈຍດ້ານເທິງສຸດ
ມູມທີ່ທ່ານໃຊ້ໃນການເຈຍມີດນອນຂອງທ່ານແມ່ນມີຄວາມສຳຄັນຫຼາຍ.
ໃຊ້ຕົວຊີ້ວັດມູມ (ອາໄຫຼ່ Toro ເລກທີ 131-6828) ແລະ ມູມຊີ້ບອກການຕິດ (ອາໄຫຼ່ Toro ເລກທີ 131-6829) ເພື່ອກວດກາມູມທີ່ເຄື່ອງເຈຍຂອງທ່ານຜະລິດ ແລະ ຫຼັງຈາກນັ້ນແກ້ໄຂໃຫ້ຖືກຕ້ອງສຳລັບຄວາມບໍ່ຖືກຕ້ອງຂອງເຄື່ອງເຈຍ.
-
ວາງຕົວຊີ້ວັດມູມຢູ່ທາງລຸ່ມຂອງມີດນອນຕາມທີ່ສະແດງຢູ່ໃນ ຮູບສະແດງ 30.

-
ກົດປຸ່ມ Alt Zero ເທິງຕົວຊີ້ວັດມູມ.
-
ວາງຕົວຊີ້ວັດມູມທີ່ຕັ້ງຢູ່ເທິງຂອບຂອງມີດນອນເພື່ອໃຫ້ຂອບຂອງແມ່ເຫຼັກເຂົ້າກັບຂອບຂອງມີດນອນ (ຮູບສະແດງ 31).
Note: ຈໍສະແດງຜົນດິຈິຕອນຄວນຈະສາມາດເບິ່ງເຫັນໄດ້ຈາກຂ້າງດຽວກັນໃນລະຫວ່າງຂັ້ນຕອນນີ້ຄືກັບວ່າມັນຢູ່ໃນຂັ້ນຕອນ 1.

-
ວາງຕົວຊີ້ບອກມູມຢູ່ບ່ອນທີ່ຕິດດັ່ງທີ່ສະແດງຢູ່ໃນ ຮູບສະແດງ 31.
Note: ນີ້ແມ່ນມູມທີ່ເຄື່ອງເຈຍຂອງທ່ານຜະລິດ ແລະ ຄວນຢູ່ພາຍໃນ 2° ຂອງມູມເຈຍດ້ານເທິງສຸດທີ່ໄດ້ແນະນຳ.
ການສ້ອມບຳລຸງຄານຮອງ
ການຍົກຍ້າຍຄານຮອງ
-
ຫັນນັອດກຽວແມ່ຕົວປັບຄານຮອງໄປທາງກົງກັນຂ້າມກັບເຂັມໂມງເພື່ອຖອດມີດນອນອອກຈາກກົງໝູນ (ຮູບສະແດງ 32).

-
ດຶງນັອດສະປິງອອກຈົນກວ່າແຫວນແປບໍ່ມີຄວາມເຄັ່ງຕຶງອີກຕໍ່ໄປກັບຄານຮອງ (ຮູບສະແດງ 32).
-
ຢູ່ແຕ່ລະຂ້າງຂອງເຄື່ອງ, ມາຍນັອດລັອກແມ່ທີ່ຕິດກັບສະລັກກຽວຄານຮອງ (ຮູບສະແດງ 33).

-
ຖອດສະຫຼັກຄານຮອງແຕ່ລະອັນອອກເພື່ອໃຫ້ຄານຮອງຖືກດຶງລົງມາ ແລະ ເອົາອອກຈາກສະຫຼັກກຽວເຄື່ອງຈັກ (ຮູບສະແດງ 33). ເອົາໃຈໃສ່ຕໍ່ກັບແຫວນແປໄນລ້ອນ 2 ອັນ ແລະ ແຫວນແປເຫຼັກ 1 ອັນໃນແຕ່ລະດ້ານຂອງຄານຮອງ (ຮູບສະແດງ 34).

ການປະກອບຄານຮອງ
-
ຕິດຕັ້ງຄານຮອງ, ວາງຕຳແໜ່ງຫູຈັບລະຫວ່າງແຫວນແປ ແລະ ຕົວປັບຄານຮອງ.
-
ຕິດຄານຮອງໃນແຕ່ລະແຜ່ນດ້ານຂ້າງທີ່ມີສະລັກກຽວຄານຮອງ (ນັອດແມ່ເທິງສະລັກກຽວ) ແລະ ແຫວນແປ 6 ອັນ.
-
ວາງຕຳແໜ່ງແຫວນແປໄນລ້ອນຢູ່ແຕ່ລະຂ້າງຂອງປຸ່ມແຜ່ນດ້ານຂ້າງ.
-
ວາງແຫວນແປເຫຼັກຢູ່ດ້ານນອກຂອງແຫວນແປໄນລ້ອນ (ຮູບສະແດງ 34).
Note: ບິດນັອດກຽວມີຫົວໃຫ້ໄດ້ 37 ຫາ 45 N∙m (27 ເຖິງ 33 ft-lb). ຫັນນັອດລັອກຈົນກວ່າແຫວນແປເຫຼັກດ້ານນອກຢຸດໝູນ ແລະ ໄດ້ຖອດຊ່ອງຫວ່າງຂອງເພົາອອກ, ແຕ່ຢ່າຫັນ ຫຼື ໝູນແຜ່ນດ້ານຂ້າງແໜ້ນຈົນເກີນໄປ. ແຫວນແປຢູ່ທາງໃນອາດມີຊ່ອງຫວ່າງ.
-
ຫັນນັອດສະປິງໃຫ້ແໜ້ນຈົນກ່ວາສະປິງຍຸບລົງ, ຫຼັງຈາກນັ້ນໝູນກັບຄືນ ½ ຄັ້ງ (ຮູບສະແດງ 35).

ການຕິດຕັ້ງມີດນອນ
-
ກຳຈັດຂີ້ໝ້ຽງ, ຄາບເກາະຕິດ ແລະ ການກັດກ່ອນອອກຈາກພື້ນຜີວຂອງຄານຮອງ ແລະ ທານ້ຳມັນບາງໆໃສ່ພື້ນຜິວຂອງຄານຮອງ.
-
ທຳຄວາມສະອາດກຽວ.
-
ທາສ່ວນປະສົມທີ່ຕ້ານການຍຶດຕິດໃສ່ນັອດກຽວ ແລະ ຕິດຕັ້ງມີດນອນໃສ່ຄານຮອງດັ່ງຕໍ່ໄປນີ້ (ຮູບສະແດງ 36):

-
ເຈຍມີດນອນ.
ການບຳລຸງຮັກສາຕົວປັບຈຸດສອງດ້ານ (DPA) ແບບ HD
-
ຖອດອາໄຫຼ່ທັງໝົດອອກ (ໃຫ້ເບິ່ງ ຄຳແນະນຳການຕິດຕັ້ງ ສຳລັບຊຸດອຸປະກອນ DPA HD ແລະ ເພື່ອ ຮູບສະແດງ 38).
-
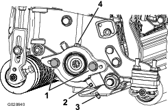
ທາສ່ວນປະສົມທີ່ຕ້ານການຍຶດຕິດໃສ່ບໍລິເວນນັອດໃນໂຄງທາງກາງຂອງໜ່ວຍຕັດ (ຮູບສະແດງ 38).
-
ຈັດຕຳແໜ່ງກະແຈໃສ່ໃນປອກເຫຼັກແປໃນໂຄງ ແລະ ຕິດຕັ້ງປອກເຫຼັກ (ຮູບສະແດງ 38).
-
ໃສ່ແຫວນຮອງຮູບຄື້ນໃນຕົວປັບເພົາ ແລະ ເລື່ອນຕົວປັບເພົາເຂົ້າໄປໃນປອກເຫຼັກແປໃນໂຄງຂອງໜ່ວຍຕັດ (ຮູບສະແດງ 38).
-
ຍຶດເພົາຕົວປັບກັບແຫວນພຽງ ແລະ ນັອດລັອກ (ຮູບສະແດງ 38).
-
ບິດນັອດລັອກໃຫ້ໄດ້ 20 ຫາ 27 N∙m (15 ເຖິງ 20 ft-lb).
Note: ເພົາຕົວປັບຄານຮອງມີກຽວເບື້ອງຊ້າຍມື.

-
ທາສ່ວນປະສົມທີ່ຕ້ານການຍຶດຕິດໃສ່ກຽວຂອງນັອດກຽວຕົວປັບຄານຮອງທີ່ພໍດີກັບກັບເພົາຕົວປັບປ່ຽນ.
-
ຫັນນັອດກຽວຕົວປັບຄານຮອງໃສ່ກັບເພົາຕົວປັບປ່ຽນ.
-
ໃສ່ແຫວນແປໜາ, ສະປິງ ແລະ ນັອດສະປິງແບບຫຼວມໆໃນນັອດກຽວຕົວປັບປ່ຽນ.
-
ຕິດຕັ້ງຄານຮອງ, ວາງຕຳແໜ່ງຫູຈັບລະຫວ່າງແຫວນແປ ແລະ ຕົວປັບຄານຮອງ.
-
ຕິດຄານຮອງໃນແຕ່ລະແຜ່ນດ້ານຂ້າງທີ່ມີສະລັກກຽວຄານຮອງ (ນັອດແມ່ເທິງສະລັກກຽວ) ແລະ ແຫວນແປ 6 ອັນ.
Note: ວາງຕຳແໜ່ງແຫວນແປໄນລ້ອນຢູ່ແຕ່ລະຂ້າງຂອງປຸ່ມແຜ່ນດ້ານຂ້າງ.
-
ວາງແຫວນແປເຫຼັກຢູ່ດ້ານນອກຂອງແຫວນແປໄນລ້ອນ (ຮູບສະແດງ 38).
-
ບິດນັອດກຽວມີຫົວໃຫ້ໄດ້ 37 ຫາ 45 N∙m (27 ເຖິງ 33 ft-lb).
-
ຫັນນັອດລັອກຈົນກວ່າແຫວນແປເຫຼັກດ້ານນອກຢຸດໝູນ ແລະ ໄດ້ຖອດຊ່ອງຫວ່າງຂອງເພົາອອກ ແຕ່ຢ່າຫັນ ຫຼື ໝູນແຜ່ນດ້ານຂ້າງແໜ້ນຈົນເກີນໄປ.
Note: ແຫວນແປຢູ່ທາງໃນອາດມີຊ່ອງຫວ່າງ (ຮູບສະແດງ 38).
-
ຫັນນັອດໃນສ່ວນປະກອບຕົວປັບຄານຮອງແຕ່ລະອັນໃຫ້ແໜ້ນຈົນກ່ວາສະປິງຍຸບລົງ, ຫຼັງຈາກນັ້ນໝູນກັບຄືນ ½ ຄັ້ງ (ຮູບສະແດງ 38).
-
ເຮັດຊ້ໍາຄືນຂັ້ນຕອນນີ້ກັບປາຍຂອງໜ່ວຍຕັດອື່ນໆ.
-
ປັບມີດນອນຫາກົງໝູນ; ໃຫ້ເບິ່ງ ການປັບມີດນອນກັບກົງໝູນ .
ການບຳລຸງຮັກສາລູກກິ້ງ
ອຸປະກອນປະກອບລູກກິ້ງ (ອາໄຫຼ່ເລກທີ 114-5430) ແລະ ອຸປະກອນເຄື່ອງມືປະກອບລູກກິ້ງ (ອາໄຫຼ່ເລກທີ 115-0803) (ຮູບສະແດງ 39) ແມ່ນມີໃຫ້ສຳລັບການບຳລຸງຮັກສາລູກກິ້ງ. ອຸປະກອນປະກອບລູກກິ້ງລວມມີຝາຮອງ, ນັອດຝາຮອງ, ຕົວກັນຊຶມດ້ານໃນ ແລະ ດ້ານນອກທຸກຢ່າງເພື່ອປະກອບກົງໝູນ. ຊຸດອຸປະກອນເຄື່ອງມືປະກອບລູກກິ້ງລວມມີເຄື່ອງມືທັງໝົດ ແລະ ຄຳແນະນຳການຕິດຕັ້ງທີ່ຈຳເປັນຕໍ່ກັບການປະກອບກົງໝູນດ້ວຍຊຸດອຸປະກອນປະກອບກົງໝູນ. ເບິ່ງລາຍການອາໄຫຼ່ຂອງທ່ານ ຫຼື ຕິດຕໍ່ຫາຕົວແທນ Toro ທີ່ໄດ້ຮັບອະນຸຍາດຂອງທ່ານເພື່ອຂໍຄວາມຊ່ວຍເຫຼືອ.



, ເຊິ່ງໝາຍເຖິງຂໍ້ຄວນລະວັງ,
ຄຳເຕືອນ ຫຼື ອັນຕະລາຍ, ເຊິ່ງກໍ່ແມ່ນຄຳແນະນຳຄວາມປອດໄພສ່ວນບຸກຄົນ. ການບໍ່ປະຕິບັດຕາມຄຳແນະນຳເຫຼົ່ານີ້ອາດຈະເຮັດໃຫ້ມີການບາດເຈັບສ່ວນຕົວ
ຫຼື ເສຍຊີວິດ.




















