![]() |
Bezbednosne nalepnice i uputstva su lako vidljivi operateru i nalaze se u blizini svakog dela sa potencijalnom opasnošću. Zamenite svaku nalepnicu koja je oštećena ili nedostaje. |




Parkirajte mašinu na ravnoj površini.
Aktivirajte parkirnu kočnicu.
Podignite ili skinite tovarni prostor sa mašine (ako je opremljena sa njim).
Note: Pogledajte Uputstvo za operatera za detaljnije informacije o podizanju i skidanju tovarnog prostora.
Zaustavite motor i uklonite ključ.
Raskačite akumulator; pogledajte Uputstvo za operatera.
Držeći haubu na otvorima za prednja svetla, podignite haubu kako biste otpustili donje montažne držače iz žlebova na braniku (Слика 1).

Vucite donji deo haube nagore dok ne budete mogli da izvučete gornje montažne držače iz žlebova rama (Слика 1).
Vucite gornji deo haube napred i izvucite konektore za žice iz svetala (Слика 1).
Skinite haubu.
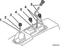
Skinite svu dugmad sa ručica na konzoli i sa ručice menjača tako što ćete ih okretati u smeru suprotnom kazaljki (Слика 4).

Odvrnite 4 vijka sa šestougaonom glavom koja pričvršćuju poklopac indikatora brzine za pokrov sedišta (Слика 5).

Podignite indikator brzine, razdvojte konektor indikatora od konektora svežnja kablova i skinite poklopac indikatora sa mašine (Слика 5).
Odvrnite 6 vijaka sa šestougaonom glavom koji pričvršćuju pokrov upravljačke opreme za pokrov sedišta i skinite pokrov upravljačke opreme (Слика 5).
Odvrnite 8 zavrtanja sa upuštenom glavom koji pričvršćuju šine od sedišta za šasiju i skinite sedišta (Слика 6).

Skinite stezaljku za crevo koja pričvršćuje CVT rashladni vod za prirubnicu CVT usisa na zadnjem delu ROPS panela na strani suvozača (Слика 7).

Podignite rezervoar za rashladnu tečnost i izvadite je iz nosećeg džepa koji se nalazi na zadnjem delu pokrova sedišta (Слика 8).

Postavite rezervoar za rashladnu tečnost uspravno na motor/šasiju.
Za Workman HDX mašine:
Aktivirajte parkirnu kočnicu (Слика 11).

Pomerite šipku za diferencijalnu blokadu napred i nadesno kako biste je blokirali u aktiviranom položaju (Слика 11).
Za Workman HDX-Auto mašine:
Izvucite konektor indikatora brzine iz svežnja kablova mašine (Слика 12).

Podignite i zarotirajte sklop centralne upravljačke opreme kako biste ga sklonili i dobili pristup oprugama vešanja.
Obe mašine:
Podignite pokrov sedišta i skinite ga sa mašine (Слика 13).

Za Workman HDX-Auto mašine:
Odvrnite zavrtnje koji pričvršćuju samohodni ventil za nosač upravljačke opreme i navrtnje i zavrtnje koji pričvršćuju nosač upravljačke opreme za mašinu (Слика 14).

Mašina na dizalici može biti nestabilna i skliznuti sa dizalice, povredivši svakoga ko je ispod nje.
Nemojte pokretati mašinu dok je mašina na dizalici jer bi vibracije motora ili pomeranje točkova mogli dovesti do toga da dođe do spadanja sa dizalice.
Uvek uklonite ključ iz prekidača kontakta pre napuštanja mašine.
Blokirajte točkove kada je mašina na dizalici.
Nemojte raditi ispod mašine bez držača dizalice koji joj daju potporu. Mašina bi mogla da sklizne sa dizalice i da povredi svakoga ko je ispod nje.
Kada podižete prednji deo mašine, stavite drvenu klocnu dimenzija 2 × 4 (ili sličan materijal) između dizalice i rama mašine.
Mesto za dizalicu na prednjem delu mašine se nalazi ispod prednjeg, centralnog nosača rama (Слика 15).

Делови потребни за овај поступак:
| Kompresiona opruga (crna) | 2 |
Korišćenje kompresione opruge kako je navedeno u Слика 17, montaža šipke kompresione opruge kroz otvore u svakom nosaču opruge (Слика 18).
Important: Budite pažljivi prilikom skidanja nosača opruge; opruga je pod kompresijom.


Izmerite i zabeležite dužinu opruga.
Postavite navrtnje i podloške na oba kraja šipke (Слика 19).

Dotegnite 1 navrtanj na svaku šipku kako biste pričvrstili opruge (Слика 19).
Odvrnite zavrtnje i navrtnje sa kraja svake veze stabilizatora (A od Слика 20).
Odvrnite zavrtnje i navrtnje sa upravljačke ruke svakog nosača opruge (B od Слика 20).
Skinite nosače opruge i opruge sa mašine (C od Слика 20).
Note: Obratite pažnju na položaj nalepnica na nosačima opruge. Nosači se moraju vratiti na isto mesto.

Skinite sadašnje opruge sa nosača opruge i stavite opruge iz ove opreme (crne opruge) u nosače opruge.
Koristite šipku kompresione opruge kako biste izvršili kompresiju opruga do veličina koje su uzete u koraku 2.
Postavite opruge i nosač natrag u mašinu.
Montirajte prethodno odvrnute zavrtnje i navrtnje iz veza stabilizatora i upravljačke ruke.
Montirajte prednje točkove i spustite mašinu.
Dotegnite matice momentom od 109 do 122 N∙m.
Делови потребни за овај поступак:
| Unutrašnji branik | 1 |
| Remen branika | 2 |
| Zavrtanj sa prirubnicom sa šestougaonom glavom (¼ × ¾") | 6 |
| Navrtanj sa prirubnicom (¼") | 8 |
| Gumeni branik | 2 |
| Podloška | 2 |
| Vezica | 2 |
Uklopite remen branika na donjoj ivici rama osnove sedište i koristite remene branika kao šablon kako biste obeležili i izbušili 3 rupe (5/16") na svakoj strani rama osnove sedišta (Слика 21).

Postavite unutrašnji branik i remene branika koristeći 6 zavrtanja sa prirubnicom sa šestougaonom glavom (¼ × ¾") i 6 navrtanja sa prirubnicom prirubnica (¼") kako je prikazano na Слика 22.

Presavijte poklopac i gurnite poklopac iza prirubnice na podu (Слика 23).
Pričvrstite poklopac sa 2 vezice oko centralne cevi rama (Слика 23).

Postavite gumeni branik koristeći podlošku i navrtanj sa prirubnicom (¼") na svakoj strani (Слика 24).

Делови потребни за овај поступак:
| Sklop levog nosača | 1 |
| Sklop desnog nosača | 1 |
| Zavrtanj za podešavanje (⅜ × 2") | 2 |
| Šestougaonin navrtanj (⅜") | 2 |
| Zavrtanj sa prirubnicom sa šestougaonom glavom (⅜ × 1") | 4 |
| Navrtanj sa prirubnicom (⅜") | 4 |
| Prednji nosač kabine | 2 |
| Zavrtanj sa šestougaonom glavom (7/16") | 2 |
| Noseća podloška | 2 |
| Kontranavtanj (½") | 2 |
| Gumena izolacija | 2 |
| Raspinjač | 2 |
| Podloška | 2 |
| Kontranavrtka | 2 |
| Zavrtanj sa prirubnicom (½ × 2¼") | 2 |
Montirajte zadnje nosače na mašinu (Слика 25) koristeći opremu koja je skinuta sa ROPS-a u Skidanje ROPS sklopa.

Dotegnite navrtnje momentom od 94 do 108 N∙m.
Montirajte sklop levog nosača i sklop desnog nosača na prednje nosače kabine koristeći 2 zavrtnja sa prirubnicom sa šestougaonom glavom (⅜ × 1") i 2 navrtnja sa prirubnicom (⅜") na svakoj strani (Слика 26).
Koristite centralne rupe kod sklopa nosača prilikom montaže.
Postavite zavrtanj za podešavanje (⅜ × 2") i heksagonalni navrtanj (⅜") na sklop levog nosača i sklop desnog nosača na svakoj strani mašine (Слика 26).

Montirajte prednje nosače kabine koristeći zavrtanj sa šestougaonom glavom (7/16"), noseću podlošku i kontranavrtku (½") na svakoj strani (Слика 27).

Postavite 2 gumene izolacije koristeći zavrtanj sa prirubnicom (½ × 2¼"), raspinjač, podlošku i kontranavrtanj na svakoj strani.Слика 28
Note: Koristite sapunicu kao pomoć prilikom montaže nosača.

Obe mašine:
Uklopite otvor na pokrovu sedišta za parkirnu kočnicu sa ručicom parkirne kočnice.
Uklopite rupu na navlaci za selektor brzina sa šipkom za selektor brzina.
Uklopite otvor na pokrovu sedišta za šipke za upravljanje podizačem tovarnog prostora, menjač za povećavanje i smanjivanje brzine i diferencijalnu blokadu.
Spustite pokrov sedišta.
Uklopite rupe na pokrovu za montažu sedišta sa nosačima za sedište na šasiji.
Nemojte dotezati zavrtnje.
Ubacite indikator brzine i pričvrstite nosač upravljačke opreme sa vijcima (Слика 12 i Слика 14) koji su skinuti na Skidanje pokrova sedišta.
Important: Ovaj korak važi samo za mašine Workman HDX-Auto.
Делови потребни за овај поступак:
| Bočni panel | 2 |
| Ram kabine | 1 |
| Zavrtanj (½") | 4 |
| Podloška (½") | 4 |
| Navrtanj (½") | 4 |
| Donja zaptivka table | 1 |
Olabavite zavrtnje na branicima otprilike 1 okretom kako biste napravili prostor da se bočni paneli ubace na svoje mesto.
Ubacite bočne panele između pokrova sedišta i bočnih branika (Слика 29).
Note: Proverite da su paneli ušli do kraja pre dotezanja zavrtanja.

Dotegnite zavrtnje na branicima.
Note: Nemojte previše dotegnuti zavrtnje.
Postavite donju zaptivku table na kabinu (Слика 30).
Proverite da li ste zaptivku postavili tako da je duža usna prema napred (Слика 30).

Držite ram kabine koristeći tačke za podizanje i stavite ga na mašinu (Слика 31).
Note: Pre spuštanja kabine na mašinu, nanesite sapunicu na tablu kako bi donja zaptivka bila podmazana.
Note: Proveravajte da se prednje i zadnje usne na donjoj zaptivki table ne uviju tokom montaže.

Pričvrstite ram za mašinu koristeći 4 zavrtnja (½"), 4 podloške (½") i 4 navrtnja (½") kako je prikazano na Слика 32.
Note: Nemojte dotezati 4 zavrtnja (½").

Podesite kabinu od strane do strane kako biste obezbedili da je kabina centrirana.
Koristite zavrtanj za podešavanje (Слика 26) za centriranje kabine.
Dotegnite 4 navrtnja (½") momentom od 91 do 113 N∙m.
Делови потребни за овај поступак:
| Svežanj žica | 1 |
| Vezice | 4 |
| Osigurač (30 A) | 1 |
Trasirajte svežanj žica kako je prikazano na Слика 33 i pričvrstite ga sa 4 vezice.

Povežite okastu papučicu na svežnju sa kućištem za uzemljenje i ubacite konektor kućišta osigurača u raspoloživu konekciju za kućište osigurača (Слика 34).
Note: Ako nema raspoložive konekcije za kućište osigurača, morate dodati kućište osigurača u grupaciju kućišta osigurača. Za detalje se obratite ovlašćenom prodavcu.

Делови потребни за овај поступак:
| Zadnja ploča | 1 |
| Podesna ploča | 1 |
| Vijak sa glavom (½ × 4") | 1 |
| Navrtanj sa prirubnicom (½") | 1 |
| Zaustavna ploča | 1 |
| Zavrtanj sa poluokruglom kapom (¼ × 1¾") | 4 |
| Navrtanj sa prirubnicom (¼") | 4 |
Izmerite 20,7 cm nalevo od donje ivice nosača haube i obeležite to mesto (Слика 35).

Postavite podesnu ploču i zadnju ploču na cev nosača table koristeći 4 zavrtnja sa poluokruglom kapom (¼ × 1¾") i navrtnje sa prirubnicom (¼") kako je prikazano na Слика 36.

Postavite vijak sa glavom (½ × 4"), navrtanj sa prirubnicom (½") i zaustavnu ploču na podesnu ploču (Слика 37).

Zatvorite zazor između table i kabine podešavajući vijak sa glavom (½ × 4") dok se zaustavna ploča potiskuje nagore na tabli (Слика 38).

Делови потребни за овај поступак:
| Kanalica za vodu | 1 |
| Providno crevo na strani suvozača – 122 cm | 1 |
| Providno crevno na strani vozača – 43 cm | 1 |
| Providno crevo na podu – 33 cm | 1 |
| T-spojnica | 1 |
| Samolepljivi nosač vezice | 3 |
| Vezica | 3 |
Odvrnite 5 zavrtanja sa šestougaonom glavom i podloškom iz table (Слика 39).
Zadržite 5 zavrtanja sa šestougaonom glavom i podloškom.

Provucite kanalicu za vodu između table mašine i strukture ispod rama i pričvrstite kanalicu koristeći prethodno odvrnutih 5 zavrtanja sa šestougaonom glavom i podloškom (Слика 40).

Koristeći makaze za lim, skinite metalni deo sa svake strane kanalice (Слика 41).

Povežite providno crevo od 122 cm sa providnim crevom od 33 cm i providno crevo od 43 cm koristeći T-priključak (Слика 42).

Počevši od strane suvozača, trasirajte povezano providno crevo nadole kroz pod (sa papučicom za kvačilo) do vozačeve strane mašine (Слика 43).
Pričvrstite povezano providno crevo sa 3 samolepljiva nosača vezice i 3 vezice (Слика 43).

Stegnite svaki kraj providnog creva i odsecite ga pod uglom od 45° (Слика 44).
Izravnjajte providno crevo sa dnom kanalice za vodu tako da vrh ugla bude prema spolja mašine i postavite ga (Слика 44).

Делови потребни за овај поступак:
| Paneli za pod | 2 |
| Bočni panel | 2 |
| Zavrtanj (¼") | 12 |
Montirajte panele za pod na svakoj strani mašine koristeći 3 zavrtnja (¼¨) kako je prikazano na Слика 45.

Dotegnite zavrtnje momentom od 1017 do 1243 N∙m.
Montirajte bočne panele na svakoj strani mašine koristeći 2 zavrtnja (¼") kako je prikazano na Слика 46.

Dotegnite zavrtnje momentom od 1017 do 1243 N∙m.
Делови потребни за овај поступак:
| Zavrtanj (¼") | 2 |
| Raspinjač | 2 |
| Držač | 1 |
| Navrtanj (¼") | 2 |
| Sklop haube sa CVT usisom (prodaje se odvojeno) | 1 |
Montirajte crevo Uputstva za operatera (Слика 47).

Uparite rupe na šinama za sedište sa rupama na pokrovu za položaj montaže sedišta (Слика 6).
Pričvrstite sedišta za šasiju sa 8 zavrtanja sa upuštenom glavom (Слика 6) koje ste skinuli u koraku Skidanje sedišta.
Pričvrstite CVT rashladni vod (Слика 7) za konektor za usisnu cev koristeći stezaljku za crevo koja je skinuta u Skidanje CVT rashladnog voda (samo za HDX-Auto mašine), rezervoara za rashladnu tečnost, sklopa sistema za zaštitu od prevrtanja (ROPS) i pokrova sedišta.
Important: Ovaj korak važi samo za mašine Workman HDX-Auto.
Note: Morate dodati sklop haube sa CVT usisom ovoj opremi za Workman HDX-Auto mašine. Obratite se vašem ovlašćenom prodavcu.
Izravnjajte panel centralne konzole preko upravljačkih šipki na centralnoj konzoli (Слика 3 i Слика 5) i pričvrstite panel sa vijcima koje ste skinuli u Skidanje panela centralne konzole i sedišta.
Montirajte dugmad koje ste skinuli u Skidanje panela centralne konzole i sedišta.
Uparite leve i desne prirubnice na nosaču rezervoara za rashladnu tečnost sa nosačem rezervoara za rashladnu tečnost na pokrovu sedišta (Слика 8).
Spuštajte rezervoar u nosač dok ne bude čvrsto na svom mestu (Слика 8).
Pogledajte Uputstvo za operatera za datu mašinu.
Povežite pozitivni kabl akumulatora na akumulator.
Stegnite poklopac akumulatora, uparite držače sa bazom akumulatora i pustite poklopac akumulatora.
Note: Pogledajte Uputstvo za operatera za datu mašinu.
Spustite tovarni prostor; pogledajte Uputstvo za operatera.
Izravnjajte donji deo haube sa gornjim delom branika.
Povežite svetla.
Ubacite gornje montažne držače u žlebove na ramu.
Ubacite donje montažne držače u džepove na braniku.
Proverite da je hauba u potpunosti uklopljena u gornje, bočne i donje ureze.
Podignite reze da biste otvorili vetrobransko staklo (Слика 49). Pritisnite rezu da blokirate vetrobransko staklo u otvorenom položaju. Gurnite rezu ka van i nadole da biste zatvorili i pričvrstili vetrobransko staklo.
