![]() |
Sikkerhetsmerker og -instruksjoner er lett synlige for føreren og er plassert i nærheten av alle områder som representerer en potensiell fare. Skift ut alle merker som er ødelagte eller mangler. |




Parker maskinen på en jevn flate.
Sett på parkeringsbremsen.
Løft eller fjern panelet fra maskinen (hvis montert).
Note: Se maskinens brukerhåndbok for informasjon om prosedyrer for heving og fjerning av planet.
Slå av motoren og ta ut nøkkelen.
Koble fra batteriet. Se brukerhåndboken.
Hold i panseret i frontlysåpningene mens du løfter opp panseret for å frigjøre de nedre monteringstappene fra slissene i støtfangeren (Figur 1).

Sving bunnen av panseret oppover til du kan trekke de øvre monteringstappene ut av sporene på rammen (Figur 1).
Sving toppen av panseret fremover og koble ledningskontaktene fra frontlysene (Figur 1).
Fjern panseret.
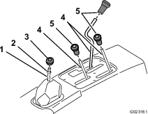
Fjern alle knottene fra konsollspakene og fra girarmen ved å rotere knottene mot klokken (Figur 4).

Fjern de fire sekskantskruene som fester dekselet for girindikatoren til setedekselet (Figur 5).

Løft girindikatoren opp, koble indikatorkoblingen fra koblingen til maskinledningskontakten og fjern indikatordekselet fra maskinen (Figur 5).
Fjern de seks sekskantskruene som fester kontrolldekselet til setedekselet, og fjern kontrolldekselet (Figur 5).
Fjern de åtte skruene med sylinderhode som sikrer seteskinnene for setet til chassiset, og fjern setene (Figur 6).

Fjern slangeklemmen som fester CVT-kjølekanalen til flensen på CVT-inntaket bak på veltebeskyttelsespanelet på passasjersiden (Figur 7).

Løft kjølemiddeltanken opp og ut av støttelommen på baksiden av setedekselet (Figur 8).

Sett kjølemiddeltanken på høykant inn på motoren/chassiset.
For Workman HDX-maskiner:
Sett på parkeringsbremsen (Figur 11).

Flytt stangen for differensiallåsen fremover og til høyre for å låse den i aktivert stilling (Figur 11).
For Workman HDX-Auto-maskiner:
Kople girindikatorkoblingen fra maskinen ledningsnett (Figur 12).

Løft og vri midtkonsollenheten ut av veien for å få tilgang til opphengsfjærene.
Begge maskinene:
Løft opp setedekselet og fjern det fra maskinen (Figur 13).

For Workman HDX-Auto-maskiner:
Fjern boltene som fester løfteventilen til kontrollbraketten, og mutrene og boltene som fester kontrollbraketten til maskinen (Figur 14).

En maskin på en jekk kan bli ustabil, gli av jekken og dermed skade noen som er under den.
Ikke start maskinen mens maskinen er jekket opp, fordi vibrasjoner fra motoren eller hjulbevegelser kan føre til at maskinen sklir av jekken.
Ta alltid nøkkelen ut av bryteren før du går fra maskinen.
Blokker dekkene når maskinen står på en jekk.
Ikke jobb under maskinen uten at du har jekkstøtter som ekstra støtte. Maskinen kan gli av jekken, og skade den som er under.
Når maskinens front jekkes opp, skal man plassere en 2 x 4 tommers trekloss (eller tilsvarende materiale) mellom jekken og maskinrammen.
Jekkpunktet foran på maskinen er under midten av den fremre rammestøtten (Figur 15).

Deler som er nødvendige for dette trinnet:
| Kompresjonsfjær (svart) | 2 |
Bruk et kompresjonsfjærverktøy som spesifisert i Figur 17, monter kompresjonsfjærstangen gjennom hullene i hvert fjærstell (Figur 18).
Important: Vær forsiktig når du fjerner fjærstellet, fjæren er under trykk.


Mål og noter lengden på fjærene.
Monter mutterne og skivene på begge sider av stangen (Figur 19).

Stram én mutter på hver stang for å feste fjærene (Figur 19).
Fjern boltene og mutterne fra enden av hver stabilisatorkobling (A iFigur 20).
Fjern boltene og mutrene fra kontrollarmen som fester hvert fjærstell (B i Figur 20).
Fjern fjærstellene og fjærene fra maskinen (C i Figur 20).
Note: Merk deg plasseringen av merkene på fjærstellene. Stellene må settes tilbake på den opprinnelige plasseringen.

Fjern de eksisterende fjærene fra fjærstellene og plasser fjærene fra dette settet (svarte fjærer) i fjærstellene.
Bruk kompresjonsfjærstangen til å komprimere fjærene til målet innhentet i trinn 3.
Sett fjærene og fjærstellet tilbake i maskinen.
Monter boltene og mutterne du tidligere fjernet fra stabilisatorkoblingene og kontrollarmen.
Monter forhjulene og senk maskinen.
Trekk til hakemutterne til et moment på 109–122 Nm.
Deler som er nødvendige for dette trinnet:
| Innerskjerm | 1 |
| Skjermstropp | 2 |
| Flensbolt med sekskanthode (¼ x ¾ tomme) | 6 |
| Flensmutter (1/4 tomme) | 8 |
| Gummidemper | 2 |
| Skive | 2 |
| Kabelfeste | 2 |
Innrett skjermstroppene i nedre kant av setesokkelrammen, og bruk skjermstroppene som en mal til å merke av og bore tre hull (5/16 tomme) på hver side av setesokkelrammen (Figur 21).

Monter innerskjermen og innerskjermstroppene ved bruk av seks sekskanthode bolter (¼ x ¾ tomme) og seks flensmutre (¼ tomme) som vist i Figur 22.

Brett ned folden og dytt den inn bak gulvflensen (Figur 23).
Fest folden med to kabelfester rundt midten av rammerøret (Figur 23).

Monter en gummidemper ved bruk av en skive og flensmutter (¼ tomme) på hver side (Figur 24).

Deler som er nødvendige for dette trinnet:
| Venstre monteringsenhet | 1 |
| Høyre monteringsenhet | 1 |
| Justeringsbolt (⅜ x 2 tommer) | 2 |
| Sekskantmutter (⅜ tomme) | 2 |
| Sekskantet flenshodeskrue (⅜ x 1 tomme) | 4 |
| Flensmutter (⅜ tomme) | 4 |
| Fremre monteringsbrakett for førerhus | 2 |
| Sekskantbolt (7/16 tomme) | 2 |
| Trykkskive | 2 |
| Låsemutter (½ tomme) | 2 |
| Gummiisolator | 2 |
| Avstandsstykke | 2 |
| Skive | 2 |
| Låsemutter | 2 |
| Flenshodebolt (½ x 2¼ tomme) | 2 |
Monter de bakre brakettene på maskinen (Figur 25) ved hjelp av monteringsdelene som ble fjernet fra veltebøyen i trinn Fjerne veltebøyleenheten.

Trekk til boltene til et moment på 94–108 Nm.
Monter venstre monteringsenhet og høyre monteringsenhet til de fremre monteringsbrakettene for førerhuset ved bruk av to sekskantede hodebolter (⅜ x 1 tomme) og to flensmuttere (⅜ tomme) på hver side (Figur 26).
Bruk midthullene i monteringsenheten under montering.
Monter justeringsbolten (⅜ x 2 tommer) og sekskantmutteren (⅜ tomme) i venstre monteringsenhet og høyre monteringsenhet på hver side av maskinen (Figur 26).

Monter de fremre monteringsbrakettene for førerhuset ved bruk av en sekskantbolt (7/16 tomme), trykkskive og låsemutter (½ tomme) på hver side (Figur 27).

Monter de to gummiisolatorene ved bruk av en flensehodebolt (½ x 2¼ tomme), avstandsstykke, skive og låsemutter på hver side (Figur 28).
Note: Bruk såpevann for å lette monteringen av brakettstøttefestene.

Begge maskinene:
Innrett åpningen i setedekselet for parkeringsbremsen med parkeringsbremsehåndtaket.
Innrett hullet i girspakhetten med girspakstangen.
Innrett åpningen i setedekselet for stengene på planløftkontrollen, høy/lav hastighetsinnstilling og differensialsperren.
Senk setedekselet.
Innrett hullene i dekselet på setemontasjen med setestøttebrakettene på chassiset.
Ikke stram boltene.
Koble til girindikatoren og fest kontrollbraketten med skruene (Figur 12 og Figur 14) du fjernet i Ta av setedekselet.
Important: Dette trinnet gjelder kun for Workman HDX-Auto-maskiner.
Deler som er nødvendige for dette trinnet:
| Sideplatepanel | 2 |
| Førerhusramme | 1 |
| Bolt (½ tomme) | 4 |
| Skive (1/2 tomme) | 4 |
| Mutter (½ tomme) | 4 |
| Nedre dashbordtetning | 1 |
Løsne boltene på skjermene ca. 1 omdreining for å gi plass til å føre sideplatepanelene på plass.
Skyv sideplatepanelene inn mellom setedekslet og sideskjermene (Figur 29).
Note: Påse at panelene sitter korrekt på plass før du strammer til boltene.

Stram til boltene på skjermene.
Note: Boltene må ikke trekkes til for hardt.
Monter den nedre dashbordtetningen på førerhuset (Figur 30).
Påse at du monterer tetningen med den lengste leppen i fronten (Figur 30).

Hold førerhusrammen ved hjelp av løftepunktene og plasser den på maskinen (Figur 31).
Note: Før førerhuset senkes ned på maskinen, bruker du såpevann på dashbordet for å holde den nedre dashbordtetningen smurt.
Note: Påse at fremre og bakre leppe på den nedre dashtetningen ruller under monteringen.

Fest rammen til maskinen ved hjelp av fire bolter (½ tomme) og fire muttere (½ tomme) som vist i Figur 32.
Note: Ikke stram til de fire boltene (½ tomme).

Juster førerhuset fra side til side for å påse at førerhuset er sentrert.
Bruk justeringsbolten (Figur 26) til å sentrere førerhuset.
Trekk til de fire boltene (½ tomme) til 91 til 113 Nm.
Deler som er nødvendige for dette trinnet:
| Ledningssatsen | 1 |
| Kabelsnor | 4 |
| Sikring (30 A) | 1 |
Før ledningsnettet som vist i Figur 33, og fest det med fire kabelfester.

Koble ringterminalen på ledningsnettet til jordingsblokken, og sett sikringsblokkontakten inn i en tilgjengelig sikringsblokktilkobling (Figur 34).
Note: Hvis det ikke finnes en tilgjengelig sikringsblokktilkobling, må du legge en sikringsblokk til sikringsblokkgruppen. Ta kontakt med et autorisert forhandlerverksted for mer informasjon.

Deler som er nødvendige for dette trinnet:
| Bakplate | 1 |
| Justeringsplate | 1 |
| Trykkbolt (½ x 4 tommer) | 1 |
| Flensmutter (1/2 tomme) | 1 |
| Stopplate | 1 |
| Låsebolt (¼ x 1¾ tomme) | 4 |
| Flensmutter (¼ tomme) | 4 |
Mål 20,7 cm til venstre fra bunnkanten av førerhusbraketten, og merk av posisjonen (Figur 35).

Monter justeringsplaten og bakplaten på dashbordstøtterøret ved bruk av de fire låseboltene (¼ x 1¾ tomme) og flensmutterne (¼ tomme) som vist i Figur 36.

Monter trykkbolten (½ x 4 tommer), flensemutteren (½ tomme) og stopplaten på justeringsplaten (Figur 37).

Lukk mellomrommet mellom dashbordet og førerhuset ved å justere trykkbolten (½ x 4 tommer) til stopplaten skyves oppover på dashbordet (Figur 38).

Deler som er nødvendige for dette trinnet:
| Vannavløp | 1 |
| Gjennomsiktig slange, passasjerside – 122 cm | 1 |
| Gjennomsiktig slange, førerside – 43 cm | 1 |
| Gjennomsiktig slange, gulv – 33 cm | 1 |
| T-stykke | 1 |
| Magnetisk feste for kabelstrips | 3 |
| Kabelfeste | 3 |
Fjern de fem sekskantede hodeboltene og skivene fra dashbordet (Figur 39).
Ta vare på de fem sekskantede hodeboltene og skivene.

Skyv vannavløpet mellom maskinens dashbord og underrammen, og fest vannavløpet ved bruk av de fem sekskantede hodeboltene og skivene du fjernet tidligere (Figur 40).

Bruk en avbitertang, fjern fraktsperren på hver side av vannavløpet (Figur 41).

Koble sammen den 122 cm lange gjennomsiktige slangen, den 33 cm lange gjennomsiktige slangen og den 43 cm lange gjennomsiktige slangen ved bruk av T-koblingen (Figur 42).

Start på passasjersiden og trekk den tilkoblede gjennomsiktige slangen ned gjennom gulvplaten (ved clutchpedalen) på førersiden av maskinen (Figur 43).
Fest den tilkoblede gjennomsiktige slangen med de tre magnetiske festestroppene og tre kabelfestene (Figur 43).

Knip sammen hver ende av den gjennomsiktige slangen og kutt den i 45° vinkel (Figur 44).
Innrett den gjennomsiktige slangen med bunnen av vannavløpet slik at den øverste delen av vinkelen er på utsiden av maskinen, og monter den (Figur 44).

Deler som er nødvendige for dette trinnet:
| Gulvplatepanel | 2 |
| Sideplatepanel | 2 |
| Bolt (¼ tomme) | 12 |
Deler som er nødvendige for dette trinnet:
| Bolt (¼ tomme) | 2 |
| Avstandsstykke | 2 |
| Stropp | 1 |
| Mutter (¼ tomme) | 2 |
| CVT-inntakshetteenhet (selges separat) | 1 |
Monter røret for brukerhåndboken (Figur 47).

Innrett hullene i seteskinnene med hullene i dekselet for setemonteringsposisjonene (Figur 6).
Fest setene til chassiset med de åtte sylinderholdeboltene (Figur 6) du fjernet i trinn Ta ut setene.
Fest CVT-kjølekanalen (Figur 7) til inntaksrørkoblingen ved bruk av slangeklemmen som du fjernet i Fjerne CVT-kjølevæskekanalen (kun HDX-Auto-maskiner), kjølevæsketanken, veltebeskyttelsesenheten og setedekselet.
Important: Dette trinnet gjelder kun for Workman HDX-Auto-maskiner.
Note: Du må legge CVT-inntakshetteenheten til dette settet for Workman HDX-Auto-maskiner. Kontakt et autorisert forhandlerverksted.
Innrett midtkonsollpanelet over kontrollstrengene på midtkonsollen (Figur 3 og Figur 5), og fest panelet med skruene du fjernet i Fjerne midtkonsollpanelet og seter.
Monter knottene du fjernet i Fjerne midtkonsollpanelet og seter.
Innrett venstre og høyre flens på kjølemiddeltankbraketten med tankstøtten på setedekslet (Figur 8).
Senk tanken ned på støtten til den sitter godt fast (Figur 8).
Se maskinens brukerhåndbok.
Koble den positive batteriledningen til batteriet.
Klem batteridekselet, innrett tappene til batteridekselet og løsne batteridekselet.
Note: Se maskinens brukerhåndbok.
Senke planet; se brukerhåndboken.
Innrett bunnen på panseret med toppen av støtfangeren.
Koble til lysene.
Før de øvre monteringstappene inn i sporene på rammen.
Før de nedre monteringstappene inn i lommene på støtfangeren.
Påse at panseret er helt engasjert i sporene på toppen, sidene og bunnen.
Løft opp låsene for å åpne frontruten (Figur 49). Trykk inn låsen for å låse frontruten i åpen stilling. Trekk låsen ut og ned for å lukke og feste frontruten.
