![]() |
Säkerhetsdekalerna och säkerhetsinstruktionerna är fullt synliga för föraren och finns nära alla potentiella farozoner. Ersätt dekaler som har skadats eller saknas. |




Parkera maskinen på en plan yta.
Koppla in parkeringsbromsen.
Höj eller ta bort flaket, om ett sådant finns, från maskinen.
Note: Se maskinens bruksanvisning för mer detaljerad information om att höja och ta bort flaket.
Stäng av motorn och ta ut nyckeln.
Koppla loss batteriet. Se maskinens bruksanvisning.
Fatta tag i strålkastaröppningarna på motorhuven och lyft huven uppåt så att de nedre monteringstapparna lossnar från stötdämparspåren (Figur 1).

Sväng huvens nedre del uppåt tills du kan dra ut de övre monteringstapparna från ramspåren (Figur 1).
Sväng huvens övre del framåt och koppla loss kabelkontakterna från strålkastarna (Figur 1).
Ta bort huven.
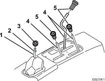
Ta bort alla knoppar från konsolspakarna och från transmissionsspaken genom att rotera dem moturs (Figur 4).

Ta bort de fyra sexkantsskruvarna som fäster växelindikatorns kåpa vid säteshöljet (Figur 5).

Lyft upp växelindikatorn, koppla bort indikatorkopplingsdonet från maskinkablagets kontakt och ta bort indikatorhöljet från maskinen (Figur 5).
Ta bort de sex sexkantsskruvarna som håller fast kontrollådans kåpa vid säteshöljet och ta bort kåpan från kontrollådan (Figur 5).
Ta bort de åtta insexskruvarna som fäster sätesskenorna till chassit och ta bort sätena (Figur 6).

Ta bort slangklämman som håller fast CVT-kylkanalen vid flänsen på CVT-inloppet på baksidan av vältskyddspanelen på passagerarsidan (Figur 7).

Lyft upp kylvätsketanken ur stödfickan på baksidan av säteshöljet (Figur 8).

Justera kylvätsketanken så att den står upprätt på motorn/chassit.
För Workman HDX-maskiner:
Koppla in parkeringsbromsen (Figur 11).

Flytta differentiallåsstaven framåt till höger för att låsa den i det inkopplade läget (Figur 11).
För Workman HDX-Auto-maskiner:
Lossa växelindikatorkopplingen från maskinens kablage (Figur 12).

Lyft och rotera mittreglageenheten ur vägen så att du kommer åt fjädrarna.
Båda maskinerna:
Lyft upp säteshöljet och ta bort det från maskinen (Figur 13).

För Workman HDX-Auto-maskiner:
Ta bort skruvarna som fäster lyftventilen vid reglagefästet samt skruvarna och muttrarna som fäster reglagefästet vid maskinen (Figur 14).

En maskin på en domkraft kan bli instabil och glida av domkraften och skada de som befinner sig under den.
Starta inte maskinen när den stöttas upp med en domkraft. Motorvibrationer eller hjulrörelser kan göra att den glider av domkraften.
Ta alltid ut nyckeln ur tändningslåset innan du lämnar maskinen.
Spärra hjulen när maskinen stöttas upp med en domkraft.
Arbeta inte under maskinen om den inte står säkert på riktiga stöd. Maskinen kan glida av en domkraft och skada personer som befinner sig under den.
När du hissar upp maskinens främre del med domkraft ska du placera ett 5 x 10 cm stort block (eller liknande) mellan domkraften och maskinramen.
Domkraftspunkten framtill på maskinen sitter under den främre mittramen (Figur 15).

Delar som behövs till detta steg:
| Tryckfjäder (svart) | 2 |
Använd ett kompressionsfjäderverktyg i enlighet med Figur 17 och montera kompressionsfjäderns stång i hålen på varje fjäderfäste (Figur 18).
Important: Var försiktig när du tar bort fjäderfästet; fjädern är komprimerad.


Mät och anteckna fjädrarnas längder.
Sätt i muttrarna och brickorna på stångens båda ändar (Figur 19).

Dra åt en mutter på varje stång för att fästa fjädrarna (Figur 19).
Ta bort skruvarna och muttrarna från ändarna på båda stabilisatorlänkarna (A i Figur 20).
Ta bort skruvarna och muttrarna från reglagearmen som fäster varje fjäderfäste (B i Figur 20).
Ta bort fjäderfästena och fjädrarna från maskinen (C i Figur 20).
Note: Kom ihåg dekalernas placering på fjäderfästena. Fästena måste sättas tillbaka på samma ställe.

Ta bort de nuvarande fjädrarna från fjäderfästena och sätt i fjädrarna från den här satsen (svarta fjädrar) i fjäderfästena.
Använd stången på kompressionsfjäderverktyget för att komprimera fjädrarna till det mått som uppmättes i steg 2.
Sätt tillbaka fjädrarna och fjäderfästet i maskinen.
Montera skruvarna och muttrarna som tidigare togs bort från stabilisatorlänkarna och reglagearmen.
Montera framhjulen och sänk ned maskinen.
Dra åt hjulmuttrarna till 109–122 Nm.
Delar som behövs till detta steg:
| Inre stänkskärm | 1 |
| Stänkskärmsrem | 2 |
| Sexkantsflänsskruv (¼ x ¾ tum) | 6 |
| Flänsmutter (1/4 tum) | 8 |
| Gummistopp | 2 |
| Bricka | 2 |
| Kabelband | 2 |
Rikta in stänkskärmsremmarna vid sätessockelramens nedre kant och använd stänkskärmsremmarna som mall för att markera och borra tre hål (5/16 tum) på vardera sida av sätessockelramen (Figur 21).

Montera den inre stänkskärmen och stänkskärmsremmarna med sex sexkantsflänsskruvar (¼ x ¾ tum) och sex flänsmuttrar (¼ tum) enligt Figur 22.

Fäll ned och stoppa in klaffen bakom golvflänsen (Figur 23).
Fäst klaffen med två kabelband runt mittramens rör (Figur 23).

Montera ett gummistopp med en bricka och flänsmutter (¼ tum) på vardera sida (Figur 24).

Delar som behövs till detta steg:
| Vänster fäste | 1 |
| Höger fäste | 1 |
| Justerskruv (⅜ x 2 tum) | 2 |
| Sexkantsmutter (⅜ tum) | 2 |
| Skruv med sexkantsflänshuvud (⅜ x 1 tum) | 4 |
| Flänsmutter (⅜ tum) | 4 |
| Främre hyttfäste | 2 |
| Sexkantsskruv (7/16 tum) | 2 |
| Tryckbricka | 2 |
| Låsmutter (½ tum) | 2 |
| Gummiisolator | 2 |
| Distansbricka | 2 |
| Bricka | 2 |
| Låsmutter | 2 |
| Flänsskruv (½ x 2 ¼ tum) | 2 |
Montera de bakre fästena på maskinen (Figur 25) med hjälp av delarna som togs bort från vältskyddet i Demontera vältskyddet.

Dra åt skruvarna till 94–108 Nm.
Montera vänster fäste och höger fäste på de främre hyttfästena med två skruvar med sexkantsflänshuvud (⅜ x 1 tum) och två flänsmuttrar (⅜ tum) på vardera sida (Figur 26).
Använd mittenhålen för att montera fästena.
Skruva fast justerskruven (⅜ x 2 tum) och sexkantsmuttern (⅜ tum) i vänster och höger fäste på vardera sida av maskinen (Figur 26).

Montera de främre hyttfästena med en sexkantsskruv (7/16 tum), tryckbricka och låsmutter (½ tum) på vardera sida (Figur 27).

Montera de två gummiisolatorerna med en flänsskruv (½ x 2 ¼ tum), distansbricka, bricka och låsmutter på vardera sida (Figur 28).
Note: Använd tvålvatten till hjälp när du monterar fästesstöden.

Båda maskinerna:
Rikta in säteshöljets öppning för parkeringsbromsen mot parkeringsbromsens handtag.
Rikta in hålet i växelväljarskon mot växelväljarens stång.
Rikta in säteshöljets öppning för stängerna till flakstyrningen, växelväljaren för hög/låg växel och differentiallåset.
Sänk ned säteshöljet.
Rikta in säteshöljets hål för sätesmontering mot sätets stödfästen i chassit.
Dra inte åt skruvarna.
Koppla in växelindikatorn och sätt fast reglagefästet med skruvarna (Figur 12 och Figur 14) som du tog bort i Ta bort säteshöljet.
Important: Detta steg gäller endast Workman HDX-Auto-maskiner.
Delar som behövs till detta steg:
| Sidoplåtspanel | 2 |
| Hyttram | 1 |
| Skruv (½ tum) | 4 |
| Bricka (1/2 tum) | 4 |
| Mutter (½ tum) | 4 |
| Instrumentbrädans nedre tätning | 1 |
Lossa på skruvarna på stänkskärmarna ca ett varv för att skapa plats så att sidoplåtspanelerna kan dras på plats.
Dra sidoplåtspanelerna mellan säteshöljet och sidostänkskärmarna (Figur 29).
Note: Se till att panelerna sitter ordentligt på plats innan du drar åt skruvarna.

Dra åt skruvarna på stänkskärmarna.
Note: Dra inte åt skruvarna för hårt.
Montera instrumentbrädans nedre tätning på hytten (Figur 30).
Se till att du monterar tätningen med dess längre kant mot maskinens framsida (Figur 30).

Håll hyttramen med hjälp av lyftpunkterna och placera den på maskinen (Figur 31).
Note: Innan du sänker ned hytten på maskinen applicerar du tvålvatten på instrumentbrädan för att hålla instrumentbrädans nedre tätning smord.
Note: Kontrollera att de främre och bakre kanterna på instrumentbrädans nedre tätning rullar under monteringen.

Fäst ramen på maskinen med fyra skruvar (½ tum), fyra brickor (½ tum) och fyra muttrar (½ tum) enligt Figur 32.
Note: Dra inte åt de fyra skruvarna (½ tum).

Justera hytten från sida till sida för att säkerställa att hytten är centrerad.
Använd justerskruven (Figur 26) för att centrera hytten.
Dra åt de fyra skruvarna (½ tum) till 91–113 Nm.
Delar som behövs till detta steg:
| Kablage | 1 |
| Kabelband | 4 |
| Säkring (30 A) | 1 |
Dra kablaget enligt Figur 33 och fäst det med de fyra kabelbanden.

Anslut ringkopplingen på kablaget till jordblocket och sätt i säkringsblockets kontakt i ett tillgängligt uttag på säkringsblocket (Figur 34).
Note: Om det inte finns något tillgängligt uttag på säkringsblocket lägger du till ett säkringsblock i säkringsblocksgruppen. Kontakta en auktoriserad serviceverkstad om du behöver mer information.

Delar som behövs till detta steg:
| Bakplåt | 1 |
| Justeringsplåt | 1 |
| Skallskruv (½ x 4 tum) | 1 |
| Flänsmutter (1/2 tum) | 1 |
| Stopplatta | 1 |
| Vagnsskruv (¼ x 1 ¾ tum) | 4 |
| Flänsmutter (¼ tum) | 4 |
Mät 20,7 cm (8 ⅛ tum) åt vänster från huvfästets nederkant och gör en markering (Figur 35).

Montera justeringsplåten och bakplåten till instrumentbrädans stödrör med de fyra vagnsskruvarna (¼ x 1 ¾ tum) och flänsmuttrarna (¼ tum) enligt Figur 36.

Montera skallskruven (½ x 4 tum), flänsmuttern (½ tum) och stopplattan till justeringsplåten (Figur 37).

Minska avståndet mellan instrumentbrädan och hytten genom att justera skallskruven (½ x 4 tum) tills stopplattan trycks uppåt på instrumentbrädan (Figur 38).

Delar som behövs till detta steg:
| Vattenränna | 1 |
| Genomskinligt rör för passagerarsida – 122 cm | 1 |
| Genomskinligt rör för förarsida – 43 cm | 1 |
| Genomskinligt rör för golv – 33 cm | 1 |
| T-stycke | 1 |
| Fäste för magnetiskt buntband | 3 |
| Kabelband | 3 |
Lossa de fem skruvarna med sexkantshuvud från instrumentbrädan (Figur 39).
Spara de fem skruvarna med sexkantshuvud.

Skjut vattenrännan mellan maskinens instrumentbräda och underram och fäst vattenrännan med de fem skruvarna med sexkantshuvud som du tog bort tidigare (Figur 40).

Använd en avbitare för att avlägsna transportbrickan på båda sidor av vattenrännan (Figur 41).

Anslut det genomskinliga röret på 122 cm till de genomskinliga rören på 33 cm och 43 cm med T-stycket (Figur 42).

Dra det anslutna genomskinliga röret från passagerarsidan ned genom golvplattan (med kopplingspedalen) till maskinens förarsida (Figur 43).
Fäst det genomskinliga röret med de tre magnetiska buntbanden och de tre kabelbanden (Figur 43).

Kläm ihop båda ändarna av det genomskinliga röret och skär av det i en 45 graders vinkel (Figur 44).
Rikta in det genomskinliga röret med vattenrännans nedre del så att rörändens högsta del är vinklad bort från maskinen och montera röret (Figur 44).

Delar som behövs till detta steg:
| Golvplåtspanel | 2 |
| Sidoplåtspanel | 2 |
| Skruv (¼ tum) | 12 |
Delar som behövs till detta steg:
| Skruv (¼ tum) | 2 |
| Distansbricka | 2 |
| Rem | 1 |
| Mutter (¼ tum) | 2 |
| CVT-inloppshuv (säljs separat) | 1 |
Montera röret för bruksanvisningen (Figur 47).

Rikta in hålen i sätesskenorna mot hålen för sätesfästpunkterna i höljet (Figur 6).
Sätt fast sätena på chassit med de åtta insexskruvarna (Figur 6) som du tog bort i steg Ta bort sätena.
Sätt fast CVT-kylkanalen (Figur 7) på inloppsröranslutningen med slangklämman som du tog bort i steg Ta bort CVT-kylkanalen (endast HDX-Auto-maskiner), kylvätsketanken, vältskyddet och säteshöljet.
Important: Detta steg gäller endast Workman HDX-Auto-maskiner.
Note: Du måste lägga till CVT-inloppshuven till den här satsen för Workman HDX-Auto-maskiner. Kontakta en auktoriserad serviceverkstad.
Rikta in mittkonsolpanelen över styrstängerna på mittkonsolen (Figur 3 och Figur 5) och sätt fast panelen med skruvarna som du tog bort i Ta bort mittkonsolpanelen och sätena.
Montera de knoppar som du tog bort i Ta bort mittkonsolpanelen och sätena.
Rikta in de vänstra och högra flänsarna på kylvätsketankens fäste med kylvätsketankens stöd på säteshöljet (Figur 8).
Sänk ned tanken i stödet tills den sitter ordentligt (Figur 8).
Mer information finns i maskinens bruksanvisning.
Anslut batteriets pluskabel till batteriet.
Kläm ihop batterikåpan, rikta in flikarna mot batterilådan och släpp batterikåpan.
Note: Mer information finns i maskinens bruksanvisning.
Sänka flaket, se bruksanvisningen.
Rikta in huvens nedre del mot stötdämparens övre del.
Anslut lamporna.
För in de övre monteringsflikarna i ramfästena.
För in de nedre monteringsflikarna i stötdämparfickorna.
Kontrollera att huven griper in helt i spåren längst upp, på sidorna och längst ned.
Lyft upp spärrarna för att öppna vindrutan (Figur 49). Tryck in spärren om du vill låsa vindrutan i öppet läge. Dra spärren utåt och nedåt för att stänga och säkra vindrutan.
