![]() |
Os autocolantes de segurança e de instruções são facilmente visíveis e situam-se próximo das zonas de potencial perigo. Substitua todos os autocolantes danificados ou em falta. |




Estacione a máquina numa superfície nivelada.
Engate o travão de estacionamento.
Eleve ou remova a plataforma da máquina (se equipada).
Note: Consulte o Manual do utilizador da máquina para obter informações detalhadas acerca da elevação e remoção da plataforma.
Desligue o motor do e retire a chave da ignição.
Desligue a bateria; consulte o Manual do utilizador da máquina.
Segurando o capot nas aberturas dos faróis, eleve o capot para libertar as patilhas de montagem inferior das ranhuras no para-choques (Figura 1).

Desloque a parte inferior do capot para cima até ser possível retirar as patilhas de montagem superiores das ranhuras da estrutura (Figura 1).
Incline a parte superior do capot para a frente e desligue os conectores de fios dos faróis (Figura 1).
Desmontagem do capot.
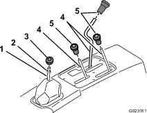
Desaparafuse e retire todos os manípulos das alavancas da consola e da alavanca das mudanças (Figura 2).

Remova a porca de retenção da alavanca de mudanças (Figura 2).
Remova os 6 parafusos que prendem a extremidade exterior da placa da cobertura da consola central ao chassis e retire a placa da cobertura (Figura 3).

Retire todos os manípulos das alavancas da consola e da alavanca da transmissão rodando os manípulos para a esquerda (Figura 4).

Remova os quatro parafusos de cabeça sextavada que prendem a cobertura do indicador de mudança ao resguardo do banco (Figura 5).

Eleve o indicador de mudança, desligue o conector do indicador do conector da cablagem da máquina e retire a cobertura do indicador da máquina (Figura 5).
Remova os seis parafusos de cabeça sextavada que prendem a cobertura do controlo ao resguardo do banco e retire a cobertura (Figura 5).
Retire os oito parafusos de cabeça sextavada que prendem as calhas do banco ao chassis e retire os bancos (Figura 6).

Retire a braçadeira de tubos que prende a conduta de arrefecimento da TVC à flange da entrada da TVC, na parte posterior do painel do ROPS do lado do passageiro (Figura 7).

Eleve o depósito do líquido de arrefecimento para cima e para fora do suporte de apoio na parte de trás do resguardo do banco (Figura 8).

Regule o depósito do líquido de arrefecimento na vertical para o motor/chassis
Para máquinas Workman HDX:
Engate o travão de estacionamento (Figura 11).

Mova a barra do bloqueio do diferencial para a frente e para a direita para a fixar na posição de engatada (Figura 11).
Para máquinas Workman HDX-Auto:
Desligue o conector do indicador de mudança da cablagem da máquina (Figura 12).

Eleve e rode o conjunto de controlo central para desviá-lo e obter acesso às molas da suspensão.
Ambas as máquinas:
Eleve o resguardo do banco e remova-o da máquina (Figura 13).

Para máquinas Workman HDX-Auto:
Retire os parafusos que prendem a válvula de elevação ao suporte dos controlos e as porcas e parafusos que prendem o suporte de controlo à máquina (Figura 14).

Uma máquina apoiada por um macaco pode tornar-se instável e deslizar do macaco, ferindo quem se encontrar por baixo.
Não coloque a máquina em funcionamento com a máquina apoiada num macaco, pois a vibração do motor ou o movimento das rodas podem fazer com que a máquina se solte do macaco.
Retire sempre a chave da ignição antes de sair da máquina.
Calce as rodas quando a máquina estiver suspensa no macaco.
Não trabalhe por baixo da máquina sem aplicar macacos. A máquina pode soltar-se do macaco, ferindo quem se encontrar por baixo.
Ao elevar a dianteira da máquina com um macaco, coloque um bloco em madeira (ou em material semelhante) com 5 x 10 cm entre o macaco e o chassis.
O ponto de suspensão na zona dianteira da máquina fica debaixo do suporte do chassis central dianteiro (Figura 15).

Peças necessárias para este passo:
| Mola de compressão (preta) | 2 |
Utilizando uma ferramenta de mola de compressão como se especifica na Figura 17, instale a haste da mola de compressão através dos furos em cada cavidade da mola (Figura 18).
Important: Tenha cuidado ao remover a cavidade da mola; a mola está sob pressão.


Meça e anote o comprimento das molas.
Instale as porcas e anilhas em ambas as extremidades da haste (Figura 19).

Aperte uma porca em cada haste para prender as molas (Figura 19).
Retire os parafusos e porcas de cada extremidade do elo estabilizador (A de Figura 20).
Retire os parafusos e porcas do braço de controlo que prende cada cavidade de mola (B de Figura 20).
Retire as cavidades de mola e molas da máquina (C de Figura 20).
Note: Anote a posição dos autocolantes nas cavidades de mola. As cavidades têm de ser novamente colocadas na mesma posição.

Retire as molas atuais das cavidades de mola e coloque as molas deste kit (molas pretas) nas cavidades de mola.
Utilize a haste da ferramenta de molas de compressão para comprimir as molas até à medida indicada no passo 3.
Coloque as molas e a cavidade novamente na máquina.
Instale os parafusos e porcas previamente removidos dos elos estabilizadores e braço de controlo.
Instale as rodas frontais e desça a máquina.
Aperte as porcas das rodas com 109 a 122 N·m.
Peças necessárias para este passo:
| Guarda-lamas interior | 1 |
| Cinta do guarda-lamas | 2 |
| Parafuso flangeado de cabeça sextavada (¼ pol. x ¾ pol.) | 6 |
| Porca flangeada (¼ pol.) | 8 |
| Para-choques de borracha | 2 |
| Anilha | 2 |
| Braçadeira de cabos | 2 |
Alinhe as correias do guarda-lamas na extremidade inferior da estrutura da base do banco e utilize as correias do guarda-lamas como modelo para assinalar e perfurar três orifícios (5/16 pol.) em cada lado da estrutura da base do banco (Figura 21).

Instale o guarda-lamas interior e as correias dos guarda-lamas utilizando 6 parafusos de cabeça sextavada (¼ pol. x ¾ pol.) e 6 porcas flangeadas (¼ pol.), como se mostra na Figura 22.

Dobre a aba e enfie-a debaixo da flange do piso (Figura 23).
Prenda a aba com duas braçadeiras de cabos em torno do tubo do chassis central (Figura 23).

Instale um para-choques de borracha utilizando uma anilha e uma porca flangeada (¼ pol.) em cada lado (Figura 24).

Peças necessárias para este passo:
| Conjunto de montagem esquerdo | 1 |
| Conjunto de montagem direito | 1 |
| Parafuso de ajuste (⅜ pol. x 2 pol.) | 2 |
| Porca hexagonal (⅜ pol.) | 2 |
| Parafuso de cabeça flangeada hexagonal (⅜ pol. x 1 pol.) | 4 |
| Porca flangeada (⅜ pol.) | 4 |
| Suporte de montagem dianteiro da cabina | 2 |
| Parafuso com cabeça sextavada (7/16 pol.) | 2 |
| Anilha de encosto | 2 |
| Porca de bloqueio (½ pol.) | 2 |
| Isolador de borracha | 2 |
| Espaçador | 2 |
| Anilha | 2 |
| Porca de bloqueio | 2 |
| Parafuso com cabeça flangeada (½ pol. x 2¼ pol.) | 2 |
Instale os suportes traseiros na máquina (Figura 25) utilizando as ferragens removidas do ROPS em Remoção do conjunto do ROPS.

Aperte os parafusos com uma força de 94 a 108 N·m.
Instale o conjunto de montagem esquerdo e o conjunto de montagem direito nos suportes de montagem dianteiros da cabina utilizando 2 parafusos de cabeça hexagonal (⅜ pol. x 1 pol.) e 2 porcas flangeadas (⅜ pol.) de cada lado (Figura 26).
Utilize os orifícios centrais no suporte da montagem quando instalar.
Instale o parafuso de ajuste (⅜ pol. x 2 pol.) e a porca hexagonal (⅜ pol.) no conjunto de montagem esquerdo e no conjunto de montagem direito em cada lado da máquina Figura 26.

Instale os suportes de montagem dianteiros da cabina utilizando um parafuso de cabeça hexagonal (7/16 pol.), uma anilha de encosto e uma porca de bloqueio (½ pol.) de cada lado (Figura 27).

Instale os 2 isoladores de borracha utilizando um parafuso de cabeça flangeada (½ pol. x 2¼ pol.), um espaçador, uma anilha e uma porca de bloqueio de cada lado (Figura 28).
Note: Utilize água com sabão para ajudar a instalar as montagens do suporte.

Ambas as máquinas:
Alinhe a abertura do resguardo do banco do travão de mão com a alavanca do travão.
Alinhe o furo da cobertura do seletor de mudanças com a barra do seletor de mudanças.
Alinhe a abertura do resguardo do banco com as barras de controlo de elevação da plataforma, comutador de gamas alta e baixa e bloqueio do diferencial.
Desça o resguardo do banco.
Alinhe os furos do resguardo da montagem do banco com os suportes de apoio do banco no chassis.
Não aperte os parafusos.
Instale o indicador de mudança e prenda o suporte dos controlos com os parafusos (Figura 12 e Figura 14) removidos em Retiração do resguardo do banco.
Important: Este passo aplica-se apenas às máquinas Workman HDX-Auto.
Peças necessárias para este passo:
| Painel da placa lateral | 2 |
| Estrutura da cabina | 1 |
| Parafuso (½ pol.) | 4 |
| Anilha (½ pol.) | 4 |
| Porca (½ pol.) | 4 |
| Vedante do painel inferior | 1 |
Desaperte os parafusos dos guarda-lamas aproximadamente 1 volta para permitir espaço para que os painéis da placa lateral deslizem para o sítio.
Deslize os painéis da placa lateral entre o resguardo do banco e os guarda-lamas laterais (Figura 29).
Note: Certifique-se de que os painéis estão totalmente encaixados antes de apertar os parafusos.

Aperte os parafusos nos guarda-lamas.
Note: Não aperte demasiado os parafusos.
Instale o vedante do painel inferior na cabina (Figura 30).
Certifique-se de que instala o vedante com o rebordo mais comprido para a frente (Figura 30).

Prenda a estrutura da cabina utilizando os pontos de elevação e coloque-a na máquina (Figura 31).
Note: Antes de baixar a cabina na direção da máquina, aplique água com sabão no painel para manter o vedante do painel inferior lubrificado.
Note: Certifique-se de que os rebordos dianteiro e traseiro do vedante do painel inferior ficam em baixo durante a instalação.

Prenda a estrutura à máquina utilizando quatro parafusos (½ pol.), quatro anilhas (½ pol.) e quatro porcas (½ pol.) como se mostra na Figura 32.
Note: Não aperte os quatro parafusos (½ pol.).

Ajuste a cabina lateralmente para assegurar que fica centrada.
Utilize o parafuso de ajuste (Figura 26) para centrar a cabina.
Aperte os quatro parafusos (½ pol.) com uma força de 91 a 113 N·m.
Peças necessárias para este passo:
| Cablagem | 1 |
| Braçadeiras de cabos | 4 |
| Fusível (30 A) | 1 |
Encaminhe cablagem como se mostra na Figura 33 e prenda-a com quatro braçadeiras de cabos.

Ligue o terminal de anel na cablagem ao bloco de ligação à terra e insira o conector do bloco de fusíveis numa ligação disponível do bloco de fusíveis (Figura 34).
Note: Se não existir uma ligação disponível no bloco de fusíveis, tem de adicionar um bloco de fusíveis ao grupo existente. Contacte o distribuidor autorizado de assistência para obter mais informação.

Peças necessárias para este passo:
| Placa posterior | 1 |
| Placa de ajuste | 1 |
| Parafuso de rosca (½ pol. x 4 pol.) | 1 |
| Porca flangeada (½ pol.) | 1 |
| Placa do batente | 1 |
| Parafuso de carroçaria (¼ pol. x 1¾ pol.) | 4 |
| Porca flangeada (¼ pol.) | 4 |
Meça 20,7 cm a partir da extremidade inferior do suporte do capot para a esquerda e marque o local (Figura 35).

Instale a placa de ajuste e a placa posterior no tubo de suporte do painel utilizando os quatro parafusos de carroçaria (¼ pol. x 1¾ pol.) e porcas flangeadas (¼ pol.), como se mostra na Figura 36.

Instale o parafuso de rosca (½ pol. x 4 pol.), a porca flangeada (½ pol.) e a placa do batente na placa de ajuste (Figura 37).

Elimine a folga entre o painel e a cabina ajustando o parafuso de rosca (½ pol. x 4 pol) até a placa do batente empurrar para cima no painel (Figura 38).

Peças necessárias para este passo:
| Calha de água | 1 |
| Tubo transparente do lado do passageiro – 122 cm | 1 |
| Tubo transparente do lado do condutor – 122 cm | 1 |
| Tubo transparente do piso – 33 cm | 1 |
| União em T | 1 |
| Montagem de fita magnética | 3 |
| Braçadeira de cabos | 3 |
Retire os cinco parafusos de cabeça de anilha sextavada do painel (Figura 39).
Guarde os cinco parafusos de cabeça de anilha sextavada.

Deslize a calha de água entre o painel da máquina e a subestrutura e prenda a calha de água utilizando os cinco parafusos de cabeça de anilha sextavada anteriormente retirados (Figura 40).

Utilizando um alicate, retire as pontas de cada lado da calha de água (Figura 41).

Ligue o tubo transparente de 122 cm ao tubo transparente de 33 cm e ao tubo transparente de 43 cm utilizando a união em T (Figura 42).

Começando pelo lado do passageiro, passe o tubo transparente ligado para baixo através da placa do piso (com o pedal da embraiagem) para o lado do condutor da máquina (Figura 43).
Prenda o tubo transparente ligado com as 3 montagens de fita magnética e as três braçadeiras de cabos (Figura 43).

Aperte cada extremidade do tubo transparente e corte-a num ângulo de 45° (Figura 44).
Alinhe o tubo transparente com a parte inferior da calha de água de modo a que a parte superior do ângulo fique voltada para o lado exterior da máquina e instale-o (Figura 44).

Peças necessárias para este passo:
| Painel da placa do chão | 2 |
| Painel da placa lateral | 2 |
| Parafuso (¼ pol.) | 12 |
Instale os painéis da placa do chão em cada lado da máquina utilizando três parafusos (¼ pol.) como se mostra na Figura 45.

Aperte os parafusos com uma força de 10,17 a 12,43 N·m.
Instale os painéis da placa lateral em cada lado da máquina utilizando dois parafusos (¼ pol.) como se mostra na Figura 46.

Aperte os parafusos com uma força de 10,17 a 12,43 N·m.
Peças necessárias para este passo:
| Parafuso (¼ pol.) | 2 |
| Espaçador | 2 |
| Correia | 1 |
| Porca (¼ pol.) | 2 |
| Conjunto da entrada da TVC do capot (vendido em separado) | 1 |
Instale o tubo do Manual do utilizador (Figura 47).

Alinhe os furos das calhas do banco com os furos no resguardo das posições de montagem do banco (Figura 6).
Prenda o banco ao chassis com os 8 parafusos de cabeça sextavada (Figura 6) que removeu no passo Remoção dos bancos.
Prenda a conduta de arrefecimento da TVC (Figura 7) ao conector do tubo de entrada utilizando a braçadeira que removeu em Remoção da conduta de arrefecimento da TVC (apenas máquinas HDX-Auto), depósito de líquido de arrefecimento, conjunto do ROPS e resguardo do banco.
Important: Este passo aplica-se apenas às máquinas Workman HDX-Auto.
Note: Tem de acrescentar o conjunto de entrada da TVC do capot a este kit para as máquinas Workman HDX-Auto. Contacte o Serviço de assistência autorizado.
Alinhe o painel da consola central sobre as barras de controlo na consola central (Figura 3 e Figura 5) e prenda o painel com os parafusos que removeu em Remoção do painel da consola central e bancos.
Instale os manípulos que retirou em Remoção do painel da consola central e bancos
Alinhe as flanges esquerda e direita do suporte do depósito de líquido de arrefecimento com a unidade de suporte do depósito do líquido de arrefecimento no resguardo do banco (Figura 8).
Desça o depósito para a unidade de suporte até que o depósito esteja bem encaixado (Figura 8).
Para mais informações, leia o Manual do utilizador da máquina.
Ligue o cabo positivo da bateria à bateria.
Aperte a tampa da bateria, alinhe as patilhas com a base da bateria e solte a tampa da bateria.
Note: Para mais informações, leia o Manual do utilizador da máquina.
Baixe a plataforma; consulte o Manual do utilizador.
Alinhe a parte inferior do capot com a parte superior do para-choques.
Ligue as luzes.
Insira as patilhas de montagem superiores nas ranhuras da estrutura.
Insira as patilhas de montagem inferiores nas bolsas do para-choques.
Assegure que o capot está totalmente encaixado nas ranhuras superiores, laterais e inferiores.
Levante os trincos para abrir o para-brisas (Figura 49). Pressione o trinco para trancar o para-brisas na posição aberta. Puxe o trinco para fora e para baixo para fechar e trancar o para-brisas.
