![]() |
Las pegatinas de seguridad e instrucciones están a la vista del operador y están ubicadas cerca de cualquier zona de peligro potencial. Sustituya cualquier pegatina que esté dañada o que falte. |




Aparque la máquina en una superficie nivelada.
Accione el freno de estacionamiento.
Levante o retire la plataforma del la máquina ( si está instalada).
Note: Consulte el Manual del operador de la máquina si desea información más detallada sobre la elevación y retirada de la plataforma.
Apague el motor y retire la llave.
Desconecte la batería; consulte el Manual del operador.
Sujete el capó por los orificios de los faros y levántelo para poder liberar las pestañas de montaje inferiores de las ranuras del parachoques (Figura 1).

Gire hacia arriba la parte inferior del capó hasta que pueda retirar las pestañas de montaje superiores de las ranuras del chasis(Figura 1).
Gire hacia adelante la parte superior del capó y desenchufe los conectores de cables de los faros (Figura 1).
Retire el capó.
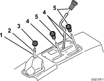
Retire todos los pomos de las palancas de la consola y de la palanca de la transmisión girando los pomos en sentido antihorario (Figura 4).

Retire los 4 tornillos de cabeza hexagonal que sujetan la tapa del indicador de cambios a la moldura del asiento (Figura 5).

Levante el indicador de cambios, desconecte el conector del indicador del conector del arnés de la máquina y retire la tapa del indicador de la máquina (Figura 5).
Retire los 6 tornillos de cabeza hexagonal que sujetan la tapa de los controles a la moldura del asiento y retire la tapa de los controles (Figura 5).
Retire los 8 pernos de cabeza allen que sujetan los raíles de los asientos al chasis y retire los asientos (Figura 6).

Retire la abrazadera que sujeta el conducto de refrigeración de la CVT a la brida de admisión de la CVT en la parte trasera del panel del ROPS en el lado del pasajero (Figura 7).

Levante el depósito de refrigerante y retírelo del alojamiento de la parte trasera de la moldura del asiento (Figura 8).

Coloque el depósito de refrigerante en posición vertical en el motor/chasis.
Para máquinas Workman HDX:
Ponga el freno de estacionamiento (Figura 11).

Mueva la varilla del bloqueo del diferencial hacia adelante y hacia la derecha para bloquearla en la posición de activado (Figura 11).
Para máquinas Workman HDX-Auto:
Desenchufe el conector del indicador de cambios del arnés de la máquina (Figura 12).

Eleve y gire el conjunto de control central para apartarla y poder tener acceso a los muelles de la suspensión.
Ambas máquinas:
Suba el armazón del asiento y sáquelo de la máquina (Figura 13).

Para máquinas Workman HDX-Auto:
Retire los pernos que sujetan la válvula de elevación al soporte de los controles y los pernos y las tuercas que sujetan el soporte de los controles a la máquina (Figura 14).

Una máquina sobre un gato puede ser inestable y resbalarse del mismo, con lo que puede producir lesiones a cualquier persona que se encuentre debajo de la máquina.
No arranque el motor si la máquina está sobre un gato, porque la vibración del motor o cualquier movimiento de las ruedas podría hacer que la máquina se cayera del gato.
Retire siempre la llave del interruptor antes de bajarse de la máquina.
Calce las ruedas mientras la máquina esté sobre un gato.
No trabaje debajo de la máquina sin haber colocado soportes fijos debajo de la misma. La máquina podría caerse del gato, hiriendo a cualquier persona que se encontrase debajo.
Al elevar la parte delantera de la máquina con un gato, coloque siempre un listón (o similar) de 5 x 10 cm entre el gato y el chasis de la máquina.
El punto de apoyo del gato en la parte delantera de la máquina se encuentra debajo del travesaño central delantero del chasis(Figura 15).

Piezas necesarias en este paso:
| Muelle de compresión (negro) | 2 |
Usando una herramienta para muelles de compresión, según lo indicado en Figura 17, instale la varilla del muelle de compresión a través de los taladros de cada uno de los soportes del muelle (Figura 18).
Important: Tenga cuidado al retirar el soporte del muelle; el muelle está sometido a compresión.


Mida y anote la longitud de los muelles.
Instale las tuercas y las arandelas en ambos extremos de la varilla (Figura 19).

Apriete una de las tuercas de cada varilla para sujetar los muelles (Figura 19).
Retire los pernos y las tuercas de los extremos de los brazos de estabilización (A de la figura Figura 20).
Retire los pernos y las tuercas del brazo de control que sujetan cada soporte de muelle (B de la figura Figura 20).
Retire los soportes de los muelles y los muelles de la máquina (C de la figura Figura 20).
Note: Observe la posición de las pegatinas de los soportes de los muelles. Los soportes deben volver a colocarse en el mismo lugar.

Retire los muelles actuales de los soportes de los muelles, y coloque los muelles de este kit (muelles negros) en los soportes de los muelles.
Utilice la varilla de la herramienta para muelles de compresión para comprimir los muelles a la dimensión medida en el paso 3.
Vuelva a colocar los muelles y el soporte en la máquina.
Instale los pernos y las tuercas que se retiraron anteriormente de los brazos de estabilización y del brazo de control.
Instale las ruedas delanteras y baje la máquina.
Apriete las tuercas de las ruedas a entre 109 y 122 N·m.
Piezas necesarias en este paso:
| Aleta interior | 1 |
| Pletina de la aleta | 2 |
| Perno de cabeza hexagonal con arandela prensada (¼" x ¾") | 6 |
| Tuerca con arandela prensada (¼") | 8 |
| Tope de goma | 2 |
| Arandela | 2 |
| Brida | 2 |
Alinee las pletinas de las aletas en el extremo inferior del chasis de la base del asiento y utilice las pletinas como plantilla para marcar y perforar 3 taladros (5/16") a cada lado del chasis de la base del asiento (Figura 21).

Instale la aleta inferior y las pletinas de las aletas con 6 pernos de cabeza hexagonal y arandela prensada (¼" x ¾") y 6 tuercas con arandela prensada (¼"), tal y como se muestra en la Figura 22.

Pliegue hacia abajo la aleta e introdúzcala detrás del reborde de la puerta (Figura 23).
Fije la aleta con 2 bridas alrededor del tubo del chasis central (Figura 23)

Instale un tope de goma con una arandela y una tuerca con arandela prensada (¼") a cada lado (Figura 24).

Piezas necesarias en este paso:
| Conjunto de bastidor izquierdo | 1 |
| Conjunto de bastidor derecho | 1 |
| Perno de ajuste (⅜" x 2") | 2 |
| Tuerca hexagonal (⅜") | 2 |
| Perno de cabeza hexagonal y arandela prensada (⅜" x 1") | 4 |
| Tuerca con arandela prensada (⅜") | 4 |
| Soporte de montaje delantero de la cabina | 2 |
| Perno de cabeza hexagonal (7/16") | 2 |
| Arandela de empuje | 2 |
| Contratuerca (½") | 2 |
| Aislante de goma | 2 |
| Espaciador | 2 |
| Arandela | 2 |
| Contratuerca | 2 |
| Perno con arandela prensada (½" x 2¼") | 2 |
Instale los soportes traseros en la máquina (Figura 25) usando las fijaciones retiradas del ROPS en Retirada del conjunto del ROPS.

Apriete los pernos a entre 94 y 108 N∙m.
Instale el conjunto de bastidor izquierdo y el conjunto de bastidor derecho en los soportes de montaje de cabina delanteros con 2 pernos de cabeza hexagonal y arandela prensada (⅜" x 1") y 2 tuercas con arandela prensada (⅜") a cada lado (Figura 26).
Utilice los taladros centrales en el conjunto de bastidor al instalarlo.
Instale el perno de ajuste (⅜" x 2") y la tuerca hexagonal (⅜") en el conjunto de bastidor izquierdo y en el conjunto de bastidor derecho a cada lado de la máquina (Figura 26).

Instale los soportes de montaje delanteros de la cabina con un perno de cabeza hexagonal (7/16"), una arandela de empuje y una contratuerca (½") a cada lado (Figura 27).

Instale los 2 aislantes de goma con un perno con arandela prensada (½" x 2¼"), un espaciador, una arandela y una contratuerca a cada lado (Figura 28).
Note: Utilice agua jabonosa para facilitar la instalación de los dispositivos de montaje.

Ambas máquinas:
Alinee el hueco del freno de estacionamiento de la moldura del asiento con la palanca del freno de estacionamiento.
Alinee el orificio del fuelle del selector de cambios con la varilla del selector de cambios.
Alinee el hueco de la moldura del asiento con las varillas de control de elevación de la plataforma, la palanca de cambio del intervalo alto/bajo y el bloqueo del diferencial.
Baje la moldura del asiento.
Alinee los taladros en la moldura para el montaje del asiento con los soportes de montaje del chasis.
No apriete los pernos.
Enchufe el indicador de cambios y sujete el soporte de los controles con los tornillos (Figura 12 y Figura 14) que retiró en Retirada de la moldura del asiento.
Important: Este paso se aplica solamente a máquinas Workman HDX-Auto.
Piezas necesarias en este paso:
| Panel lateral | 2 |
| Chasis de la cabina | 1 |
| Perno (½") | 4 |
| Arandela (½") | 4 |
| Tuerca (½") | 4 |
| Junta del salpicadero inferior | 1 |
Afloje los pernos de los guardabarros alrededor de 1 vuelta para dejar sitio para los paneles laterales.
Deslice los paneles laterales entre la moldura de los asientos y los guardabarros laterales (Figura 29).
Note: Asegúrese de que los paneles están correctamente asentados antes de apretar los pernos.

Apriete los pernos de los guardabarros.
Note: No apriete demasiado los pernos.
Instale la junta del salpicadero inferior en la cabina (Figura 30).
Asegúrese de que instala la junta con el borde más largo hacia la parte delantera (Figura 30).

Sostenga el chasis de la cabina usando los puntos de izado y colóquelo sobre la máquina (Figura 31).
Note: Antes de bajar la cabina sobre la máquina, aplique agua jabonosa en el salpicadero para mantener lubricada la junta del salpicadero inferior.
Note: Asegúrese de que los bordes delantero y trasero de la junta del salpicadero inferior se deslizan debajo durante la instalación.

Sujete el chasis a la máquina con 4 pernos (½"), 4 arandelas (½") y 4 tuercas (½"), tal y como se muestra en la Figura 32.
Note: No apriete los 4 pernos (½").

Ajuste la cabina de lado a lado, para garantizar que está centrada.
Utilice el perno de ajuste (Figura 26) para centrar la cabina.
Apriete los 4 pernos (½") a entre 91 y 113 N∙m.
Piezas necesarias en este paso:
| Arnés de cables | 1 |
| Bridas | 4 |
| Fusible (30 A) | 1 |
Dirija el arnés de cables según se muestra en la Figura 33 y sujételo con las 4 bridas.

Conecte el terminal de anillo del arnés al bloque de tierra y enchufe el conector del bloque de fusibles en una conexión libre del bloque de fusibles (Figura 34).
Note: Si no hay una conexión libre en el bloque de fusibles, tendrá que añadir un bloque de fusibles al grupo de bloques de fusibles. Póngase en contacto con su Servicio Técnico Autorizado si desea más información.

Piezas necesarias en este paso:
| Chapa trasera | 1 |
| Chapa de ajuste | 1 |
| Perno prisionero (½" x 4") | 1 |
| Tuerca con arandela prensada (½") | 1 |
| Chapa de tope | 1 |
| Perno de cuello cuadrado (1/4" x 1¾") | 4 |
| Tuerca con arandela prensada (¼") | 4 |
Mida 20,7 cm hacia la izquierda desde el extremo inferior del soporte del capó y marque la ubicación (Figura 35).

Instale la chapa de ajuste y la chapa trasera en el tubo de sujeción del salpicadero con 4 pernos de cuello cuadrado (¼" x 1¾") y 4 tuercas con arandela prensada (¼"), tal y como se muestra en la Figura 36.

Instale el perno prisionero (½" x 4"), la tuerca con arandela prensada (½") y la placa de tope en la chapa de ajuste (Figura 37).

Cierre el hueco entre el salpicadero y la cabina ajustando el perno prisionero (½" x 4") hasta que la chapa de tope presione hacia arriba en el salpicadero (Figura 38).

Piezas necesarias en este paso:
| Canaleta de agua | 1 |
| Tubo transparente del lado del pasajero—122 cm | 1 |
| Tubo transparente del lado del conductor—43 cm | 1 |
| Tubo transparente del suelo– 33 cm | 1 |
| Acoplamiento en T | 1 |
| Soporte de brida magnética | 3 |
| Brida | 3 |
Retire los 5 pernos de cabeza hexagonal con arandela del salpicadero (Figura 39).
Guarde los 5 pernos de cabeza hexagonal con arandela.

Deslice la canaleta de agua entre el salpicadero de la máquina y el subchasis y fije la canaleta con los 5 pernos de cabeza que retiró anteriormente (Figura 40).

Con un cortador de latón, retire la espiga de transporte a cada lado de la canaleta de agua (Figura 41).

Conecte el tubo transparente de 122 cm al tubo transparente de 33 cm y al tubo transparente de 43 cm con el acoplamiento en T (Figura 42).

Comenzando desde el lado del pasajero, dirija el tubo transparente conectado hacia abajo, a través de la chapa del suelo (con el pedal del embrague) hasta el lado del conductor de la máquina (Figura 43).
Sujete el tubo transparente conectado con los 3 soportes de brida magnética y 3 bridas (Figura 43).

Pince cada extremo del tubo transparente y córtelo en un ángulo de 45° (Figura 44).
Alinee el tubo transparente con la parte inferior de la canaleta de agua, de modo que la parte superior del ángulo esté fuera de la máquina e instálelo (Figura 44).

Piezas necesarias en este paso:
| Panel de suelo | 2 |
| Panel lateral | 2 |
| Perno (1/4") | 12 |
Instale los paneles de suelo en cada lado de la máquina usando 3 pernos (¼ pulgada), según se muestra en Figura 45.

Apriete los pernos a 10,17–12,43 N·m.
Instale los paneles laterales en cada lado de la máquina usando 2 pernos (1/4 pulgada), según se muestra en Figura 46.

Apriete los pernos a 10,17–12,43 N·m.
Piezas necesarias en este paso:
| Perno (1/4") | 2 |
| Espaciador | 2 |
| Pletina | 1 |
| Tuerca (¼") | 2 |
| Conducto de admisión de la CVT del capó (se vende por separado) | 1 |
Instale el tubo del Manual del operador (Figura 47).

Alinee los taladros de los raíles de los asientos con los taladros de montaje de los asientos de la moldura (Figura 6).
Sujete los asientos al chasis con los 8 pernos de cabeza allen (Figura 6) que retiró en el paso Retirada de los asientos.
Sujete el conducto de refrigeración de la CVT (Figura 7) al conector del tubo de admisión usando la abrazadera que retiró en el paso Retirada del conducto de refrigeración de la CVT (máquinas HDX-Auto solamente), el depósito de refrigerante, el conjunto del ROPS y la moldura del asiento.
Important: Este paso se aplica solamente a máquinas Workman HDX-Auto.
Note: Debe añadir el conducto de admisión de la CVT del capó a este kit en las máquinas Workman HDX-Auto. Consulte a su Servicio Técnico Autorizado.
Alinee el panel de la consola central sobre las varillas de control de la consola central (Figura 3 y Figura 5) y sujete el panel con los tornillos que retiró en el paso Retirada del panel de la consola central y los asientos.
Instale los pomos que retiró en Retirada del panel de la consola central y los asientos.
Alinee las pestañas izquierda y derecha del soporte del depósito de refrigerante con el alojamiento del depósito del refrigerante de la moldura del asiento (Figura 8).
Inserte el depósito en el alojamiento hasta que esté firmemente asentado (Figura 8).
Consulte el Manual del operador de la máquina.
Conecte el cable positivo a la batería.
Apriete la tapa de la batería, alinee las pestañas con la base de la batería, y suelte la tapa de la batería.
Note: Consulte el Manual del operador de la máquina.
Baje la plataforma; consulte el Manual del Operador.
Alinee la parte inferior del capó con la parte superior del parachoques.
Conecte los faros.
Introduzca las pestañas de montaje superiores en las ranuras del chasis.
Introduzca las pestañas de montaje inferiores en los alojamientos del parachoques.
Asegúrese de que el capó está correctamente enganchado en las ranuras superiores, inferiores y laterales.
Levante los cierres para abrir el parabrisas (Figura 49). Presione el cierre para bloquear el parabrisas en la posición de abierto. Tire hacia fuera y hacia abajo del cierre para cerrar y bloquear el parabrisas.
