![]() |
Des autocollants de sécurité et des instructions bien visibles par l'utilisateur sont placés près de tous les endroits potentiellement dangereux. Remplacez tout autocollant endommagé ou manquant. |




Garez la machine sur une surface plane et horizontale.
Serrez le frein de stationnement.
Levez et déposez le plateau de la machine (selon l'équipement).
Note: Reportez-vous au Manuel de l'utilisateur de la machine pour plus de détails sur les procédures de levage et de dépose du plateau.
Coupez le moteur et enlevez la clé.
Débranchez la batterie ; voir le Manuel de l'utilisateur.
Saisissez le capot par les ouvertures des phares et soulevez-le pour dégager les pattes de fixation inférieures des fentes du pare-chocs (Figure 1).

Faites pivoter le bas du capot vers le haut jusqu'à ce que vous puissiez dégager les pattes de fixation supérieures des fentes du châssis (Figure 1).
Faites pivoter le haut du capot en avant et débranchez les connecteurs des fils des phares (Figure 1).
Déposez le capot.
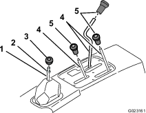
Dévissez et déposez le pommeau de tous les leviers de la console et du levier de vitesse (Figure 2).

Retirez l'écrou de blocage du levier de vitesse (Figure 2).
Retirez les 6 vis qui fixent le bord extérieur de la plaque de protection de la console centrale au cadre et déposez la plaque de protection (Figure 3).

Enlevez le pommeau de tous les leviers de la console et du levier de vitesse en les tournant dans le sens antihoraire (Figure 4).

Retirez les 4 vis à tête hexagonale qui fixent le couvercle de l'indicateur de sélection au carénage du siège (Figure 5).

Soulevez l'indicateur de sélection, débranchez le connecteur de l'indicateur du connecteur de faisceau de la machine et déposez le couvercle de l'indicateur de la machine (Figure 5).
Retirez les 6 vis à tête hexagonale qui fixent le couvercle de commande au carénage du siège, et déposez le couvercle de commande (Figure 5).
Retirez les 8 boulons à tête creuse qui fixent les glissières du siège au châssis et déposez les sièges (Figure 6).

Déposez le collier qui fixe la gaine de refroidissement de CVT à la bride de l'admission de CVT au dos du panneau du système ROPS côté passager (Figure 7).

Soulevez le réservoir de liquide de refroidissement et déposez-le du logement du support au dos du carénage du siège (Figure 8).

Placez le réservoir de liquide de refroidissement à la verticale sur le moteur/châssis.
Workman HDX :
Serrez le frein de stationnement (Figure 11).

Déplacez la tige de blocage du différentiel en avant et vers la droite pour la verrouiller en position engagée (Figure 11).
Workman HDX-Auto :
Débranchez le connecteur de l'indicateur de sélection du faisceau de la machine (Figure 12).

Soulevez et écartez la commande centrale pour accéder aux ressorts de suspension.
Pour les deux modèles :
Soulevez le carénage du siège et déposez-le de la machine (Figure 13).

Workman HDX-Auto :
Retirez les boulons qui fixent la vanne de levage au support des commandes et les écrous qui fixent le support des commandes sur la machine (Figure 14).

Une machine en appui sur un cric peut être instable ; elle peut tomber et blesser la personne qui se trouve dessous.
Ne mettez pas le moteur en marche lorsque la machine est soutenue par un cric, car les vibrations du moteur ou la rotation des roues pourraient la faire tomber du cric.
Retirez toujours la clé du commutateur d'allumage avant de quitter la machine.
Calez les roues quand la machine est soutenue par un cric.
Ne travaillez pas sous la machine à moins qu'elle ne soit soutenue par des chandelles. La machine pourrait glisser du cric et blesser la personne qui se trouve dessous.
Lorsque vous soulevez l'avant de la machine, placez une cale de 5 x 10 cm (ou un objet similaire) entre le cric et le cadre de la machine.
Le point de levage à l'avant de la machine se trouve sous le support de cadre central avant (Figure 15).

Pièces nécessaires pour cette opération:
| Ressort de compression (noir) | 2 |
Utilisez un outil pour ressort de compression comme spécifié à la Figure 17, et insérez la tige du ressort de compression dans les trous de chaque support de ressort (Figure 18).
Important: Faites attention lors de la dépose du support de ressort, car le ressort est comprimé.


Mesurez et notez la longueur des ressorts.
Montez les écrous et les rondelles à chaque bout de la tige (Figure 19).

Serrez 1 écrou sur chaque tige pour fixer les ressorts (Figure 19).
Retirez les boulons et les écrous au bout de chaque biellette de barre stabilisatrice (A de Figure 20).
Retirez les boulons et les écrous du bras de commande qui fixent chaque support de ressort (B de Figure 20).
Déposez les supports de ressort et les ressorts de la machine (C de Figure 20).
Note: Notez la position des autocollants sur les supports de ressort. Les supports devront être reposés au même emplacement.

Déposez les ressorts actuels des supports et placez les ressorts fournis dans ce kit (ressorts noirs) dans les supports.
À l'aide de la tige de l'outil pour ressort de compression, comprimez les ressorts à la valeur mesurée à l'opération 3.
Remettez les ressorts et le support dans la machine.
Reposez les boulons et écrous retirés précédemment des biellettes de barre stabilisatrice et du bras de commande.
Montez les roues avant et abaissez la machine.
Serrez les écrous de roues à un couple de 109 à 122 N·m.
Pièces nécessaires pour cette opération:
| Tôle de protection intérieure | 1 |
| Bride de tôle de protection | 2 |
| Boulon à embase hexagonale (¼" x ¾") | 6 |
| Écrou à embase (¼") | 8 |
| Butée en caoutchouc | 2 |
| Rondelle | 2 |
| Attache-câble | 2 |
Positionnez les brides de la tôle de protection sur le bord inférieur du cadre du socle du siège, et servez-vous d'elles comme gabarit pour repérer et percer 3 trous (5/16") de chaque côté du cadre du socle (Figure 21).

Fixez la tôle de protection intérieure et les brides à l'aide de 6 boulons à tête hexagonale et embase (¼" x ¾") et 6 écrous à embase (¼"), comme montré à la Figure 22.

Abaissez le rabat et poussez-le derrière le rebord du plancher (Figure 23).
Fixez le rabat autour du tube central du cadre avec 2 serre-câbles (Figure 23).

Montez une butée en caoutchouc avec une rondelle et un écrou à embase (¼") de chaque côté (Figure 24).

Pièces nécessaires pour cette opération:
| Support gauche | 1 |
| Support droit | 1 |
| Boulon de réglage (⅜" x 2") | 2 |
| Écrou hexagonal (⅜") | 2 |
| Boulon à tête hexagonale et embase (⅜" x 1") | 4 |
| Écrou à embase (⅜") | 4 |
| Patte de montage de cabine avant | 2 |
| Boulon à tête hexagonale (7/16") | 2 |
| Rondelle de butée | 2 |
| Contre-écrou (½") | 2 |
| Support élastique | 2 |
| Entretoise | 2 |
| Rondelle | 2 |
| Contre-écrou | 2 |
| Boulon à embase (½" x 2¼") | 2 |
Fixez les pattes de montage arrière sur la machine (Figure 25) au moyen des fixations retirées du système ROPS à l'opération Dépose de la structure ROPS.

Serrez les boulons à un couple de 94 à 108 N·m.
Fixez les supports gauche et droit aux pattes de montage avant de la cabine à l'aide de 2 boulons à tête hexagonale et embase (⅜" x 1") et de 2 écrous à embase (3/8") de chaque côté (Figure 26).
Utilisez les trous eu centre du support pour le montage.
Insérez le boulon de réglage (⅜" x 2") et l'écrou hexagonal (3/8") dans les supports gauche et droit de chaque côté de la machine (Figure 26).

Fixez les pattes de montage avant de la cabine de chaque côté à l'aide de d'un boulon à tête hexagonale (7/16"), une rondelle de butée et un contre-écrou (½") (Figure 27).

Fixez les 2 supports élastiques de chaque côté avec un boulon à embase (½" x 2¼"), une entretoise, une rondelle et un contre-écrou (Figure 28).
Note: Utilisez de l'eau savonneuse pour faciliter la pose des supports élastiques.

Pour les deux modèles :
Placez l'ouverture dans le carénage du siège prévue pour le frein de stationnement en face de la poignée du frein de stationnement.
Placez le trou dans le soufflet du levier sélecteur devant la tige du levier sélecteur.
Placez l'ouverture du carénage du siège en face des tiges de levage du plateau, de sélection de gamme haute/basse et de blocage du différentiel.
Abaissez le carénage du siège.
Placez les trous dans le carénage prévus pour le montage du siège en face des supports de siège du châssis.
Ne serrez pas les vis.
Branchez l'indicateur de sélection et fixez le support des commandes avec les vis (Figure 12 et Figure 14) que vous avez retirées sous Dépose du carénage du siège.
Important: Cette opération ne concerne que les modèles Workman HDX-Auto.
Pièces nécessaires pour cette opération:
| Panneau latéral | 2 |
| Cadre de cabine | 1 |
| Boulon (½") | 4 |
| Rondelle (½") | 4 |
| Écrou (½") | 4 |
| Joint inférieur de tablier | 1 |
Desserrez les boulons sur les tôles de protection d'un tour environ afin de pouvoir glisser les panneaux latéraux en place.
Glissez les panneaux latéraux entre le carénage du siège et les tôles de protection latérales (Figure 29).
Note: Assurez-vous que les panneaux sont bien en place avant de serrer les boulons.

Serrez tous les boulons sur les ailes.
Note: Ne serrez pas les boulons excessivement.
Montez le joint inférieur de tablier sur la cabine (Figure 30).
Veillez à placer le bord long du joint à l'avant (Figure 30).

Tenez le cadre de la cabine par les points de levage et placez-le sur la machine (Figure 31).
Note: Avant d'abaisser la cabine sur la machine, appliquez de l'eau savonneuse sur le tablier pour maintenir le joint inférieur lubrifié.
Note: Assurez-vous que les bords avant et arrière du joint inférieur ne se retournent pas pendant l'installation.

Fixez le cadre à la machine au moyen de 4 boulons (½"), 4 rondelles (½") et 4 écrous (½"), comme montré à la Figure 32.
Note: Ne serrez pas les 4 boulons (½").

Ajustez la cabine latéralement jusqu'à ce qu'elle soit centrée.
Utilisez le boulon de réglage (Figure 26) pour centrer la cabine.
Serrez les 4 boulons (½") à un couple de 91 à 113 N·m.
Pièces nécessaires pour cette opération:
| Faisceau de câblage | 1 |
| Attache-câbles | 4 |
| Fusible (30 A) | 1 |
Acheminez le faisceau de câblage comme montré à la Figure 33 et attachez-le avec les 4 serre-câbles.

Reliez la cosse en anneau du faisceau au bloc de mise à la masse et insérez le connecteur du porte-fusibles dans une connexion libre (Figure 34).
Note: Si aucune connexion n'est libre, vous devez ajouter un porte-fusibles au groupe de porte-fusibles. Pour plus de renseignements, contactez votre concessionnaire-réparateur agréé.

Pièces nécessaires pour cette opération:
| Plaque d'appui | 1 |
| Plaque de réglage | 1 |
| Boulon entièrement fileté (½" x 4") | 1 |
| Écrou à embase (1/2") | 1 |
| Plaque de butée | 1 |
| Boulon de carrosserie (¼" x 1¾") | 4 |
| Écrou à embase (¼") | 4 |
Mesurez 20,7 cm à à gauche du bord inférieur du support de capot et repérez cet emplacement (Figure 35).

Fixez la plaque de réglage et la plaque d'appui au tube de support du tablier à l'aide des 4 boulons de carrosserie (¼" x 1-3/4") et écrous à embase (¼"), comme montré à la Figure 36.

Montez le boulon entièrement fileté (½" x 4"), l'écrou à embase (½") et la plaque de butée sur la plaque de réglage (Figure 37).

Fermez l'espace entre le tablier et la cabine en vissant plus ou moins le boulon entièrement fileté (½" x 4") jusqu'à ce que la plaque de butée soit poussée vers le haut sur le tablier (Figure 38).

Pièces nécessaires pour cette opération:
| Gouttière d'évacuation | 1 |
| Tube transparent côté passager – 122 cm | 1 |
| Tube transparent côté conducteur – 43 cm | 1 |
| Tube transparent de plancher – 33 cm | 1 |
| Raccord en T | 1 |
| Support de serre-câble magnétique | 3 |
| Attache-câble | 3 |
Retirez les 5 boulons à embase hexagonale du tablier (Figure 39).
Conservez les 5 boulons à embase hexagonale.

Glissez la gouttière d'évacuation entre le tablier et le sous-cadre de la machine, et fixez-la en place avec les 5 boulons à embase hexagonale retirés précédemment (Figure 40).

Avec un cisaille de ferblantier, enlevez le tenon d'expédition de chaque côté de la gouttière d'évacuation (Figure 41).

Raccordez le tube transparent de 122 cm au tube transparent de 33 cm et au tube transparent de 43 cm avec le raccord en T (Figure 42).

En commençant du côté passager, faites passer le tube transparent connecté dans le plancher (avec la pédale d'embrayage) jusqu'au côté conducteur de la machine (Figure 43).
Attachez le tube transparent connecté avec les 3 serre-câbles magnétiques et les 3 serre-câbles ordinaires (Figure 43).

Pincez chaque extrémité du tube transparent et coupez-le à un angle de 45° (Figure 44).
Placez le tube transparent au fond de la gouttière d'évacuation de sorte que le haut de l'angle soit à l'extérieur de la machine mettez-le en place (Figure 44).

Pièces nécessaires pour cette opération:
| Panneau de plancher | 2 |
| Panneau latéral | 2 |
| Boulon (1/4") | 12 |
Montez les panneaux de plancher de chaque côté de la machine au moyen de 3 boulons (¼"), comme montré à la Figure 45.

Serrez les boulons à un couple de 10,17 à 12,43 N·m.
Montez les panneaux latéraux de chaque côté de la machine au moyen de 2 boulons (1/4"), comme montré à la Figure 46.

Serrez les boulons à un couple de 10,17 à 12,43 N·m.
Pièces nécessaires pour cette opération:
| Boulon (¼") | 2 |
| Entretoise | 2 |
| Barrette | 1 |
| Écrou (¼") | 2 |
| Capot d'admission de CVT (vendu séparément) | 1 |
Montez le tube de rangement du manuel de l'utilisateur (Figure 47).

Alignez les trous dans les glissières des sièges et les trous dans le carénage pour les positions de montage des sièges (Figure 6).
Fixez les sièges au châssis au moyen des 8 boulons à tête creuse (Figure 6) que vous avez retirés à l'opération Retrait des sièges.
Fixez la gaine de refroidissement de CVT (Figure 7) au raccord de tube d'admission à l'aide du collier que vous avez retiré sous Dépose de la gaine de refroidissement de CVT (HDX-Auto uniquement), du réservoir de liquide de refroidissement, du système de protection antiretournement (ROPS) et du carénage de siège..
Important: Cette opération ne concerne que les modèles Workman HDX-Auto.
Note: Vous devez ajouter le capot d'admission de CVT à ce kit pour les Workman HDX-Auto. Contactez un concessionnaire-réparateur agréé.
Alignez le panneau de console centrale sur les tiges de commande de la console (Figure 3 et Figure 5) et fixez-le à l'aide des vis que vous avez retirées sous Dépose du panneau de console centrale et des sièges.
Reposez les pommeaux que vous avez déposés sous Dépose du panneau de console centrale et des sièges.
Placez les brides gauche et droite du support du réservoir de liquide de refroidissement en face du support du réservoir sur le carénage de siège (Figure 8).
Abaissez le réservoir dans le support jusqu'à ce que le réservoir soit solidement appuyé (Figure 8).
Reportez-vous au Manuel de l'utilisateur de la machine.
Connectez le câble positif à la batterie.
Serrez le couvercle de la batterie, alignez les pattes sur la base de la batterie, et relâchez le couvercle de la batterie.
Note: Reportez-vous au Manuel de l'utilisateur de la machine.
Abaissez le plateau ; voir le Manuel de l'utilisateur.
Alignez le bas du capot sur le haut du pare-chocs.
Branchez les éclairages.
Insérez les languettes de montage supérieures dans les fentes du cadre.
Insérez les pattes de fixation inférieures dans les creux du pare-chocs.
Engagez bien le capot dans les rainures supérieure, latérales et inférieure.
Soulevez les fermetures pour ouvrir le pare-brise (Figure 49). Appuyez dessus pour bloquer le pare-brise ouvert en position. Tirez puis abaissez la fermeture pour fermer et verrouiller le pare-brise.
