![]() |
Veiligheidsstickers en veiligheidsinstructies zijn gemakkelijk zichtbaar voor de bestuurder en bevinden zich bij plaatsen waar gevaar kan ontstaan. Vervang alle beschadigde of ontbrekende stickers. |




Parkeer de machine op een horizontaal oppervlak.
Stel de parkeerrem in werking.
Verwijder de laadbak of breng deze omhoog, als de machine met een laadbak is uitgerust.
Note: Raadpleeg de Gebruikershandleiding van de machine voor meer informatie over hoe u de laadbak kunt verwijderen of overeind zetten.
Zet de motor af en haal het sleuteltje uit het contact.
Koppel de accu los; raadpleeg de Gebruikershandleiding.
Pak de motorkap beet via de openingen van de koplampen en til de motorkap op om de onderste montagelipjes uit de sleuven in de bumper te laten klikken (Figuur 1).

Draai de onderkant van de motorkap omhoog tot u de bovenste montagelipjes uit de sleuven in het frame kunt trekken (Figuur 1).
Draai de bovenzijde van de motorkap naar voren en koppel de kabelstekkers van de koplampen los (Figuur 1).
Verwijder de motorkap.
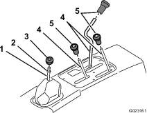
Schroef al de knoppen van de bedieningshendels en van de schakelhendel los en verwijder de knoppen (Figuur 2).

Verwijder de contramoer van de schakelhendel (Figuur 2).
Verwijder de 6 schroeven waarmee de buitenste rand van de afdekplaat van het middelste bedieningspaneel is bevestigd aan het chassis en verwijder de afdekplaat (Figuur 3).

Verwijder alle knoppen van de bedieningshendels en van de transmissiehendel door de knoppen naar links te draaien (Figuur 4).

Verwijder de 4 inbusschroeven waarmee het scherm van de schakelindicator aan het stoelscherm is bevestigd (Figuur 5).

Til de schakelindicator op, maak de indicatoraansluiting los van de kabelboomaansluiting van de machine en verwijder het paneel van de indicator (Figuur 5).
Verwijder de 6 inbusschroeven waarmee het bedieningspaneel aan het stoelscherm bevestigd is en verwijder het bedieningspaneel (Figuur 5).
Verwijder de 8 inbusbouten waarmee de stoelrails aan het chassis zijn bevestigd en verwijder de stoelen (Figuur 6).

Verwijder de slangklem waarmee de CVT-koelleiding bevestigd is aan de flens van de CVT-inlaat aan de achterkant van het paneel van de rolbeugel aan de passagierszijde (Figuur 7).

Til de koeltank op en uit de bevestigingsbeugel aan de achterkant van het stoelscherm (Figuur 8).

Zet de koeltank rechtop op de motor/het chassis.
Voor Workman HDX machines:
Stel de parkeerrem in werking (Figuur 11).

Zet de stang van de differentieelvergrendeling naar voren en rechts om deze in de ingeschakelde stand te borgen (Figuur 11).
Voor Workman HDX machines met automatische transmissie:
Koppel de connector van de schakelindicator los van de kabelboom van de machine (Figuur 12).

Til de centrale bedieningseenheid op en draai ze uit de weg om toegang te krijgen tot de draagveren.
Beide machines:
Til het stoelscherm op en neem het van de machine (Figuur 13).

Voor Workman HDX machines met automatische transmissie:
Verwijder de bouten waarmee de hefklep is bevestigd aan de houder van het bedieningspaneel en de moeren en bouten waarmee de houder van het bedieningspaneel aan de machine is bevestigd (Figuur 14).

Een opgekrikte machine kan wankel staan en van de krik glijden waardoor iemand die zich onder de machine bevindt letsel kan oplopen.
U mag de machine nooit starten als deze is opgekrikt, omdat de machine van de krik kan afglijden door de trilling van de motor of de beweging van de wielen.
Haal altijd het sleuteltje uit het contact voordat u de machine verlaat.
Blokkeer de wielen als de machine is opgekrikt.
Werk nooit onder de machine zonder dat ze wordt ondersteund door assteunen. De machine kan van de krik afglijden, waardoor iemand die zich eronder bevindt, letsel kan oplopen.
Als u de voorkant van de machine omhoogkrikt, moet u een blok hout (of iets vergelijkbaars) van 5 x 10 cm tussen de krik en het frame van de machine plaatsen.
Het krikpunt aan de voorkant van de machine bevindt zich onder het middelste steunpunt van het voorframe (Figuur 15).

Benodigde onderdelen voor deze stap:
| Drukveer (zwart) | 2 |
Gebruik een veerspanner zoals omschreven in Figuur 17, monteer de drukveerstang langs de gaten in de veersteunen (Figuur 18).
Important: Wees voorzichtig wanneer u de veersteun verwijdert: de veer is samengedrukt.


Meet de lengte van de veren en schrijf deze op.
Monteer de moeren en ringen op de beide uiteinden van de stang (Figuur 19).

Draai van elke stang 1 moer vast om de veren vast te zetten (Figuur 19).
Verwijder de bouten en moeren van de uiteinden van de stabilisatiekoppelingen (A in Figuur 20).
Verwijder de bouten en moeren van de bedieningsarm die de veersteunen op hun plaats houdt (B in Figuur 20).
Verwijder de veersteunen en veren van de machine (C in Figuur 20).
Note: Let op de locatie van de stickers op de veersteunen. U moet de steunen op dezelfde locatie terugplaatsen.

Verwijder de oude veren van de veersteunen en plaats de veren uit deze set (zwarte veren) in de veersteunen.
Gebruik de stang van de veerspanner om de veren samen te drukken tot de waarde gemeten in stap 2.
Plaats de veren en de steun terug op de machine.
Monteer de bouten en moeren die u eerder verwijderd hebt van de stabilisatiekoppelingen en de bedieningsarm.
Monteer de voorwielen en laat de machine neer.
Draai de wielmoeren vast met een torsie van 109 tot 122 N·m.
Benodigde onderdelen voor deze stap:
| Binnenste spatscherm | 1 |
| Band van spatscherm | 2 |
| Zeskantige flensbout (¼" x ¾") | 6 |
| Flensmoer (¼") | 8 |
| Rubberen aanslag | 2 |
| Ring | 2 |
| Tie-wrap | 2 |
Plaats de banden van het spatscherm aan de onderste rand van het frame van de stoelbasis; gebruik de banden als sjabloon om aan weerszijden van het frame van de stoelbasis 3 gaten (5/16") te markeren en te boren (Figuur 21).

Monteer het binnenste spatscherm en de banden van het spatscherm; gebruik hiervoor 6 zeskantige flensbouten (¼" x ¾") en 6 flensmoeren (¼"), zie Figuur 22.

Vouw de klep omlaag en stop ze achter de vloerflens (Figuur 23).
Bevestig de klep met 2 kabelbinders rond de middelste framebuis (Figuur 23).

Monteer aan weerszijden een rubberen aanslag met een onderlegring en een flensmoer (¼") (Figuur 24).

Benodigde onderdelen voor deze stap:
| Linkerbeugel | 1 |
| Rechterbeugel | 1 |
| Stelbout (⅜" x 2") | 2 |
| Zeskantige moer (⅜") | 2 |
| Zeskantige flensbout (⅜" x 1") | 4 |
| Flensmoer (⅜") | 4 |
| Voorste montagebeugel cabine | 2 |
| Zeskantbout (7/16") | 2 |
| Drukring | 2 |
| Borgmoer (½") | 2 |
| Rubberen demper | 2 |
| Afstandsstuk | 2 |
| Ring | 2 |
| Borgmoer | 2 |
| Flenskopbout (½" x 2¼") | 2 |
Monteer de achterste beugels op de machine (Figuur 25). Gebruik het bevestigingsmateriaal dat u van de rolbeugel hebt verwijderd in De rolbeugel verwijderen.

Draai de bouten vast met een torsie van 94 tot 108 N·m.
Monteer de linkerbeugel en de rechterbeugel op de voorste montagebeugels van de cabine; gebruik hierbij 2 zeskantige flensbouten (⅜" x 1") en 2 flensmoeren (⅜") aan elke kant (Figuur 26).
Gebruik bij de montage de middelste gaten in de beugel.
Monteer de stelbout (⅜" x 2") en de zeskantige moer (⅜") in de linkerbeugel en de rechterbeugel aan weerszijden van de machine (Figuur 26).

Monteer de voorste montagebeugels van de cabine; gebruik hierbij een zeskantbout (7/16"), een drukring en een borgmoer (½") aan weerszijden (Figuur 27).

Monteer de 2 rubberen dempers met een flenskopbout (½" x 2¼"), afstandsstuk, ring en borgmoer aan weerszijden (Figuur 28).
Note: Gebruik water met zeep om de montage van de beugelsteunen te vergemakkelijken.

Beide machines:
Lijn de opening in het stoelscherm voor de parkeerrem uit met de parkeerremhendel.
Lijn de opening in de kap van de schakelhendel uit met de stang van de schakelhendel.
Lijn de opening in het stoelscherm uit voor de stangen van de laadbakbediening, de hendel voor hoog/laag bereik en de differentieelvergrendeling.
Laat het stoelscherm zakken.
Lijn de openingen in het scherm voor de stoelbeugel uit met de stoelbevestigingsbeugels van het chassis.
Draai de bouten niet aan.
Sluit de schakelindicator aan en bevestig de houder van het bedieningspaneel met de schroeven (Figuur 12 en Figuur 14) die u hebt verwijderd in Het stoelscherm verwijderen.
Important: Deze stap is alleen bedoeld voor Workman HDX machines met automatische transmissie.
Benodigde onderdelen voor deze stap:
| Zijpaneel | 2 |
| Cabineframe | 1 |
| Bout (½") | 4 |
| Ring (½") | 4 |
| Moer (½") | 4 |
| Onderste afdichting van dashboard | 1 |
Zet de bouten van de spatschermen ongeveer 1 slag los zodat u de zijpanelen op hun plaats kunt schuiven.
Schuif de zijpanelen tussen het stoelscherm en de zijspatschermen (Figuur 29).
Note: Zorg dat de panelen helemaal op hun plaats zitten voordat u de bouten aandraait.

Draai de bouten van de spatschermen vast.
Note: Draai de bouten niet te vast aan.
Monteer de onderste afdichting van het dashboard op de cabine (Figuur 30).
Zorg dat u de afdichting monteert met de lange lip naar voren (Figuur 30).

Hou het cabineframe vast aan de hefpunten en plaats het op de machine (Figuur 31).
Note: Voordat u de cabine op de machine laat zakken, dient u water met zeep aan te brengen op het dashboard; zo zorgt u dat de onderste afdichting van het dashboard goed gesmeerd blijft.
Note: Zorg dat de voorste en achterste lip van de onderste afdichting van het dashboard er tijdens de montage onder rollen.

Bevestig het frame met de 4 bouten (½"), 4 ringen (½") en 4 moeren (½") aan de machine zoals getoond in Figuur 32.
Note: Draai de 4 bouten niet aan (½").

Stel de cabine in de breedterichting af zodat ze in het midden staat.
Gebruik de stelbout (Figuur 26) om de cabine in het midden te stellen.
Draai de 4 bouten (½") aan met een torsie van 91 tot 113 N·m.
Benodigde onderdelen voor deze stap:
| Kabelboom | 1 |
| Kabelbinders | 4 |
| Zekering (30 A) | 1 |
Leid de kabelboom zoals wordt getoond in Figuur 33 en bevestig hem met de 4 kabelbinders.

Sluit de ringaansluiting van de kabelboom aan op het aardingsblok en plaats de connector van de zekeringhouder in een beschikbare aansluiting van de zekeringhouder (Figuur 34).
Note: Als er geen beschikbare aansluiting in de zekeringhouders is, moet u een zekeringhouder toevoegen aan de zekeringhoudergroep. Neem voor verdere informatie contact op met een erkende Toro dealer.

Benodigde onderdelen voor deze stap:
| Steunplaat | 1 |
| Stelplaat | 1 |
| Tapbout (½" x 4") | 1 |
| Flensmoer (½") | 1 |
| Aanslagplaat | 1 |
| Slotbout (¼" x 1¾") | 4 |
| Flensmoer (¼") | 4 |
Meet 20,7 cm naar links vanaf de onderste rand van de motorkapbeugel en breng een markering aan op deze plaats (Figuur 35).

Monteer de stelplaat en de steunplaat op de steunbuis van het dashboard; gebruik hierbij de 4 slotbouten (¼" x 1¾") en flensmoeren (¼") zoals afgebeeld in Figuur 36.

Monteer de tapbout (½" x 4"), de flensmoer (½") en de aanslagplaat op de stelplaat (Figuur 37).

Neem de speling tussen het dashboard en de cabine weg door de tapbout (½" x 4") zo af te stellen dat de aanslagplaat omhoogduwt tegen het dashboard (Figuur 38).

Benodigde onderdelen voor deze stap:
| Goot | 1 |
| Doorzichtige buis passagierszijde – 122 cm | 1 |
| Doorzichtige buis bestuurderszijde – 43 cm | 1 |
| Doorzichtige buis vloer – 33 cm | 1 |
| T-fitting | 1 |
| Magneetbevestiging voor kabelbinder | 3 |
| Kabelbinder | 3 |
Verwijder de 5 zeskantbouten met flens van het dashboard (Figuur 39).
Bewaar de 5 zeskantbouten met flens.

Schuif de goot tussen het dashboard van de machine en het onderframe, en bevestig de goot met de 5 zeskantbouten met flens die u eerder verwijderd hebt (Figuur 40).

Gebruik een metaalschaar om de transportbevestiging aan weerszijden van de goot te verwijderen (Figuur 41).

Sluit de doorzichtige buis van 122 cm aan op de doorzichtige buis van 33 cm en de doorzichtige buis van 43 cm; gebruik hiervoor de T-fitting (Figuur 42).

Leid de aangesloten doorzichtige buis vanaf de passagierszijde omlaag door de vloerplaat (met het koppelingspedaal) naar de bestuurderszijde van de machine (Figuur 43).
Bevestig de aangesloten doorzichtige buis met de 3 magneetbevestigingen voor kabelbinders en 3 kabelbinders (Figuur 43).

Knijp de uiteinden van de doorzichtige buis samen en snij deze af in een hoek van 45° (Figuur 44).
Lijn de doorzichtige buis uit met de onderkant van de goot, zodat het bovenste deel van de hoek aan de buitenkant van de machine zit; monteer de buis (Figuur 44).

Benodigde onderdelen voor deze stap:
| Bodempaneel | 2 |
| Zijpaneel | 2 |
| Bout (¼") | 12 |
Benodigde onderdelen voor deze stap:
| Bout (¼") | 2 |
| Afstandsstuk | 2 |
| Band | 1 |
| Moer (¼ inch) | 2 |
| Kap van CVT-invoer (wordt afzonderlijk verkocht) | 1 |
Montage van koker voor de Gebruikershandleiding (Figuur 47).

Lijn de openingen in de stoelrails uit met de openingen in het scherm voor de montagelocaties van de stoel (Figuur 6).
Bevestig de stoelen aan het chassis met de 8 inbusbouten (Figuur 6) die u verwijderd hebt in stap Stoelen verwijderen.
Bevestig de CVT-koelleiding (Figuur 7) aan de aansluiting voor de invoerslang met de slangklem die u hebt verwijderd in De CVT-koelleiding (uitsluitend bij HDX machines met automatische transmissie), koeltank, rolbeugel en het stoelscherm verwijderen.
Important: Deze stap is alleen bedoeld voor Workman HDX machines met automatische transmissie.
Note: U moet de kap van de CVT-invoer toevoegen aan deze set voor Workman HDX machines met automatische transmissie. Neem contact op met een erkende servicedealer.
Lijn het middelste bedieningspaneel uit over de bedieningsstangen aan de middelste bedieningseenheid (Figuur 3 en Figuur 5) en bevestig het paneel met de schroeven die u hebt verwijderd in Het middelste bedieningspaneel en de stoelen verwijderen.
Monteer de knoppen die u verwijderd hebt in Het middelste bedieningspaneel en de stoelen verwijderen.
Lijn de linker- en rechterflenzen van de koeltankbeugel uit met de koeltanksteun op het stoelscherm (Figuur 8).
Laat de tank in de steun zakken tot de tank stevig op zijn plaats zit (Figuur 8).
Raadpleeg de Gebruikershandleiding van de machine.
Sluit de pluskabel op de accu aan.
Knijp het accudeksel samen, lijn de lipjes uit met de accubasis en laat het accudeksel los.
Note: Raadpleeg de Gebruikershandleiding van de machine.
Laat de laadbak zakken; raadpleeg de Gebruikershandleiding.
Breng de onderkant van de motorkap op één lijn met de bovenkant van de bumper.
Sluit de lampen aan.
Steek de bovenste montagelipjes in de sleuven van het frame.
Steek de onderste montagelipjes in de openingen in de bumper.
Controleer of de motorkap goed in de groeven aan de bovenzijde, de zijkanten en de onderzijde valt.
Til de vergrendelingen op om de voorruit te openen (Figuur 49). Druk op de vergrendeling om de ruit in de geopende stand te vergrendelen. Trek de vergrendeling uit en omlaag om de ruit te sluiten en vast te zetten.
