![]() |
Tehlike potansiyeli barındıran tüm noktalara, operatör tarafından kolayca görülebilecek emniyet etiketleri ve talimatları yerleştirilmiştir. Hasar gören veya kaybolan etiketleri yenisiyle değiştirin. |




Makineyi düz bir zemine park edin.
Park frenini etkinleştirin.
Kasayı (varsa) yukarı kaldırın veya makineden çıkarın.
Note: Kasanın yukarı kaldırılması ve çıkarılması hakkında detaylı bilgi için makinenin Kullanma Kılavuzuna bakın.
Motoru kapatın ve anahtarı çıkarın.
Akü bağlantısını ayırın; bkz. Kullanma Kılavuzu.
Kaportayı far açıklıklarından elinizle tutarken yukarı kaldırarak alt montaj tırnaklarını tampondaki oyuklardan çıkarın (Şekil 1).

Kaportanın alt kısmını, üst montaj tırnaklarını çerçeve yarıklarından çekebilene kadar yukarı kaldırın (Şekil 1).
Kaportanın üst kısmını ileri doğru çevirin ve kablo konnektörlerini farlardan çıkarın (Şekil 1).
Kaportayı çıkarın.
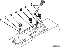
Tüm düğmeleri saat yönünün aksine döndürerek konsol kollarından ve vites kolundan çıkarın (Şekil 4).

Vites göstergesi kapağını koltuk kılıfına sabitleyen 4 adet altıgen vidayı sökün (Şekil 5).

Vites göstergesini yukarı kaldırın, göstergenin konnektörünü makinenin kablo demeti konnektöründen ayırın ve gösterge kapağını makineden çıkarın (Şekil 5).
Kontrol kapağını koltuk kılıfına sabitleyen 6 adet altıgen vidayı sökün ve kontrol kapağını çıkarın (Şekil 5).
Koltuk raylarını şasiye sabitleyen 8 adet düz başlı cıvatayı sökün ve koltukları yerinden çıkarın (Şekil 6).

CVT soğutma kanalını yolcu tarafındaki ROPS panelinin arkasında bulunan CVT girişinin flanşına sabitleyen hortum kelepçesini çıkarın (Şekil 7).

Soğutma sıvısı deposunu, koltuk kılıfının arkasındaki destek cebinden yukarı doğru kaldırın ve dışarı doğru çekip çıkarın (Şekil 8).

Soğutma suyu deposunu motora/şasiye dik olarak yerleştirin.
Workman HDX Makineler için:
Park frenini etkinleştirin (Şekil 11).

Diferansiyel kilidi çubuğunu ileri ve sağa doğru hareket ettirerek kavraşmış konumuna kilitleyin (Şekil 11).
Workman HDX-Auto makineler için:
Vites göstergesi konnektörünü makine kablo demetinden çıkarın (Şekil 12).

Süspansiyon yaylarına erişmek için merkezi kontrol donanımını yukarı kaldırıp dışarı doğru döndürün.
Her iki makine için:
Koltuk kılıfını yukarı kaldırın ve makineden çıkarın (Şekil 13).

Workman HDX-Auto makineler için:
Kaldırma valfini kontrol braketine sabitleyen cıvataları ve kontrol braketini makineye sabitleyen somunlar ile cıvataları sökün (Şekil 14).

Krikoya yerleştirilmiş bir makine dengesini kaybedebilir ve altındaki kişiyi yaralayabilir.
Makine krikonun üzerindeyken makinenin motorunu çalıştırmayın, aksi takdirde motorun yaratacağı titreşim makinenin krikodan düşmesine neden olabilir.
Makineden ayrılmadan önce anahtarı kontaktan mutlaka çıkarın.
Makine bir krikonun üzerindeyken lastiklerin altına takoz yerleştirin.
Makinenin altında, makineyi destekleyen kriko ayakları olmadan çalışmayın. Makine aniden krikodan düşerek altındaki birini yaralayabilir.
Makinenin ön kısmını krikoyla kaldıracağınız zaman, kriko ile makine çerçevesinin arasına 2 x 4 bir takoz (veya benzer bir malzeme) koyun.
Makinenin önünde bulunan krikoyla kaldırma noktası, ön orta çerçeve desteğinin altında bulunur (Şekil 15).

Bu prosedür için gerekli parçalar:
| Sıkıştırma yayı (arka) | 2 |
Şekil 17 ile gösterildiği gibi bir sıkıştırma yayı aleti kullanarak, sıkıştırma yayı çubuğunu her bir yay yatağındaki deliklerden geçirin (Şekil 18).
Important: Yay yatağını yerinden çıkarırken dikkatli olun, yay basınç altındadır.


Yayların uzunluğunu ölçün ve not edin.
Somunları ve rondelaları çubuğun her iki ucuna takın (Şekil 19).

Yayları sabitlemek için her çubuktaki 1 somunu sıkın (Şekil 19).
Her bir stabilizatör bağlantısının ucundaki cıvata ve somunları sökün (Şekil 20 kısmındaki A).
Her bir yay yatağını sabitleyen kontrol kolundaki cıvata ve somunları sökün (Şekil 20 kısmındaki B).
Yay yataklarını ve yayları makineden (Şekil 20 kısmındaki C) çıkarın.
Note: Yay yataklarının üzerindeki etiketlerin konumunu not edin. Yatakların tekrar aynı yere yerleştirilmeleri gerekecektir.

Yay yataklarındaki mevcut yayları yerinden çıkarın ve bu setten çıkan yayları (siyah yaylar) yay yataklarının içine yerleştirin.
Yayları 3 adımında belirlenen ölçüye kadar sıkmak için sıkıştırma yayı aletini kullanın.
Yayları ve yatağı tekrar makineye yerleştirin.
Daha önce söktüğünüz cıvata ve somunları tekrar stabilizatör bağlantılarına ve kontrol koluna takın.
Ön tekerlekleri takın ve makineyi indirin.
Bijon somunlarını 109 ila 122 Nm torkla sıkın.
Bu prosedür için gerekli parçalar:
| İç çamurluk | 1 |
| Çamurluk kayışı | 2 |
| Altıgen başlı, flanşlı cıvata (¼ x ¾ inç) | 6 |
| Flanşlı somun (¼ inç) | 8 |
| Kauçuk tampon | 2 |
| Rondela | 2 |
| Kablo bağı | 2 |
Çamurluk kayışlarını koltuk tabanı çerçevesinin alt kenarında hizalayın ve çamurluk kayışlarını şablon olarak kullanarak koltuk tabanı çerçevesinin her iki tarafında 3 adet delik (5/16 inç) işaretleyin ve delin (Şekil 21).

6 adet altıgen başlı flanşlı cıvatayı (¼ x ¾ inç) ve 6 adet flanşlı somunu (¼ inç) kullanarak, iç çamurluğu ve çamurluk kayışlarını Şekil 22 ile gösterildiği gibi takın.

Kapağı aşağı katlayın ve taban flanşının arkasına geçirin (Şekil 23).
Kapağı, 2 adet kablo bağıyla orta çerçeve borusunun etrafına sabitleyin (Şekil 23).

Bir rondela ve flanşlı somun (¼ inç) kullanarak her iki tarafa da bir adet kauçuk tampon takın (Şekil 24).

Bu prosedür için gerekli parçalar:
| Sol montaj grubu | 1 |
| Sağ montaj grubu | 1 |
| Ayar cıvatası (3/8 x 2 inç) | 2 |
| Altıgen somun (3/8 inç) | 2 |
| Altıgen başlı flanşlı cıvata (3/8 x 1 inç) | 4 |
| Flanşlı somun (⅜ inç) | 4 |
| Ön kabin montaj braketi | 2 |
| Altıgen cıvata (7/16 inç) | 2 |
| Baskı pulu | 2 |
| Kilit somunu (½ inç) | 2 |
| Kauçuk izolatör | 2 |
| Ara parça | 2 |
| Rondela | 2 |
| Kilit somunu | 2 |
| Flanş başlı cıvata (½ x 2-¼ inç) | 2 |
ROPS Donanımının Yerinden Çıkarılması ile gösterildiği ROPS grubundan çıkarılan donanımı kullanarak arka braketleri makineye takın (Şekil 25).

Cıvataları 94 ila 108 Nm torkla sıkın.
Sol montaj grubu ile sağ montaj grubunu, 2 adet altıgen başlı flanşlı cıvata (3/8 x 1 inç) ve 2 adet flanşlı somun (3/8 inç) kullanarak her iki taraftaki ön kabin montaj braketlerine takın (Şekil 26).
Montaj sırasında montaj grubundaki orta delikleri kullanın.
Ayar cıvatasını (3/8 x 2 inç) ve altıgen somunu (3/8 inç) makinenin her iki tarafındaki sol ve sağ montaj gruplarına takın (Şekil 26).

Ön kabin montaj braketlerini, altıgen başlı cıvata (7/16 inç), baskı rondelası ve kilit somunu (½ inç) kullanarak her iki tarafa takın (Şekil 27).

2 kauçuk izolatörü, flanşlı bir cıvata (½ x 2-¼ inç), ara parça, rondela ve kilit somunu kullanarak her bir tarafa takın (Şekil 28).
Note: Braket desteği montaj takozlarının takılmasına yardımcı olması için sabunlu su kullanın.

Her iki makine için:
Koltuk kılıfındaki park freni deliğini park freni kolu ile hizalayın.
Vites seçici körüğündeki deliği, vites seçici çubuğu ile hizalayın.
Koltuk kılıfındaki deliği, kaldırma yatağı kumandasının, yüksek-düşük vites seçicinin ve diferansiyel kilidinin çubuklarıyla hizalayın.
Koltuk kılıfını aşağı indirin.
Koltuk kılıfındaki koltuk montaj deliklerini şasinin koltuk destek braketleriyle hizalayın.
Cıvataları sıkmayın.
Vites göstergesini yerine takın ve kontrol braketini, Koltuk Kılıfını Çıkarma bölümünde söktüğünüz vidalarla (Şekil 12 ve Şekil 14) sabitleyin.
Important: Bu adım yalnızca Workman HDX-Auto makineler için geçerlidir.
Bu prosedür için gerekli parçalar:
| Yan levha paneli | 2 |
| Kabin çerçevesi | 1 |
| Cıvata (½") | 4 |
| Rondela (½ inç) | 4 |
| Somun (½ inç) | 4 |
| Alt gösterge paneli contası | 1 |
Yan levha panellerinin kaydırılarak yerine oturtulabilmesine yer açmak amacıyla, çamurluklardaki cıvataları yaklaşık 1 tur gevşetin.
Yan levha panellerini koltuk kılıfı ile yan çamurluklar arasına kaydırın (Şekil 29).
Note: Cıvataları sıkmadan önce panellerin tam oturduğundan emin olun.

Çamurluklardaki cıvataları sıkın.
Note: Cıvataları aşırı sıkmayın.
Alt gösterge paneli contasını kabine takın (Şekil 30).
Contayı, daha uzun dudağı öne bakacak biçimde takın (Şekil 30).

Kabin çerçevesini kaldırma noktalarından tutun ve makinenin üzerine yerleştirin (Şekil 31).
Note: Kabini makinenin üzerine indirmeden önce, alt gösterge contasının yağlanmasını sağlamak için gösterge paneline sabunlu su uygulayın.
Note: Montaj sırasında, alt gösterge contasındaki ön ve arka dudakların alt kısma kadar yuvarlandığından emin olun.

Şekil 32 ile gösterildiği gibi, 4 cıvata (½ inç), 4 rondela (½ inç) ve 4 somun (½ inç) kullanarak çerçeveyi makineye sabitleyin.
Note: 4 cıvatayı (½ inç) sıkmayın.

Kabinin tam ortalandığından emin olmak için yandan yana ayar yapın.
Kabini tam ortalamak için ayar cıvatasını (Şekil 26) kullanın.
4 cıvatayı (½ inç), 91 ila 113 Nm torkla sıkın.
Bu prosedür için gerekli parçalar:
| Kablo demeti | 1 |
| Kablo bağları | 4 |
| Sigorta (30 A) | 1 |
Kablo demetini Şekil 33 ile gösterildiği gibi döşeyin ve 4 kablo bağıyla sabitleyin.

Kablo demetindeki halka terminalini topraklama blokuna bağlayın ve sigorta bloku konektörünü kullanılabilir bir sigorta bloku bağlantısının içine takın (Şekil 34).
Note: Kullanılabilir bir sigorta bloku bağlantısı yoksa, sigorta bloku grubuna bir sigorta bloku eklemeniz gerekir. Daha fazla bilgi için Yetkili Servise danışın.

Bu prosedür için gerekli parçalar:
| Arka levha | 1 |
| Ayar levhası | 1 |
| Yivli cıvata (½ x 4 inç) | 1 |
| Flanşlı somun (½ inç) | 1 |
| Durdurma levhası | 1 |
| Taşıyıcı cıvata (¼ x 1-¾ inç) | 4 |
| Flanşlı somun (¼ inç) | 4 |
Kaput braketinin alt kenarından sola doğru 20,7 cm ölçün ve bu konumu işaretleyin (Şekil 35).

Ayar levhasını ve arka levhayı, Şekil 36 ile gösterildiği gibi 4 taşıyıcı cıvata (¼ x 1-¾ inç) ve flanşlı somunlar (¼ inç) kullanarak gösterge paneli destek borusuna takın.

Yivli cıvatayı (½ x 4 inç), flanşlı somunu (½ inç) ve durdurma levhasını, ayar levhasına takın (Şekil 37).

Yivli cıvatayı (½ x 4 inç) durdurma levhası gösterge panelinin üzerinde yukarı doğru itilinceye kadar ayarlayarak gösterge paneli ile kabin arasındaki boşluğu kapatın (Şekil 38).

Bu prosedür için gerekli parçalar:
| Su oluğu | 1 |
| Yolcu tarafındaki şeffaf boru—122 cm | 1 |
| Sürücü tarafındaki şeffaf boru—43 cm | 1 |
| Tabandaki şeffaf boru—33 cm | 1 |
| T-bağlantı parçası | 1 |
| Manyetik kayış montaj altlığı | 3 |
| Kablo bağı | 3 |
Rondelalı 5 adet altıgen cıvatayı gösterge panelinden sökün (Şekil 39).
Rondelalı 5 adet altıgen cıvatayı saklayın.

Su oluğunu makinenin gösterge paneli ile alt şasisinin arasına kaydırın ve daha önce söktüğünüz rondelalı 5 adet altıgen cıvatayı kullanarak su oluğunu sabitleyin (Şekil 40).

Bir teneke makası kullanarak, su oluğunun her iki tarafındaki nakliye çıkıntısını kesip atın (Şekil 41).

T-dirseği kullanarak, 122 cm şeffaf boruyu 33 cm şeffaf boruya ve 43 cm şeffaf boruya bağlayın (Şekil 42).

Yolcu tarafından başlayarak, bağlanan şeffaf boruyu döşeme tahtası üzerinden (debriyaj pedalıyla birlikte) sürücü tarafına yönlendirin (Şekil 43).
Bağlanan şeffaf boruyu, 3 manyetik bağlama aparatı ve 3 kablo bağı ile sabitleyin (Şekil 43).

Şeffaf borunun her bir ucunu sıkıştırın ve 45° açıyla kesin (Şekil 44).
Şeffaf boruyu, tepe açısı makinenin dışına gelecek şekilde su oluğunun alt kısmıyla hizalayın ve oraya takın (Şekil 44).

Bu prosedür için gerekli parçalar:
| Taban levhası paneli | 2 |
| Yan levha paneli | 2 |
| Cıvata (¼ inç) | 12 |
Taban levhası panellerini, Şekil 45 ile gösterildiği gibi 3 cıvata (¼ inç) kullanarak makinenin her iki tarafına takın.

Cıvataları 1017 ila 1243 N∙cm torkla sıkın.
Yan levha panellerini, Şekil 46 ile gösterildiği gibi 2 cıvata (¼ inç) kullanarak makinenin her iki tarafına takın.

Cıvataları 1017 ila 1243 N∙cm torkla sıkın.
Bu prosedür için gerekli parçalar:
| Cıvata (¼ inç) | 2 |
| Ara parça | 2 |
| Askı | 1 |
| Somun (¼ inç) | 2 |
| CVT-emme davlumbaz düzeneği (ayrı satılır) | 1 |
Kullanma Kılavuzu borusunu (Şekil 47) takın.

Koltuk raylarındaki delikleri, koltuk kılıfındaki koltuk montaj noktası delikleriyle hizalayın (Şekil 6).
Koltukları, Koltukları Çıkarma adımında söktüğünüz 8 adet düz başlı cıvatayla (Şekil 6) şasiye sabitleyin.
CVT Soğutma Kanalını (yalnızca HDX-Auto Makineler), Soğutma Suyu Deposunu, ROPS Donanımını ve Koltuk Kılıfını Çıkarma adımında söktüğünüz hortum kelepçesini kullanarak, CVT soğutma kanalını (Şekil 7) emme borusu konnektörüne sabitleyin.
Important: Bu adım yalnızca Workman HDX-Auto makineler için geçerlidir.
Note: Workman HDX-Auto makineler için CVT-emme davlumbaz aksamını bu sete eklemelisiniz. Yetkili Servis Merkezine başvurun.
Orta konsol panelini orta konsoldaki kontrol çubuklarının (Şekil 3 ve Şekil 5) üzerine hizalayın ve Orta Konsol Panelini ve Koltukları Çıkarma adımında söktüğünüz vidaları kullanarak paneli sabitleyin.
Orta Konsol Panelini ve Koltukları Çıkarma adımında söktüğünüz düğmeleri takın.
Soğutma suyu deposu braketinin sol ve sağ flanşlarını, koltuk kılıfındaki soğutma suyu deposu desteği ile hizalayın (Şekil 8).
Depoyu, yerine tam oturana kadar desteğin içine indirin (Şekil 8).
Makinenin Kullanma Kılavuzuna bakın.
Akünün artı ucunu aküye bağlayın.
Akü kapağını sıkın, tırnakları akü tabanıyla hizalayın ve akü kapağını bırakın.
Note: Makinenin Kullanma Kılavuzuna bakın.
Kasayı indirin; bkz. Kullanma Kılavuzu.
Kaputun alt kısmını tamponun üst kısmıyla hizalayın.
Lambaları bağlayın.
Üst montaj tırnaklarını, çerçeve yarıklarının içine yerleştirin.
Alt montaj tırnaklarını tampondaki ceplerin içine yerleştirin.
Kaportanın üst, yan ve alt oluklara tamamen geçtiğini teyit edin.
Ön camı açmak için kilit mandallarını yukarı kaldırın (Şekil 49). Ön camı açık konuma kilitlemek için kilit mandalına basın. Ön camı kapatmak ve sabitlemek için kilit mandalını dışarı ve aşağı doğru çekin.
