![]() |
Die Sicherheits- und Bedienungsaufkleber sind gut sichtbar; sie befinden sich in der Nähe der möglichen Gefahrenbereiche. Tauschen Sie beschädigte oder verloren gegangene Aufkleber aus. |




Stellen Sie die Maschine auf einer ebenen Fläche ab.
Aktivieren Sie die Feststellbremse.
Heben Sie ggf. die Ladepritsche an oder nehmen sie von der Maschine ab.
Note: Ausführliche Informationen zum Anheben und Entfernen der Ladepritsche finden Sie in der Bedienungsanleitung der Maschine.
Stellen Sie den Motor ab und ziehen Sie den Zündschlüssel ab.
Schließen Sie die Batterie ab, siehe Bedienungsanleitung.
Fassen Sie die Motorhaube in den Scheinwerferöffnungen an und heben sie an, um die unteren Befestigungsnasen aus den Schlitzen in der Stoßstange zu heben (Bild 1).

Drehen Sie die Unterseite der Motorhaube nach oben, bis Sie die oberen Befestigungsnasen aus den Rahmenschlitzen ziehen können (Bild 1).
Drehen Sie die Oberseite der Motorhaube nach vorne und ziehen Sie die Kabelanschlüsse von den Scheinwerfern ab (Bild 1).
Entfernen Sie die Motorhaube.
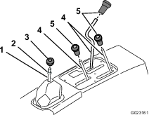
Schrauben Sie alle Handräder von den Hebeln des Bedienfelds und vom Ganghebel ab (Bild 2).

Nehmen Sie die Klemmmutter vom Ganghebel ab (Bild 2).
Entfernen Sie die sechs Schrauben, mit denen die Außenkante der Abdeckplatte des mittleren Armaturenbretts am Chassis befestigt ist, und nehmen Sie die Abdeckplatte ab (Bild 3).

Schrauben Sie alle Handräder von den Bedienfeldhebeln und vom Ganghebel ab; drehen Sie sie hierfür nach links (Bild 4).

Nehmen Sie die vier Sechskantschrauben ab, mit denen die Abdeckung der Ganganzeige an der Sitzabdeckung befestigt ist (Bild 5).

Heben Sie die Ganganzeige an, schließen Sie den Anzeigenanschluss vom Anschluss des Maschinenkabelbaums ab und nehmen Sie die Abdeckung der Anzeige von der Maschine ab (Bild 5).
Nehmen Sie die sechs Sechskantschrauben ab, mit denen die Abdeckung des Bedienelements an der Sitzabdeckung befestigt ist, und entfernen Sie die Abdeckung des Bedienelements (Bild 5).
Nehmen Sie die acht Sechskantschrauben ab, mit denen die Sitzschienen des Sitzes am Chassis befestigt sind, und nehmen Sie die Sitze ab (Bild 6).

Entfernen Sie die Schlauchklemme, mit der die Kühlleitung des stufenlosen Getriebes am Flansch der Ansaugleitung des stufenloses Getriebes hinten an der Überrollschutzplatte an der Passagierseite befestigt ist (Bild 7).

Heben Sie den Kühlmittelbehälter an und aus der Stützhalterung hinten an der Sitzabdeckung heraus (Bild 8).

Stellen Sie den Kühlmittelbehälter senkrecht auf den Motor bzw. das Chassis.
Für Workman HDX-Maschinen:
Aktivieren Sie die Feststellbremse (Bild 11).

Bewegen Sie die Stange für die Differenzialsperre nach vorne und rechts, um sie in der aktivierten Stellung zu arretieren (Bild 11).
Für Workman HDX-Auto-Maschinen:
Ziehen Sie den Ganganzeigenanschluss vom Maschinenkabelbaum ab (Bild 12).

Heben Sie das mittlere Bedienelement an und drehen es zur Seite, um an die Aufhängefedern zu gelangen.
Beide Maschinen:
Heben Sie die Sitzabdeckung an und nehmen Sie sie von der Maschine ab (Bild 13).

Für Workman HDX-Auto-Maschinen:
Entfernen Sie die Schrauben, mit denen das Hubventil an der Bedienelementhalterung befestigt ist, und die Muttern und Schrauben, mit denen die Bedienelementhalterung an der Maschine befestigt ist (Bild 14).

Unter Umständen ist eine aufgebockte Maschine instabil und fällt vom Wagenheber, wodurch Personen unter der Maschine verletzt würden.
Lassen Sie den Motor nicht an, wenn die Maschine aufgebockt ist, da die Maschine aufgrund der Motorvibration oder Radbewegung vom Wagenheber abrutschen kann.
Ziehen Sie immer den Schlüssel aus dem Zündschloss, bevor Sie die Maschine verlassen.
Blockieren Sie die Räder, wenn die Maschine aufgebockt ist.
Arbeiten Sie nur unter der Maschine, wenn Stützböcke die Maschine abstützen. Die Maschine kann vom Wagenheber abrutschen und darunter befindliche Personen verletzen.
Wenn Sie die Maschine vorne aufbocken, legen Sie immer einen 5 cm x 10 cm Block (oder Ähnliches) zwischen den Wagenheber und den Maschinenrahmen.
Die Hebestelle vorne an der Maschine befindet sich unter der mittleren Rahmenstütze vorne (Bild 15).

Für diesen Arbeitsschritt erforderliche Teile:
| Druckfeder (schwarz) | 2 |
Stecken Sie die Druckfederstange mit einem in Bild 17 angegebenen Druckfederwerkzeug durch die Löcher in jeder Federwiege (Bild 18).
Important: Passen Sie beim Entfernen der Federwiege auf, da die Feder gespannt ist.


Messen und notieren Sie die Länge der Federn.
Befestigen Sie die Schrauben und Scheiben an beiden Seiten der Stange (Bild 19).

Ziehen Sie eine Mutter an jeder Stange an, um die Federn zu befestigen (Bild 19).
Entfernen Sie die Schrauben und Muttern vom Ende jedes Stabilisatorlenkers (A in Bild 20).
Entfernen Sie die Schrauben und Muttern vom Steuerarm, mit dem jede Federwiege befestigt ist (B in Bild 20).
Nehmen Sie die Federwiegen und Federn von der Maschine ab (C in Bild 20).
Note: Achten Sie auf die Position der Aufkleber auf den Federwiegen. Die Wiegen müssen wieder an derselben Stelle befestigt werden.

Nehmen Sie die vorhandenen Federn aus den Federwiegen und setzen Sie die Federn aus diesem Kit (schwarze Federn) in die Federwiegen.
Drücken Sie die Federn mit dem Druckfederwerkzeug auf den in Schritt 2 gemessenen Wert zusammen.
Setzen Sie die Federn und die Wiege wieder in die Maschine ein.
Befestigen Sie die Schrauben und Muttern, die Sie vorher von den Stabilisatorlenkern und dem Steuerarm entfernt haben.
Montieren Sie die Vorderräder und senken Sie die Maschine ab.
Ziehen Sie die Radmuttern auf 109-122 N·m an.
Für diesen Arbeitsschritt erforderliche Teile:
| Innerer Kotflügel | 1 |
| Kotflügelhalterung | 2 |
| Sechskantbundkopfschraube (¼" x ¾") | 6 |
| Bundmutter (¼") | 8 |
| Gummianschlag | 2 |
| Scheibe | 2 |
| Kabelbinder | 2 |
Fluchten Sie die Kotflügelhalterungen mit der unteren Kante des Sitzunterteil-Rahmens aus; verwenden Sie die Kotflügelhalterungen als Schablone für das Markieren und Bohren der drei Löcher (5/16") an jeder Seite des Sitzunterteil-Rahmens (Bild 21).

Befestigen Sie den inneren Kotflügel und die Kotflügelhalterungen mit sechs Sechskantbundkopfschrauben (¼" x ¾") und sechs Bundmuttern (¼"), wie in Bild 22 abgebildet.

Klappen Sie die Klappe herunter und stecken Sie sie hinter den Bodenflansch (Bild 23).
Befestigen Sie die Klappe mit zwei Kabelbindern am mittleren Rahmenrohr (Bild 23).

Befestigen Sie einen Gummianschlag mit einer Scheibe und Bundmutter (¼") an jeder Seite (Bild 24).

Für diesen Arbeitsschritt erforderliche Teile:
| Linke Befestigung | 1 |
| Rechte Befestigung Baueinheit | 1 |
| Einstellschraube (⅜" x 2") | 2 |
| Sechskantmutter (⅜") | 2 |
| Sechskantbundbolzen (⅜" x 1") | 4 |
| Bundmutter (⅜") | 4 |
| Vordere Kabinenbefestigungshalterung | 2 |
| Sechskantschraube (7/16") | 2 |
| Druckscheibe | 2 |
| Sicherungsmutter (½") | 2 |
| Gummi-Isolator | 2 |
| Distanzstück | 2 |
| Scheibe | 2 |
| Sicherungsmutter | 2 |
| Bundkopfschraube (½" x 2¼") | 2 |
Befestigen Sie die hinteren Halterungen mit den Befestigungen, die Sie vom Überrollschutz in Entfernen des Überrollschutzesentfernt haben, an der Maschine(Bild 25).

Ziehen Sie die Schrauben mit 94-108 N·m an.
Befestigen Sie die linke Befestigung und rechte Befestigung mit zwei Sechskantbundbolzen (⅜" x 1") und zwei Bundmuttern (⅜") an jeder Seite an den vorderen Kabinenbefestigungshalterungen (Bild 26).
Verwenden Sie für den Einbau die mittleren Löcher in der Befestigung.
Befestigen Sie die Einstellschraube (⅜" x 2") und Sechskantmutter (⅜") an jeder Seite der Maschine in der linken und rechten Befestigung (Bild 26).

Befestigen Sie die vordere Kabinenbefestigungshalterungen mit einer Sechskantschraube (7/16"), Druckscheibe und Sicherungsmutter (½") an jeder Seite (Bild 27).

Befestigen Sie die zwei Gummi-Isolatoren mit einer Bundkopfschraube (½" x 2¼"), einem Distanzstück, einer Sicherungsmutter an jeder Seite (Bild 28).
Note: Verwenden Sie Seifenlauge beim Montieren der Stützbefestigungen für die Halterung.

Beide Maschinen:
Fluchten Sie die Öffnung in der Sitzabdeckung für die Feststellbremse mit dem Feststellbremshebel aus.
Fluchten Sie das Loch in der Ganghebelmuffe mit der Stange für den Ganghebel aus.
Fluchten Sie die Öffnung in der Sitzabdeckung für die Stangen für die Steuerung der Ladepritsche, dem Ganghebel und der Differenzialsperre aus.
Senken Sie die Sitzabdeckung ab.
Fluchten Sie die Löcher in der Abdeckung für die Sitzbefestigung mit den Sitzstützhalterungen des Chassis aus.
Ziehen Sie die Bolzen nicht fest.
Stecken Sie die Ganganzeige ein und befestigen Sie die Bedienelementhalterung mit den in Entfernen der Sitzabdeckung entfernten Schrauben (Bild 12 und Bild 14).
Important: Dieser Schritt gilt nur für Workman HDX-Auto-Maschinen.
Für diesen Arbeitsschritt erforderliche Teile:
| Seitenplatte | 2 |
| Kabinenrahmen | 1 |
| Schraube (½") | 4 |
| Scheibe (½") | 4 |
| Mutter (½") | 4 |
| Untere Armaturenbrettdichtung | 1 |
Lösen Sie die Schrauben an den Kotflügeln um ca. eine Umdrehung, damit die Seitenplatten eingeschoben werden können.
Schieben Sie die Seitenplatten zwischen die Sitzabdeckung und die seitlichen Kotflügel (Bild 29).
Note: Stellen Sie sicher, dass die Platten fest sitzen, bevor Sie die Schrauben anziehen.

Ziehen Sie die Schrauben an den Kotflügeln an.
Note: Ziehen Sie die Schrauben nicht zu fest.
Bringen Sie die untere Armaturenbrettdichtung an der Kabine an (Bild 30).
Stellen Sie sicher, dass Sie die Dichtung mit der längeren Lippen vorne befestigen (Bild 30).

Halten Sie den Kabinenrahmen an den Hebestellen und setzen Sie ihn auf die Maschine (Bild 31).
Note: Tragen Sie Seifenlauge auf das Armaturenbrett auf, damit die untere Armaturenbrettdichtung geschmiert bleibt, bevor Sie die Kabine auf die Maschine absenken.
Note: Stellen Sie sicher, dass die vorderen und hinteren Lippen an der unteren Armaturenbrettdichtung während des Einbaus nach unten rollen.

Befestigen Sie den Rahmen mit vier Schrauben (½"), vier Scheiben (½") und vier Muttern (½") an der Maschine, wie in Bild 32 abgebildet.
Note: Ziehen Sie die vier Schrauben (½") nicht an.

Verschieben Sie die Kabine seitlich, um sicherzustellen, dass die Kabine zentriert ist.
Zentrieren Sie die Kabine mit der Einstellschraube (Bild 26).
Ziehen Sie die vier Schrauben (½") mit 91-113 N·m an.
Für diesen Arbeitsschritt erforderliche Teile:
| Kabelbaum | 1 |
| Kabelbinder | 4 |
| Sicherung (30 A) | 1 |
Verlegen Sie den Kabelbaum, wie in Bild 33 abgebildet, und befestigen Sie ihn mit vier Kabelbindern.

Schließen Sie den Kabelschuh am Kabelbaum am Erdungsterminal an und stecken Sie den Sicherungskastenanschluss in einen verfügbaren Sicherungskastenanschluss ein (Bild 34).
Note: Wenn kein Sicherungskastenanschluss verfügbar ist, müssen Sie den Sicherungskastenverbund um einen Sicherungskasten erweitern. Wenden Sie sich an den offiziellen Service-Vertragshändler für weitere Informationen.

Für diesen Arbeitsschritt erforderliche Teile:
| Rückplatte | 1 |
| Einstellplatte | 1 |
| Gewindeschraube (½ x 4") | 1 |
| Bundmutter (½") | 1 |
| Anschlagplatte | 1 |
| Schlossschraube (¼" x 1¾") | 4 |
| Bundmutter (¼") | 4 |
Messen Sie 20,7 cm von der unteren Kante der Abdeckungshalterung nach links und markieren Sie die Stelle (Bild 35).

Befestigen Sie die Einstellplatte und die Rückplatte mit den vier Schlossschrauben (¼" x 1¾") und Bundmuttern (¼") am Stützrohr des Armaturenbretts, wie in Bild 36 abgebildet.

Befestigen Sie die Gewindeschraube (½" x 4"), Bundmutter (½") und Anschlagplatte an der Einstellplatte (Bild 37).

Entfernen Sie den Abstand zwischen dem Armaturenbrett und der Kabine. Stellen Sie hierfür die Gewindeschraube (½" x 4") ein, bis die Anschlagplatte am Armaturenbrett nach oben drückt (Bild 38).

Für diesen Arbeitsschritt erforderliche Teile:
| Wasserrinne | 1 |
| Durchsichtiger Schlauch an Passagierseite (122 cm) | 1 |
| Durchsichtiger Schlauch an Fahrerseite (43 cm) | 1 |
| Durchsichtiger Schlauch am Boden (33 cm) | 1 |
| T-Anschlussstück | 1 |
| Magnetische Kabelbinderbefestigung | 3 |
| Kabelbinder | 3 |
Nehmen Sie die fünf Sechskantschrauben vom Armaturenbrett ab (Bild 39).
Bewahren Sie die fünf Sechskantschrauben auf.

Schieben Sie die Wasserrinne zwischen das Armaturenbrett der Maschine und den Unterrahmen und befestigen Sie die Wasserrinne mit den vorher entfernten fünf Sechskantschrauben (Bild 40).

Entfernen Sie die Versandlasche mit einer Dosenschnippmaschine von jeder Seite der Wasserrinne (Bild 41).

Befestigen Sie den 122 cm langen durchsichtigen Schlauch mit dem T-Anschlussstück am 33 cm langen durchsichtigen Schlauch und dem 43 cm langen durchsichtigen Schlauch (Bild 42).

Fangen Sie an der Passagierseite an und verlegen Sie den angeschlossenen durchsichtigen Schlauch durch die Bodenplatte (mit dem Kupplungspedal) zur Fahrerseite der Maschine (Bild 43).
Befestigen Sie den angeschlossenen durchsichtigen Schlauch mit den drei magnetischen Kabelbinderbefestigungen und drei Kabelbindern (Bild 43).

Drücken Sie jedes Ende des durchsichtigen Schlauchs zusammen und schneiden ihn in einem 45°-Winkel ab (Bild 44).
Fluchten Sie den durchsichtigen Schlauch mit der Unterseite der Wasserrinne aus, sodass die Oberseite des Winkels an der Außenseite der Maschine ist; befestigen Sie ihn dann (Bild 44).

Für diesen Arbeitsschritt erforderliche Teile:
| Bodenplatte | 2 |
| Seitenplatte | 2 |
| Schraube (¼") | 12 |
Befestigen Sie die Bodenplatten mit drei Schrauben (¼") an jeder Seite der Maschine, wie in Bild 45 abgebildet.

Ziehen Sie die Schrauben mit 10,17-12,43 N·m an.
Befestigen Sie die Seitenplatte mit zwei Schrauben (¼") an jeder Seite der Maschine, wie in Bild 46 abgebildet.

Ziehen Sie die Schrauben mit 10,17-12,43 N·m an.
Für diesen Arbeitsschritt erforderliche Teile:
| Schraube (¼") | 2 |
| Distanzstück | 2 |
| Halterung | 1 |
| Mutter (¼") | 2 |
| Ansaughaube für stufenloses Getriebe (separat erhältlich) | 1 |
Befestigen Sie das Rohr für die Bedienungsanleitung (Bild 47).

Fluchten Sie die Löcher in den Sitzschienen mit den Löchern in der Abdeckung für die Sitzbefestigungsstellungen aus (Bild 6).
Befestigen Sie die Sitze mit den acht Sechskantschrauben (Bild 6), die Sie in Schritt Entfernen der Sitze entfernt haben, am Chassis.
Befestigen Sie die Kühlleitung für das stufenlose Getriebe (Bild 7) mit der Schlauchklemme, die Sie in Entfernen der Kühlleitung für das stufenlose Getriebe (nur HDX-Auto), des Kühlmittelbehälters, des Überrollschutzes und der Sitzabdeckung entfernt haben, am Ansaugrohranschluss.
Important: Dieser Schritt gilt nur für Workman HDX-Auto-Maschinen.
Note: Sie müssen die Ansaughaube für stufenloses Getriebe diesem Kit für Workman HDX-Auto-Maschinen hinzufügen. Wenden Sie sich an den offiziellen Vertragshändler.
Fluchten Sie die mittlere Bedienfeldplatte über den Schaltstangen am mittleren Bedienfeld aus (Bild 3 und Bild 5) und befestigen Sie die Platte mit den in Entfernen des mittleren Armaturenbretts und der Sitze entfernten Schrauben.
Montieren Sie die Handräder, die Sie in Schritt Entfernen des mittleren Armaturenbretts und der Sitze abgenommen haben.
Fluchten Sie den linken und rechten Flansch der Kühlmittelbehälter-Halterung mit der Kühlmittelbehälterstütze an der Sitzabdeckung aus (Bild 8).
Senken Sie den Behälter in die Stütze ab, bis er fest sitzt (Bild 8).
Weitere Informationen finden Sie in der Bedienungsanleitung.
Schließen Sie das Pluskabel an die Batterie an.
Drücken Sie die Batterieabdeckung zusammen, fluchten Sie die Nasen mit dem Batterieunterteil aus und lassen Sie die Batterieabdeckung los.
Note: Weitere Informationen finden Sie in der Bedienungsanleitung der Maschine.
Senken Sie die Ladepritsche ab, siehe Bedienungsanleitung.
Fluchten Sie die Unterseite der Motorhaube mit der Oberkante der Stoßstange aus.
Schließen Sie die Scheinwerfer an.
Stecken Sie die oberen Befestigungsnasen in die Rahmenschlitze.
Stecken Sie die unteren Befestigungsnasen in die Schlitze in der Stoßstange.
Stellen Sie sicher, dass die Motorhaube ganz in den oberen, seitlichen und unteren Rillen sitzt.
Heben Sie die Riegel an, um die Windschutzscheibe zu öffnen (Bild 49). Üben Sie Druck auf den Riegel aus, um die Windschutzscheibe in der offenen Stellung zu arretieren. Ziehen Sie den Riegel heraus und nach unten, um die Windschutzscheibe zu schließen und zu arretieren.
