![]() |
Turva- ja ohjetarrat on sijoitettu hyvin näkyville paikoille mahdollisten vaara-alueiden lähettyville. Korvaa vioittuneet tai kadonneet tarrat uusilla. |




Pysäköi kone tasaiselle alustalle.
Kytke seisontajarru.
Nosta lava tai irrota se ajoneuvosta (jos lava kuuluu varustukseen).
Note: Lisätietoja lavan nostamisesta ja irrottamisesta on ajoneuvon käyttöoppaassa.
Sammuta moottori ja irrota virta-avain.
Irrota akun kytkennät. Katso ohjeet käyttöoppaasta.
Tartu konepeltiin ajovalojen aukoista ja vapauta alemmat kiinnityskielekkeet puskurin aukoista nostamalla konepeltiä (Kuva 1).

Käännä konepellin alaosaa ylöspäin, kunnes ylemmät kiinnityskielekkeet voidaan vetää rungon aukoista (Kuva 1).
Käännä konepellin yläosaa eteenpäin ja irrota johdinliittimet ajovaloista (Kuva 1).
Irrota konepelti.
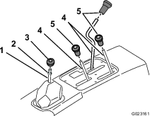
Irrota kaikki nupit konsolin vivuista ja vaihteistovivusta kiertämällä nuppeja vastapäivään (Kuva 4).

Irrota neljä kuusiokantaruuvia, jotka kiinnittävät vaihdeilmaisimen suojuksen istuinsuojukseen (Kuva 5).

Nosta vaihdeilmaisin ylös, irrota ilmaisimen liitin koneen johdinsarjan liittimestä ja irrota ilmaisimen suojus koneesta (Kuva 5).
Irrota kuusi kuusiokantaruuvia, jotka kiinnittävät sähköosien suojuksen istuinsuojukseen, ja irrota sähköosien suojus (Kuva 5).
Irrota kahdeksan kuusiopulttia, jotka kiinnittävät istuinten jalustat alustaan, ja irrota istuimet (Kuva 6).

Irrota letkunkiristin, joka kiinnittää CVT-jäähdytysputken CVT-oton laippaan ROPS-paneelin takana matkustajan puolella (Kuva 7).

Nosta jäähdytysnestesäiliö ylös ja irti istuimen suojuksen takana olevasta tukikannattimesta (Kuva 8).

Aseta jäähdytysnestesäiliö pystyasentoon moottorin/alustan päälle.
Workman HDX -koneet:
Kytke seisontajarru (Kuva 11).

Siirrä tasauspyörästön lukon tankoa eteenpäin ja oikealle, jotta se kytkeytyy paikalleen (Kuva 11).
Workman HDX-Auto -koneet:
Irrota vaihdeilmaisimen liitin koneen johdinsarjasta (Kuva 12).

Nosta ja käännä keskiohjauskokoonpano pois tieltä, jotta pääset käsiksi jousitukseen.
Molemmissa koneissa:
Nosta istuimen suojus ja irrota se koneesta (Kuva 13).

Workman HDX-Auto -koneet:
Irrota pultit, jotka kiinnittävät nostoventtiilin ohjaimen kannattimeen, sekä pultit ja mutterit, jotka kiinnittävät ohjaimen kannattimen koneeseen (Kuva 14).

Tunkilla tuettu kone voi olla epävakaa ja luiskahtaa ja vahingoittaa siten koneen alla olevaa henkilöä.
Älä käynnistä konetta, kun kone on tunkilla, koska moottorin tärinä tai pyörän liike saattaa pudottaa koneen tunkilta.
Poista aina avain virtalukosta, ennen kuin nouset pois koneesta.
Aseta pyöriin vierimisen estävät kiilat, kun kone on nostettu tunkilla.
Älä työskentele koneen alla tukematta sitä pukeilla. Kone saattaa luiskahtaa tunkilta, jolloin koneen alla olevat voivat loukkaantua.
Kun nostat koneen etupäätä, aseta puukappale (tai vastaava) tunkin ja koneen rungon väliin.
Koneen etupään nostokohta sijaitsee edessä keskellä olevan rungon tuen (Kuva 15) alla.

Vaiheeseen tarvittavat osat:
| Painejousi (musta) | 2 |
Käytä painejousityökalua kuvan mukaisesti (Kuva 17) ja asenna painejousen tanko molempien jousialustojen reikiin (Kuva 18).
Important: Irrota jousialusta varovasti; jousi on jännityksessä.


Mittaa jousien pituus ja merkitse se muistiin.
Asenna mutterit ja aluslaatat tangon molempiin päihin (Kuva 19).

Varmista jouset kiristämällä yksi mutteri molemmissa tangoissa (Kuva 19).
Irrota pultit ja mutterit molempien vakaimen tankojen päästä (Kuva 20, ruutu A).
Irrota pultit ja mutterit säätövarresta, joka kiinnittää kunkin jousialustan paikalleen (Kuva 20, ruutu B).
Irrota jousialustat ja jouset koneesta (Kuva 20, ruutu C).
Note: Merkitse muistiin jousialustojen tarrojen asento. Alustat on asennettava takaisin samaan asentoon.

Irrota nykyiset jouset jousialustoista ja asenna tämän sarjan jouset (mustat jouset) jousialustoihin.
Purista jouset kokoon painejousityökalulla vaiheessa 2 mitattuun lukemaan.
Asenna jouset ja alusta takaisin koneeseen.
Asenna aikaisemmin vakaimen tangoista ja tukivarresta irrotetut pultit ja mutterit.
Asenna etupyörät ja laske kone alas.
Kiristä pyöränmutterit momenttiin 109–122 N·m.
Vaiheeseen tarvittavat osat:
| Sisälokasuoja | 1 |
| Lokasuojan kiinnitysliuska | 2 |
| Kuusiolaippapultti (¼ × ¾ tuumaa) | 6 |
| Laippamutteri (¼ tuumaa) | 8 |
| Kumisuojus | 2 |
| Aluslaatta | 2 |
| Nippuside | 2 |
Kohdista lokasuojan kiinnitysliuskat istuimen jalustakehyksen alareunan mukaisesti ja käytä lokasuojan kiinnitysliuskoja mallina, jonka avulla merkitset ja poraat kolme reikää (5/16 tuumaa) istuimen jalustakehyksen molemmin puolin (Kuva 21).

Asenna sisälokasuoja ja lokasuojien kiinnitysliuskat kuudella kuusiolaippapultilla (¼ × ¾ tuumaa) ja kuudella laippamutterilla (¼ tuumaa) kuvan Kuva 22 mukaisesti.

Taita läppä kiinni ja työnnä se lattialaipan taakse (Kuva 23).
Kiinnitä läppä kahdella nippusiteellä keskirunkoputken ympärille (Kuva 23).

Asenna kumisuojus käyttämällä aluslaattaa ja laippamutteria (¼ tuumaa) kummallekin puolelle (Kuva 24).

Vaiheeseen tarvittavat osat:
| Vasemmanpuoleinen asennuskannatinkokoonpano | 1 |
| Oikeanpuoleinen asennuskannatinkokoonpano | 1 |
| Säätöpultti (⅜ × 2 tuumaa) | 2 |
| Kuusiomutteri (⅜ tuumaa) | 2 |
| Laippakantapultti (⅜ × 1 tuumaa) | 4 |
| Laippamutteri (⅜ tuumaa) | 4 |
| Ohjaamon etuasennuskannatin | 2 |
| Kuusiopultti (7/16 tuumaa) | 2 |
| Painealuslaatta | 2 |
| Lukkomutteri (½ tuumaa) | 2 |
| Kuminen eristin | 2 |
| Välikappale | 2 |
| Aluslaatta | 2 |
| Lukkomutteri | 2 |
| Laippakantapultti (½ × 2-¼ tuumaa) | 2 |
Asenna taemmat kannattimet koneeseen (Kuva 25) ROPS-kokoonpanosta vaiheessa ROPS-kokoonpanon irrotus irrotetuilla kiinnitystarvikkeilla.

Kiristä pultit momenttiin 94–108 N·m.
Asenna vasemmanpuoleinen asennuskannatinkokoonpano ja oikeanpuoleinen asennuskannatinkokoonpano ohjaamon etuasennuskannattimiin kahdella laippakantapultilla (⅜ × 1 tuumaa) ja kahdella laippamutterilla (⅜ tuumaa) molemmin puolin (Kuva 26).
Käytä asennuskannatinkokoonpanon keskireikiä apuna asennuksessa.
Asenna säätöpultti (⅜ × 2 tuumaa) ja kuusiomutteri (⅜ tuumaa) vasemmanpuoleiseen asennuskannatinkokoonpanoon ja oikeanpuoleiseen asennuskannatinkokoonpanoon koneen molemmille puolille (Kuva 26).

Asenna ohjaamon etuasennuskannattimet kuusiopultilla (7/16 tuumaa), painealuslaatalla ja lukkomutterilla (½ tuumaa) molemmin puolin (Kuva 27).

Asenna kaksi kumista eristintä laippakantapultilla (½ × 2-¼ tuumaa), välikappaleella, aluslaatalla ja lukkomutterilla molemmin puolin (Kuva 28).
Note: Käytä saippuavettä apuna kannattimien asennustukien asentamisessa.

Molemmissa koneissa:
Kohdista istuinsuojuksen seisontajarrun aukko seisontajarrun kahvaan.
Kohdista vaihteenvalitsimen suojuksessa oleva aukko vaihteenvalitsimen tankoon.
Kohdista istuinsuojuksessa oleva aukko lavannoston ohjauksen, ylemmän ja alemman nopeusalueen vaihtovivun sekä tasauspyörästön lukon tankoon.
Laske istuinsuojus alas.
Kohdista istuimen kiinnityksen suojuksen aukot alustassa oleviin istuimen tukikannattimiin.
Älä kiristä pultteja.
Kytke vaihdeilmaisin ja kiinnitä ohjaimen kannatin ruuveilla (Kuva 12 ja Kuva 14), jotka irrotettiin toimenpiteessä Istuinsuojuksen irrotus.
Important: Tämä vaihe koskee vain Workman HDX-Auto -koneita.
Vaiheeseen tarvittavat osat:
| Sivupaneelilevy | 2 |
| Ohjaamon runko | 1 |
| Pultti (½ tuumaa) | 4 |
| Aluslaatta (½ tuumaa) | 4 |
| Mutteri (½ tuumaa) | 4 |
| Alempi kojetaulun tiiviste | 1 |
Löysää lokasuojien pultteja noin yksi kierros, jotta sivupaneelilevyt voidaan asentaa.
Asenna sivupaneelilevyt istuinsuojuksen ja sivulokasuojien väliin (Kuva 29).
Note: Varmista ennen pulttien kiristämistä, että paneelit ovat oikein paikoillaan.

Kiristä lokasuojien pultit.
Note: Älä kiristä pultteja liikaa.
Asenna alempi kojetaulun tiiviste ohjaamoon (Kuva 30).
Tarkista, että asennat tiivisteen niin, että sen pidempi reuna on edessä (Kuva 30).

Nosta ohjaamon runkoa nostokohdista ja aseta se koneen päälle (Kuva 31).
Note: Ennen kuin lasket ohjaamon koneeseen, kastele kojetaulu saippuavedellä, jotta alempi kojelaudan tiiviste pysyy voideltuna.
Note: Varmista, että alemman kojetaulun tiivisteen etu- ja takareuna rullautuvat alle asennuksen aikana.

Kiinnitä runko koneeseen neljällä pultilla (½ tuumaa), neljällä aluslaatalla (½ tuumaa) ja neljällä mutterilla (½ tuumaa) kuvan mukaisesti (Kuva 32).
Note: Älä kiristä neljää pulttia (½ tuumaa).

Säädä ohjaamoa sivusuunnassa ja varmista, että ohjaamo on keskitetty.
Käytä ohjaamon keskittämiseen säätöpulttia (Kuva 26).
Kiristä neljä pulttia (½ tuumaa) momenttiin 91–113 N·m.
Vaiheeseen tarvittavat osat:
| Johdinsarja | 1 |
| Nippusiteet | 4 |
| Sulake (30 A) | 1 |
Vie johdinsarja kuvan mukaisesti (Kuva 33) ja kiinnitä se neljällä nippusiteellä.

Kytke johdinsarjan rengasliitin maadoitusrasiaan ja kytke sulakerasian liitin vapaaseen sulakerasian liitäntään (Kuva 34).
Note: Jos sulakerasiassa ei ole vapaata liitäntää, asenna ylimääräinen sulakerasia. Lisätietoja saa valtuutetusta huoltoliikkeestä.

Vaiheeseen tarvittavat osat:
| Takalevy | 1 |
| Säädinlevy | 1 |
| Kantaruuvi (½ × 4 tuumaa) | 1 |
| Laippamutteri (½ tuumaa) | 1 |
| Pysäytyslevy | 1 |
| Lukkopultti (¼ × 1-¾ tuumaa) | 4 |
| Laippamutteri (¼ tuumaa) | 4 |
Mittaa 20,7 cm vasemmalle konepellin kannattimen alareunasta ja merkitse paikka (Kuva 35).

Asenna säädinlevy ja takalevy kojetaulua tukevaan putkeen neljällä lukkopultilla (¼ × 1-¾ tuumaa) ja laippamutterilla (¼ tuumaa) kuvan mukaisesti (Kuva 36).

Asenna kantaruuvi (½ × 4 tuumaa), laippamutteri (½ tuumaa) ja pysäytyslevy säädinlevyyn (Kuva 37).

Sulje kojetaulun ja ohjaamon välinen rako säätämällä kantaruuvia (½ × 4 tuumaa), kunnes pysäytyslevy painuu ylös kojetaulua vasten (Kuva 38).

Vaiheeseen tarvittavat osat:
| Vesikouru | 1 |
| Matkustajan puoleinen läpinäkyvä putki – 122 cm | 1 |
| Ajajan puoleinen läpinäkyvä putki – 43 cm | 1 |
| Lattian läpinäkyvä putki – 33 cm | 1 |
| T-liitin | 1 |
| Magneettinen nippusidepidin | 3 |
| Nippuside | 3 |
Irrota viisi litteäkantaista kuusiopulttia kojetaulusta (Kuva 39).
Säilytä viisi litteäkantaista kuusiopulttia.

Liu’uta vesikouru koneen kojetaulun ja apurungon välistä ja kiinnitä vesikouru viidellä aiemmin irrotetulla litteäkantaisella kuusiopultilla (Kuva 40).

Irrota toimituskieleke vesikourun molemmilta puolilta peltisaksilla (Kuva 41).

Liitä 122 cm:n läpinäkyvä putki 33 cm:n läpinäkyvään putkeen ja 43 cm:n läpinäkyvään putkeen T-liittimellä (Kuva 42).

Reititä yhdistetty läpinäkyvä putki koneen matkustajan puolelta lattialevyn (jossa on kytkinpoljin) kautta ajajan puolelle (Kuva 43).
Kiinnitä yhdistetty läpinäkyvä putki kolmella magneettisella nippusidepitimellä ja kolmella nippusiteellä (Kuva 43).

Purista läpinäkyvän putken molempia päitä ja leikkaa 45 asteen kulmassa (Kuva 44).
Kohdista läpinäkyvä putki vesikourun pohjan kanssa niin, että kulman yläosa on koneen ulkopuolella, ja asenna se (Kuva 44).

Vaiheeseen tarvittavat osat:
| Lattiapaneelilevy | 2 |
| Sivupaneelilevy | 2 |
| Pultti (¼ tuumaa) | 12 |
Asenna lattiapaneelilevyt koneen molemmille puolille kolmella pultilla (1/4 tuumaa) kuvan mukaisesti (Kuva 45).

Kiristä pultit momenttiin 1 017 – 1 243 N·cm.
Asenna sivupaneelilevyt koneen molemmille puolille kahdella pultilla (¼ tuumaa) kuvan mukaisesti (Kuva 46).

Kiristä pultit momenttiin 1 017 – 1 243 N·cm.
Vaiheeseen tarvittavat osat:
| Pultti (¼ tuumaa) | 2 |
| Välikappale | 2 |
| Liuska | 1 |
| Mutteri (¼ tuumaa) | 2 |
| CVT-vaihteiston konepeltikokoonpano (myydään erikseen) | 1 |
Asenna käyttöoppaan putki (Kuva 47).

Kohdista istuimen jalustan aukot suojuksessa oleviin istuimen asennuskohtien aukkoihin (Kuva 6).
Kiinnitä istuimet alustaan kahdeksalla kuusiopultilla (Kuva 6), jotka irrotettiin vaiheessa Istuinten irrotus.
Kiinnitä CVT-jäähdytysputki (Kuva 7) ottoputken liittimeen letkunkiristimellä, joka irrotettiin vaiheessa CVT-jäähdytysputken (vain HDX-Auto-koneissa), jäähdytysnestesäiliön, ROPS-kokoonpanon ja istuinsuojuksen irrotus.
Important: Tämä vaihe koskee vain Workman HDX-Auto -koneita.
Note: Sinun on lisättävä CVT-vaihteiston konepeltikokoonpano tähän sarjaan Workman HDX-Auto -koneille. Ota yhteys valtuutettuun huoltoliikkeeseen.
Kohdista keskikonsolipaneeli keskikonsolissa olevien ohjaustankojen päälle (Kuva 3 ja Kuva 5) ja kiinnitä paneeli ruuveilla, jotka irrotettiin vaiheessa Keskikonsolipaneelin ja istuinten irrotus.
Asenna nupit, jotka irrotettiin vaiheessa Keskikonsolipaneelin ja istuinten irrotus.
Kohdista jäähdytysnestesäiliön kannattimen vasen ja oikea laippa istuinsuojuksessa olevaan jäähdytysnestesäiliön tukeen (Kuva 8).
Laske säiliö tukeen tukevasti paikalleen (Kuva 8).
Lisätietoja on koneen käyttöoppaassa .
Kytke akun pluskaapeli akkuun.
Purista akun kantta, kohdista kielekkeet akkualustaan ja vapauta akun kansi.
Note: Lisätietoja on koneen käyttöoppaassa .
Laske lava. Katso ohjeet käyttöoppaasta.
Kohdista konepellin alaosa puskurin yläosaan.
Kytke valot.
Työnnä ylemmät kiinnityskielekkeet rungon aukkoihin.
Työnnä alemmat kiinnityskielekkeet puskurin aukkoihin.
Varmista, että konepelti on kunnolla ylä-, sivu- ja alaurissa.
Avaa tuulilasi nostamalla salpoja ylöspäin (Kuva 49). Lukitse ikkuna avoimeen asentoon painamalla salpa pohjaan. Sulje ja lukitse tuulilasi vetämällä salpaa ulos ja painamalla se alas.
