![]() |
Sikkerheds- og instruktionsmærkaterne kan nemt ses af operatøren og er placeret tæt på potentielle risikoområder. Udskift eventuelle beskadigede eller manglende mærkater. |




Parker maskinen på en plan flade.
Aktiver parkeringsbremsen.
Løft eller afmonter ladet fra maskinen (hvis den er udstyret med et lad).
Note: Se betjeningsvejledningen til maskinen for at få flere oplysninger om at hæve og afmontere ladet.
Sluk motoren, og tag nøglen ud.
Frakobl batteriet. Se betjeningsvejledningen.
Mens du har fat i motorhjelmens forlygteåbninger, løfter du op i motorhjelmen for at frigøre de nederste monteringstapper fra åbningerne i kofangeren (Figur 1).

Drej den nederste del af motorhjelmen opad, indtil du kan trække de øverste monteringstapper af stelrillerne (Figur 1).
Drej den øverste del af motorhjelmen fremad, og kobl ledningsstikkene fra forlygterne (Figur 1).
Afmonter motorhjelmen.
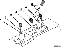
Afmonter alle grebene fra konsolhåndtagene og fra gearstangen ved at dreje grebene mod uret (Figur 4).

Fjern de 4 sekskantskruer, der fastgør gearskiftindikatordækslet til sædeafskærmningen (Figur 5).

Løft gearskiftindikatoren op, frakobl indikatorstikket fra stikket til maskinledningsnettet, og tag indikatordækslet af maskinen (Figur 5).
Fjern de 6 sekskantskruer, der fastgør styringsdækslet til sædeafskærmningen, og afmonter styringsdækslet (Figur 5).
Afmonter de 8 unbrakobolte, der fastgør sædeskinnerne på sædet til chassiset, og afmonter sæderne (Figur 6).

Fjern den slangeklemme, der fastgør CVT-kølekanalen til flangen på CVT-indsugningen bag på styrtbøjlepanelet i passagersiden (Figur 7).

Løft køletanken op og ud af støttelommen på bagsiden af sædeafskærmningen (Figur 8).

Placer køletanken i en oprejst position på motoren/chassiset.
Workman HDX-maskiner:
Aktiver parkeringsbremsen (Figur 11).

Flyt stangen til differentialelåsen fremad og til højre for at låse den i indkoblet position (Figur 11).
Workman HDX-Auto-maskiner:
Tag gearskiftindikatorens stik ud af køretøjets ledningsnet (Figur 12).

Løft og drej centerkontrolenheden af vejen for at få adgang til affjedringsfjedrene.
Begge maskiner:
Løft sædeafskærmningen, og afmonter den fra maskinen (Figur 13).

Workman HDX-Auto-maskiner:
Afmonter de bolte, der fastgør løfteventilen til beslagene på betjeningsanordningerne, og de møtrikker og bolte, der fastgør kontrolbeslaget til maskinen (Figur 14).

En maskine på en donkraft kan være ustabil og glide af donkraften og derved forårsage tilskadekomst på personer under den.
Start ikke maskinen, mens den befinder sig på en donkraft, da motorvibrationer eller hjulbevægelser kan medføre, at maskinen glider af donkraften.
Tag altid nøglen ud af tændingen, før du forlader maskinen.
Bloker hjulene, når maskinen står på en donkraft.
Arbejd ikke under maskinen uden støttebukke, som understøtter den. Maskinen kan glide af donkraften og skade nogen under det.
Når maskinens forreste del løftes med donkraft, skal du placere en 2 x 4 klods (eller tilsvarende) mellem donkraften og maskinens stel.
Donkraftpunktet foran på maskinen er under stelstøtten midtpå foran (Figur 15).

Dele, der skal bruges til dette trin:
| Trykfjeder (sort) | 2 |
Benyt et trykfjederværktøj som specificeret i Figur 17, og monter trykfjederstangen gennem hullerne i hver fjederbærer (Figur 18).
Important: Udvis forsigtighed, når du afmonterer fjederbæreren. Fjederen er under tryk.


Mål og noter fjedrenes længde.
Monter møtrikker og spændeskiver på begge ender af stangen (Figur 19).

Stram 1 møtrik på hver stang for at fastgøre fjedrene (Figur 19).
Fjern bolte og møtrikker fra enden af hvert stabilisatorled (A i Figur 20).
Fjern bolte og møtrikker fra styrearmen, der fastgør hver fjederbærer (B i Figur 20).
Fjern fjederbærere og fjedre fra maskinen (C i Figur 20).
Note: Bemærk placeringen af mærkater på fjederbærerne. Fjederbærerne skal sættes tilbage i samme position.

Fjern de eksisterende fjedre fra fjederbærerne, og sæt fjedrene fra dette sæt (sorte fjedre) i fjederbærerne.
Benyt trykfjederværktøjets stang til at trykke fjedrene sammen til den måling, der blev udført i trin 2.
Sæt fjedrene og fjederbæreren tilbage på maskinen.
Monter de bolte og møtrikker, der blev fjernet tidligere, fra stabilisatorleddene og styrearmen.
Monter de forreste hjul, og sænk maskinen.
Spænd låsemøtrikkerne med et moment på 109 til 122 Nm.
Dele, der skal bruges til dette trin:
| Indre skærm | 1 |
| Skærmstrop | 2 |
| Sekskantet flangehovedbolt (¼" x ¾") | 6 |
| Flangemøtrik (1/4 tomme) | 8 |
| Gummistødklods | 2 |
| Spændeskive | 2 |
| Kabelbånd | 2 |
Justér skærmstropperne på den nederste kant af sædesokkelrammen, og brug skærmstropperne som en skabelon til at markere og bore 3 huller (5/16 tommer) på hver side af sædesokkelrammen (Figur 21).

Montér den indre skærm og skærmstropperne med 6 sekskantede flangehovedbolte (¼" x ¾") og 6 flangemøtrikker (¼") som vist i Figur 22.

Fold klappen ned, og sæt klappen om bag gulvflangen (Figur 23).
Fastgør klappen med 2 kabelbånd rundt om midterrammens rør (Figur 23).

Montér en gummistødklods ved hjælp af en spændeskive og en flangemøtrik (¼") på hver side (Figur 24).

Dele, der skal bruges til dette trin:
| Venstre beslagsamling | 1 |
| Højre beslagsamling | 1 |
| Justeringsbolt (⅜" x 2") | 2 |
| Sekskantmøtrik (⅜") | 2 |
| Sekskantet flangehovedbolt (⅜" x 1") | 4 |
| Flangemøtrik (⅜") | 4 |
| Forreste førerhusbeslag | 2 |
| Sekskantbolt (7/16") | 2 |
| Trykskive | 2 |
| Låsemøtrik (½") | 2 |
| Gummiisolator | 2 |
| Afstandsbøsning | 2 |
| Spændeskive | 2 |
| Låsemøtrik | 2 |
| Flangehovedbolt (½" x 2¼") | 2 |
Monter de bageste beslag på maskinen (Figur 25) ved hjælp af de skruer, der blev fjernet fra styrtbøjlen i Afmontering af styrtbøjleenhed.

Tilspænd boltene med et moment på 94 til 108 Nm.
Montér venstre og højre beslagsamling på de forreste førerhusbeslag ved hjælp af 2 sekskantede flangehovedbolte (⅜" x 1") og 2 flangemøtrikker (⅜") på hver side (Figur 26).
Brug de midterste huller i beslagsamlingen, når du monterer den.
Montér justeringsbolten (⅜" x 2") og sekskantmøtrikken (⅜") i venstre og højre beslagsamling på hver side af maskinen (Figur 26).

Montér det forreste førerhusbeslag med en sekskantbolt (7/16"), en trykskive og en låsemøtrik (½") på hver side (Figur 27).

Montér de 2 gummiisolator med en flangehovedbolt (½" x 2¼"), en afstandsbøsning, en spændeskive og en låsemøtrik på hver side (Figur 28).
Note: Brug sæbevand for at gøre det nemmere at montere beslagets støttebeslag.

Begge maskiner:
Ret åbningen i sædeafskærmningen til parkeringsbremsen ind efter parkeringsbremsens håndtag.
Ret hullet i gearvælgerkappen ind efter stangen til gearvælgeren.
Juster åbningen i sædeafskærmningen til stængerne til løft af ladstyringen, skifteren til højt og lavt hastighedsområde og differentialelåsen.
Sænk sædeafskærmningen.
Ret hullerne i afskærmningen til sædemonteringen ind efter sædets støttebeslag på chassiset.
Tilspænd ikke boltene.
Tilslut gearskifteindikatoren, og fastgør beslaget til betjeningsanordningerne med skruerne (Figur 12 og Figur 14), der blev fjernet i Afmontering af sædeafskærmningen.
Important: Dette trin gælder kun for Workman HDX-Auto-maskiner.
Dele, der skal bruges til dette trin:
| Sidepladepanel | 2 |
| Førerhusets ramme | 1 |
| Bolt (½") | 4 |
| Skive (1/2 tomme) | 4 |
| Møtrik (½") | 4 |
| Instrumentbrættets nederste pakning | 1 |
Løsn boltene på skærmene med cirka 1 omgang for at give plads til, at sidepladepanelerne kan glide på plads.
Skub sidepladepanelerne mellem sædeafskærmning og sideskærmene (Figur 29).
Note: Sørg for, at panelerne sidder helt i bund, før boltene spændes.

Spænd boltene på skærmene.
Note: Stram ikke boltene for meget.
Montér instrumentbrættets nederste pakning på førerhuset (Figur 30).
Sørg for, at du monterer pakningen med den længste kant foran (Figur 30).

Hold førerhusets ramme, idet løftepunkterne benyttes, og placer den på maskinen (Figur 31).
Note: Før du sænker førerhuset ned på maskinen, skal påføres sæbevand på instrumentbrættet for at holde den nederste pakning på instrumentbrættet smurt.
Note: Sørg for, at for- og bagkanterne på den nederste pakning ruller under monteringen.

Fastgør rammen til maskinen ved hjælp af 4 bolte (½"), 4 spændeskiver (½") og 4 møtrikker (½") som vist i Figur 32.
Note: Tilspænd ikke de 4 bolte (½").

Juster førerhuset fra side til side for at sikre, at førerhuset er centreret.
Brug justeringsbolten (Figur 26) til at centrere førerhuset.
Tilspænd de 4 bolte (1/2 tomme) til 91 til 113 Nm.
Dele, der skal bruges til dette trin:
| Ledningsnet | 1 |
| Kabelbånd | 4 |
| Sikring (30 A) | 1 |
Før ledningsnettet som vist i Figur 33, og fastgør det med de 4 kabelbånd.

Slut ringklemmen på ledningsnettet til jordblokken, og sæt stikket til sikringsblokken i et ledigt stik (Figur 34).
Note: Hvis der ikke findes et ledigt stik i sikringsblokken, skal du tilføje en sikringsblok til sikringsblokkens gruppering. Kontakt en autoriseret serviceforhandler for at få flere oplysninger.

Dele, der skal bruges til dette trin:
| Bagplade | 1 |
| Justeringsplade | 1 |
| Fransk skrue (½" x 4") | 1 |
| Flangemøtrik (1/2 tomme) | 1 |
| Stopplade | 1 |
| Bræddebolt (¼" x 1¾") | 4 |
| Flangemøtrik (¼") | 4 |
Mål 20,7 cm til venstre fra bundkanten på motorhjelmens beslag, og markér placeringen (Figur 35).

Montér justeringspladen og bagpladen på instrumentbrættets støtte med 4 bræddebolte (¼" x 1¾") og flangemøtrikker (¼") som vist i Figur 36.

Montér den franske skrue (½" x 4"), flangemøtrikken (½") og stoppladen til justeringspladen (Figur 37).

Luk afstanden mellem instrumentbrættet og førerhuset ved at justere den franske skrue (½" x 4"), indtil stoppladen skubbes opad på instrumentbrættet (Figur 38).

Dele, der skal bruges til dette trin:
| Vandafløb | 1 |
| Klar slange i passagersiden – 122 cm (48") | 1 |
| Klar slange i førersiden – 43 cm (17") | 1 |
| Klar slange ved gulvet – 33 cm (13") | 1 |
| T-fitting | 1 |
| Magnetisk kabelbåndsbeslag | 3 |
| Kabelbånd | 3 |
Fjern de 5 sekskantede skivehovedbolte fra instrumentbrættet (Figur 39).
Gem 5 sekskantede skivehovedbolte.

Skub vandafløbet ind mellem maskinens instrumentbræt og underrammen, og fastgør vandafløbet ved hjælp af de tidligere fjernede 5 sekskantede skivehovedbolte (Figur 40).

Brug en tang til at fjerne forsendelsestappen fra hver side af vandafløbet (Figur 41).

Tilslut den 122 cm klare slange til den 33 cm klare slange og den 43 cm klare slange ved hjælp af en T-fittingen (Figur 42).

Start fra passagersiden, og før den tilsluttede klare slange ned gennem gulvbrættet (med koblingspedalen) til førersiden i maskinen (Figur 43).
Fastgør den tilsluttede klare slange med de 3 magnetiske kabelbåndsbeslag og 3 kabelbånd (Figur 43).

Klem hver ende af den klare slange, og beskær den i en vinkel på 45° (Figur 44).
Justér den klare slange med bunden af vandafløbet, så toppen af vinklen er udenfor maskinen, og montér den (Figur 44).

Dele, der skal bruges til dette trin:
| Gulvpladepanel | 2 |
| Sidepladepanel | 2 |
| Bolt (¼") | 12 |
Dele, der skal bruges til dette trin:
| Bolt (¼") | 2 |
| Afstandsbøsning | 2 |
| Holdestykke | 1 |
| Møtrik (¼") | 2 |
| CVT-indsugningshætte (sælges separat) | 1 |
Montér røret til betjeningsvejledningen (Figur 47).

Ret hullerne i sædeskinnerne ind efter hullerne i afskærmningen til sædets monteringspositioner (Figur 6).
Fastgør sæderne til chassiset med boltene med de otte sokler (Figur 6), du fjernede i trin Afmontering af sæderne.
Fastgør CVT-kølekanalen (Figur 7) til indsugningsrørforbindelsen med den slangeklemme, du fjernede i trin Afmontering af CVT-kølekanalen (kun HDX-Auto-maskiner), køletanken, styrtbøjleenheden og sædeafskærmningen.
Important: Dette trin gælder kun for Workman HDX-Auto-maskiner.
Note: Du skal tilføje CVT-indsugningshætten til dette sæt for Workman HDX-Auto-maskiner. Kontakt din autoriserede serviceforhandler.
Juster centerkonsolpanelet over styrestængerne på centerkonsollen (Figur 3 og Figur 5), og fastgør panelet med de skruer, du fjernede i trin Afmontering af centerkonsolpanel og sæder.
Sæt de drejeknapper på, du fjernede i trin Afmontering af centerkonsolpanel og sæder.
Juster venstre og højre flange på køletankens beslag ind efter køletankens støtte på sædeafskærmningen (Figur 8).
Sænk tanken ned i støtten, indtil tanken sidder godt fast (Figur 8).
Se betjeningsvejledningen til maskinen.
Slut den positive (+)-batteriledning til batteriet.
Klem sammen om batteridækslet, juster tapperne ind efter batteribundpladen, og slip batteridækslet.
Note: Se betjeningsvejledningen til maskinen.
Sænk ladet. Se betjeningsvejledningen.
Ret bunden af motorhjelmen ind efter toppen af kofangeren.
Tilslut lygterne
Indsæt de øverste monteringstapper i stelrillerne.
Indsæt de nederste monteringstapper i åbningerne i kofangeren.
Sørg for, at motorhjelmen er helt fastgjort i rillerne øverst, nederst og på siderne.
Løft op i låsene for at åbne forruden (Figur 49). Tryk låsen ind for at låse forruden i den åbne position. Træk låsen ud og ned for at lukke og fastgøre forruden.
