Întreţinere
Note: Determinaţi partea stângă şi dreaptă a maşinii din poziţia de operare normală.
Program(e) de întreţinere recomandat(e)
| Interval de întreţinere şi service | Procedură de întreţinere |
|---|---|
| După primele 2 ore |
|
| După primele 10 ore |
|
| După primele 50 ore |
|
| Înainte de fiecare folosinţă sau zilnic |
|
| La intervale de 50 de ore |
|
| La intervale de 100 de ore |
|
| La intervale de 400 de ore |
|
Listă de verificare pentru întreținerea zilnică
Copiați această pagină pentru utilizare de rutină.
| Verificări de întreținere | Pentru săptămâna: | ||||||
|---|---|---|---|---|---|---|---|
| Luni | Marți | Miercuri | Joi | Vineri | Sâmbătă | Duminică | |
| Verificați starea lamelor | |||||||
| Lubrifiați toate fitingurile de lubrifier1 | |||||||
| Retușați vopseaua deteriorată | |||||||
|
1. Imediat după fiecare spălare, indiferent de intervalul menționat. |
|||||||
| Notare pentru zonele de interes | ||
| Inspecție efectuată de: | ||
| Element | Dată | Informații |
Avertisment
Dacă lăsați cheia în contact, cineva poate porni în mod accidental motorul și vă poate răni pe dumneavoastră sau alți trecători.
Scoateți cheia din contact înainte de a efectua orice lucrare de întreținere.
Lubrifierea rulmenților și a bucșelor
| Interval de întreţinere şi service | Procedură de întreţinere |
|---|---|
| Înainte de fiecare folosinţă sau zilnic |
|
| La intervale de 50 de ore |
|
Mașina este echipată cu fitinguri de lubrifiere care trebuie lubrifiate în mod regulat cu lubrifiant cu litiu nr. 2.
-
Parcați mașina pe o suprafață plană, coborâți unitatea de tăiere, cuplați frâna de parcare, opriţi motorul şi scoateţi cheia.
-
Lubrifiați următoarele zone:
Verificarea lubrifiantului pentru cutia de viteze
| Interval de întreţinere şi service | Procedură de întreţinere |
|---|---|
| După primele 50 ore |
|
| La intervale de 50 de ore |
|
| La intervale de 400 de ore |
|
Cutia de viteze este proiectată să funcționeze cu lubrifiant SAE 80-90. Deși cutia de viteze este prevăzută cu lubrifiant din fabrică, verificați nivelul înainte de a utiliza unitatea de tăiere. Capacitatea cutiei de viteze este de 283 ml.
-
Parcați mașina pe o suprafață plană, coborâți unitatea de tăiere, cuplați frâna de parcare, opriţi motorul şi scoateţi cheia.
-
Îndepărtați joja/bușonul de umplere din partea de sus a cutiei de viteze (Figura 17) și asigurați-vă că lubrifiantul se află între marcajele de pe jojă. Dacă nivelul lubrifiantului este scăzut, adăugați o cantitate de lubrifiant suficientă pentru a aduce nivelul între marcaje.

-
Montați joja și strângeți la un cuplu de 9 Nm.
Verificarea cuplului de strângere a elementelor de fixare a arborelui prizei de putere la cutia de viteze
| Interval de întreţinere şi service | Procedură de întreţinere |
|---|---|
| După primele 10 ore |
|
| La intervale de 100 de ore |
|
Verificați cuplul de strângere a elementelor care fixează arborele prizei de putere la cutia de viteze (Figura 18); consultați secțiunea de configurare din Manualul operatorului al mașinii pentru specificația privind cuplul adecvat.

Îndepărtarea unității de tăiere de la unitatea de tracţiune
-
Parcați maşina pe o suprafaţă plană, cu unitatea de tăiere ridicată.
-
Îndepărtați știfturile pentru înălțimea de tăiere (Figura 19) de la plăcile laterale ale unității de tăiere.

-
Coborâți unitatea de tăiere, cuplați frâna de parcare, opriți motorul și scoateți cheia de contact.
-
Îndepărtați șuruburile și șaibele care fixează brațele de ridicare pe brațele rolelor.

-
Îndepărtați șuruburile și piulițele de pe arborele prizei de putere (Figura 21) și glisați furca afară din cutia de viteze.
Note: Consultați Manualul operatorului pentru a alinia corect canelurile dacă îndepărtați componentele arborelui de transmisie.

Întreținerea bucșelor de la brațele rolelor
Brațele rolelor sunt prevăzute cu bucșe presate la partea de sus și cea de jos a tubului, care se uzează după multe ore de funcționare.
Pentru a verifica bucșele, deplasați furca rolei în față și în spate și dintr-o parte în cealaltă. Dacă axul rolei este slăbit în interiorul bucșelor, bucșele sunt uzate și trebuie să le înlocuiți.
-
Parcați mașina pe o suprafață plană, coborâți unitatea de tăiere, cuplați frâna de parcare, opriţi motorul şi scoateţi cheia.
-
Îndepărtați capacul de tensionare, distanțierul (distanțierele) și șaiba de presiune din partea superioară a axului rolei.
-
Trageți axul rolei din tubul de montare. Lăsați șaiba de presiune și distanțierul (distanțierele) să rămână la partea inferioară a axului.
-
Introduceți un poanson în partea superioară sau inferioară a tubului de montare și îndepărtați bucșa din tub (Figura 22). De asemenea, îndepărtați cealaltă bucșă din tub. Curățați interiorul tuburilor, îndepărtând murdăria.

-
Aplicați lubrifiant pe interiorul și exteriorul bucșelor noi. Utilizați un ciocan și o placă plată pentru a introduce bucșele în tubul de montare.
-
Verificați dacă există uzură la nivelul axului rolei și înlocuiți-l dacă este deteriorat.
-
Împingeți axul rolei prin bucșe și tubul de montare, glisați șaiba de presiune și distanțierul (distanțierele) pe ax și montați capacul de tensionare pe axul rolei.
Întreținerea rolelor și rulmenților
| Interval de întreţinere şi service | Procedură de întreţinere |
|---|---|
| După primele 2 ore |
|
| După primele 10 ore |
|
| La intervale de 50 de ore |
|
-
Parcați mașina pe o suprafață plană, coborâți unitatea de tăiere, cuplați frâna de parcare, opriţi motorul şi scoateţi cheia.
-
Îndepărtați contrapiulița de pe șurubul care fixează ansamblul rolei, între cadrul furcii rolei (Figura 23). Prindeți rola și glisați șurubul din furcă sau din brațul pivotant.
-
Îndepărtați rulmentul din butucul roții și lăsați să cadă distanțierul rulmentului (Figura 23). Îndepărtați rulmentul de la partea opusă a butucului roții.
-
Verificați dacă există uzură la nivelul rulmenților, distanțierului și interiorului butucului roții. Înlocuiți orice piese deteriorate.
-
Pentru a monta rola, împingeți rulmentul în butucul roții. La montarea rulmenților, apăsați calea de rulare exterioară a rulmentului.

-
Glisați distanțierul rulmentului în butucul roții. Împingeți celălalt rulment în capătul deschis al butucului roții pentru a atrage distanțierul rulmentului din interiorul butucului roții.
-
Montați ansamblul rolei în cadrul furcii rolei și fixați-l cu șurubul și contrapiulița.
Lucrări de service pentru lamele de tăiere
Siguranța lamei
O lamă uzată sau deteriorată s-ar putea rupe, iar o bucată din lamă ar putea fi proiectată spre dumneavoastră sau trecători, rezultând în vătămări corporale grave sau deces.
-
Inspectați lama periodic pentru urme de uzură sau de deteriorare.
-
Verificați lamele cu grijă. Acoperiți lamele sau purtați mănuși și efectuați lucrările de service pentru lame cu atenție. Doar înlocuiți sau ascuțiți lamele; nu le îndreptați sau sudați niciodată.
-
În cazul mașinilor cu mai multe lame, acționați cu atenție, deoarece rotirea unei lame poate duce la rotirea celorlalte lame.
Verificarea prezenței unei lame îndoite
După lovirea unui obiect, verificați dacă mașina are deteriorări și efectuați reparații înainte de a porni și utiliza echipamentul. Strângeţi toate piulițele ax-fulie la un cuplu de 176 - 203 Nm.
-
Parcați mașina pe o suprafață plană, ridicați unitatea de tăiere în poziția de TRANSPORT, cuplați frâna de parcare, opriţi motorul şi scoateţi cheia.
-
Ridicați unitatea de tăiere în poziția de SERVICE; consultați Manualul operatorului pentru unitatea de tracțiune.
-
Rotiți lama până când capetele sunt orientate în față și în spate și măsurați din interiorul unității de tăiere până la marginea de tăiere din partea din față a lamei (Figura 24).
Note: Rețineți această dimensiune.

-
Rotiți capătul opus al lamei în față și măsurați între unitatea de tăiere și marginea de tăiere a lamei în aceeași poziție ca la pasul 3.
Note: Diferența dintre dimensiunile obținute la pașii 3 și 4 nu trebuie să depășească 3 mm. Dacă dimensiunea depășește 3 mm, lama este îndoită și trebuie înlocuită; consultați Îndepărtarea și montarea unității (unităților de tăiere).
Îndepărtarea și montarea unității (unităților de tăiere)
Înlocuiți lama dacă a lovit un obiect solid sau dacă lama nu mai este echilibrată sau este îndoită. Utilizați întotdeauna lame de schimb originale Toro pentru a asigura siguranță și performanță optimă.
-
Parcați mașina pe o suprafață plană, ridicați unitatea de tăiere în poziția de TRANSPORT, cuplați frâna de parcare, opriţi motorul şi scoateţi cheia.
-
Ridicați unitatea de tăiere în poziția de SERVICE; consultați Manualul operatorului pentru unitatea de tracțiune.
-
Prindeți capătul lamei folosind o lavetă sau mănușă cu protecție corespunzătoare.
-
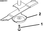
Scoateți șurubul lamei, cupa anti-scalp și lama de pe arborele axului (Figura 25).

-
Montați lama, cupa anti-scalp și șurubul lamei și strângeți șurubul lamei la un cuplu cuprins între 115 și 149 Nm.
Important: Partea curbată a lamei trebuie să fie îndreptată către interiorul unității de tăiere, pentru a asigura tăierea corespunzătoare.
Note: După lovirea unui obiect străin, strângeți toate piulițele fuliei axului la un cuplu cuprins între 115 și 149 Nm.
Verificarea și ascuțirea lamei (lamelor) unității de tăiere
Atât marginile de tăiere, cât și suprafața velică, care este porțiunea întoarsă, opusă marginii de tăiere, contribuie la o calitate bună a tăieturii.
Mențineți lamele ascuțite în timpul sezonului de tundere a ierbii. Lamele ascuțite taie precis, fără a rupe sau a mărunți firele de iarbă.
Verificați dacă lamele prezintă orice urme de uzură sau deteriorare. Suprafața velică ridică firele de iarbă în poziție verticală, asigurând astfel o tăietură uniformă și se uzează treptat în timpul funcționării.
-
Parcați mașina pe o suprafață plană, ridicați unitatea de tăiere în poziția de TRANSPORT, cuplați frâna de parcare, opriţi motorul şi scoateţi cheia.
-
Ridicați unitatea de tăiere în poziția de SERVICE; consultați Manualul operatorului pentru unitatea de tracțiune.
-
Examinați cu atenție capetele de tăiere ale lamei, în special acolo unde se întâlnesc părțile plate și curbate ale lamei (Figura 26).
Note: Deoarece nisipul și materialele abrazive pot îndepărta metalul care unește partea plată cu cea curbată a lamei, verificați lama înainte de a utiliza mașina de tuns iarba. Dacă observați urme de uzură (Figura 26), înlocuiți lama.

-
Examinați marginile de tăiere ale tuturor lamelor și ascuțiți-le dacă sunt tocite sau crestate (Figura 27).
Note: Ascuțiți doar partea superioară a marginii de tăiere și mențineți unghiul de tăiere inițial pentru a asigura ascuțirea (Figura 27). Lama rămâne echilibrată dacă este îndepărtată aceeași cantitate de metal de pe ambele margini de tăiere.

Note: Demontați lamele și ascuțiți-le cu un dispozitiv pentru ascuțit. După ascuțirea marginilor de tăiere, montați lama cu cupa anti-scalp și șurubul lamei; consultați Verificarea și ascuțirea lamei (lamelor) unității de tăiere.
Verificarea și corectarea nealinierii lamelor
Dacă lamele sunt nealiniate, gazonul va avea dungi după ce a fost tuns. Această problemă poate fi corectată asigurându-vă că lamele sunt drepte și că taie toate pe același plan.
-
Găsiți o suprafață plană pe podea și folosiți o nivelă de tâmplărie cu lungimea de 1 m.
-
Setați înălțimea de tăiere la poziția cea mai înaltă; consultați Reglarea înălțimii de tăiere.
-
Coborâți unitatea de tăiere pe suprafața plană. Îndepărtați capacele de la partea de sus a unității de tăiere.
-
Rotiți lamele până când capetele sunt orientate în față și în spate. Măsurați de la podea până la vârful frontal al marginii de tăiere. Rețineți această dimensiune. Apoi rotiți aceeași lamă astfel încât capătul opus să fie îndreptat în față și măsurați din nou. Diferența dintre dimensiuni nu trebuie să depășească 3 mm. Dacă dimensiunea depășește 3 mm, înlocuiți lama deoarece este îndoită. Măsurați toate lamele.
-
Comparați dimensiunile măsurate ale lamelor exterioare cu cele ale lamei centrale. Lama centrală nu trebuie să fie poziționată cu mai mult de 10 mm mai jos decât lamele exterioare. Dacă lama centrală este poziționată cu mai mult de 10 mm mai jos decât lamele exterioare, treceți la pasul 6 și adăugați garnituri de reglare între carcasa axului și partea inferioară a unității de tăiere.
-
Îndepărtați șuruburile, șaibele plate, șaibele de blocare și piulițe de pe axul exterior în zona în care trebuie adăugate garniturile de reglare. Pentru a ridica sau a coborî lama, adăugați o garnitură de reglare (nr. piesă 3256-24) între carcasa axului și partea inferioară a unității de tăiere. Continuați să verificați alinierea lamelor și adăugați garnituri de reglare până când vârfurile lamelor se încadrează în dimensiunea necesară.
Important: Nu utilizați mai mult de 3 garnituri de reglare în orice locație cu un orificiu. Utilizați un număr descrescător de garnituri de reglare în orificiile adiacente dacă se adaugă mai mult de o garnitură de reglare în orice locație cu un orificiu.
-
Montați capacele curelei.
Înlocuirea curelei de transmisie
| Interval de întreţinere şi service | Procedură de întreţinere |
|---|---|
| La intervale de 50 de ore |
|
Cureaua de acționare a lamei, tensionată de fulia rolei de ghidare cu arc, este foarte durabilă. Cu toate acestea, după multe ore de utilizare, cureaua va prezenta semne de uzură. Semnele de uzură a curelei includ un sunet de scârțâit în timp ce se rotește cureaua, patinarea lamelor în timpul tunderii ierbii, margini uzate, urme de arsuri și crăpături pe curea. Înlocuiți cureaua dacă apare oricare dintre aceste condiții.
-
Parcați mașina pe o suprafață plană, coborâți unitatea de tăiere, cuplați frâna de parcare, opriţi motorul şi scoateţi cheia.
-
Îndepărtați capacele curelei din partea de sus a unității de tăiere și puneți-le deoparte.
-
Folosind o cheie dinamometrică sau o unealtă similară, îndepărtați fulia rolei de ghidare (Figura 28) de cureaua de transmisie pentru a detensiona cureaua și pentru a permite alunecarea acesteia de pe fulia cutiei de viteze.

-
Îndepărtați cureaua veche din jurul fuliilor axului și al fuliei rolei de ghidare.
-
Folosind o cheie dinamometrică sau o unealtă similară pentru a susține fulia rolei de ghidare, direcționați cureaua nouă în jurul fuliilor axului și al fuliei rolei de ghidare, așa cum se arată în Figura 29.

-
Montați capacele curelei.
Curățare sub unitatea de tăiere
| Interval de întreţinere şi service | Procedură de întreţinere |
|---|---|
| Înainte de fiecare folosinţă sau zilnic |
|
Îndepărtați zilnic acumulările de iarbă de sub unitatea de tăiere.
-
Parcați mașina pe o suprafață plană, ridicați unitatea de tăiere în poziția de TRANSPORT, cuplați frâna de parcare, opriţi motorul şi scoateţi cheia.
-
Ridicați unitatea de tăiere în poziția de SERVICE; consultați Manualul operatorului pentru unitatea de tracțiune.
-
Curățați bine cu apă partea inferioară a unității de tăiere.


, care înseamnă
Atenţie, Avertisment sau Pericol – instrucţiune
privind siguranţa personală. Nerespectarea acestor instrucţiuni
poate cauza vătămări corporale sau moartea.






















