Manutenzione
Note: Stabilite i lati sinistro e destro della macchina rispetto alla normale posizione di guida.
Programma di manutenzione raccomandato
| Cadenza di manutenzione | Procedura di manutenzione |
|---|---|
| Dopo le prime 2 ore |
|
| Dopo le prime 10 ore |
|
| Dopo le prime 50 ore |
|
| Prima di ogni utilizzo o quotidianamente |
|
| Ogni 50 ore |
|
| Ogni 100 ore |
|
| Ogni 400 ore |
|
Lista di controllo della manutenzione quotidiana
Fotocopiate questa pagina e utilizzatela quando opportuno.
| Punto di verifica per la manutenzione | Per la settimana di: | ||||||
|---|---|---|---|---|---|---|---|
| Lun | Mar | Mer | Gio | Ven | Sab | Dom | |
| Controllate le condizioni delle lame | |||||||
| Lubrificate tutti gli ingrassatori.1 | |||||||
| Ritoccate la vernice danneggiata | |||||||
|
1. Subito dopo ogni lavaggio, a prescindere dall'intervallo indicato. |
|||||||
| Nota sulle aree problematiche | ||
| Ispezione eseguita da: | ||
| Art. | Data | Informazioni |
Attenzione
Se lasciate la chiave nell'interruttore di accensione, qualcuno potrebbe accidentalmente avviare il motore e ferire gravemente voi od altre persone.
Togliete la chiave di accensione prima di ogni intervento di manutenzione.
Ingrassaggio di cuscinetti e boccole
| Cadenza di manutenzione | Procedura di manutenzione |
|---|---|
| Prima di ogni utilizzo o quotidianamente |
|
| Ogni 50 ore |
|
La macchina è dotata di raccordi per ingrassaggio che devono essere lubrificati a intervalli regolari con grasso n. 2 al litio.
-
Parcheggiate la macchina su una superficie pianeggiante, abbassate l’apparato di taglio, inserite il freno di stazionamento, spegnete il motore e togliete la chiave.
-
Lubrificate le seguenti zone:
Controllo del lubrificante nella scatola ingranaggi
| Cadenza di manutenzione | Procedura di manutenzione |
|---|---|
| Dopo le prime 50 ore |
|
| Ogni 50 ore |
|
| Ogni 400 ore |
|
La scatola ingranaggi è progettata per funzionare con lubrificante per ingranaggi SAE 80-90W. Sebbene la scatola ingranaggi sia spedita con lubrificante di fabbrica, verificate il livello prima di utilizzare l'apparato di taglio. La capacità della scatola ingranaggi è pari a 283 ml.
-
Parcheggiate la macchina su una superficie pianeggiante, abbassate l’apparato di taglio, inserite il freno di stazionamento, spegnete il motore e togliete la chiave.
-
Rimuovete l'asta di livello/tappo di riempimento dalla parte superiore della scatola ingranaggi (Figura 17) e assicuratevi che il lubrificante sia compreso tra i segni sull'asta di livello. Se il lubrificante è insufficiente, rabboccatelo fino a raggiungere il livello compreso tra i segni.

-
Montate l'asta di livello e serrate a 9 N∙m.
Controllo della coppia di serraggio degli elementi di fissaggio dell’albero di trasmissione PDF alla scatola ingranaggi
| Cadenza di manutenzione | Procedura di manutenzione |
|---|---|
| Dopo le prime 10 ore |
|
| Ogni 100 ore |
|
Controllate la coppia di serraggio degli elementi di fissaggio che fissano l’albero di trasmissione PDF alla scatola ingranaggi (Figura 18); fate riferimento alla sezione di configurazione nel Manuale dell’operatore della vostra macchina per le specifiche appropriate della coppia di serraggio.

Rimozione dell'elemento di taglio dal trattorino
-
Parcheggiate la macchina su terreno pianeggiante con l’apparato di taglio sollevato.
-
Togliete i perni dell’altezza di taglio (Figura 19) dalle piastre laterali dell’apparato di taglio.

-
Abbassate l’apparato di taglio, inserite il freno di stazionamento, spegnete il motore e togliete la chiave.
-
Togliete i bulloni e le rondelle che fissano i bracci di sollevamento ai bracci delle ruote orientabili.

-
Togliete i bulloni e i dadi dall’albero della PDF (Figura 21) e fate scorrere la forcella via dalla scatola ingranaggi.
Note: Fate riferimento al Manuale dell’operatore, per allineare in modo appropriato le scanalature se separate i componenti dell’albero di trasmissione.

Manutenzione delle boccole dei bracci delle ruote orientabili
Nel tubo dei bracci delle ruote orientabili sono inserite, in alto e in basso, delle boccole; dopo molte ore di servizio le boccole si consumano.
Per controllare le boccole, spostate la forcella della ruota orientabile avanti e indietro e da un lato all'altro. Se il perno delle ruote orientabili è lento all'interno delle boccole, le boccole sono usurate; sostituitele.
-
Parcheggiate la macchina su una superficie pianeggiante, abbassate l’apparato di taglio, inserite il freno di stazionamento, spegnete il motore e togliete la chiave.
-
Togliete il cappuccio di tensione, il distanziale (o distanziali) e la rondella di spinta dalla parte superiore del perno della ruota orientabile.
-
Estraete il perno della ruota orientabile dal tubo di fissaggio. Lasciate la rondella di spinta e il distanziale (o distanziali) sulla base del perno.
-
Inserite un punteruolo nella parte superiore o inferiore del tubo di fissaggio, e spingete la boccola fuori del tubo (Figura 22). Estraete dal tubo anche l'altra boccola. Pulite l'interno dei tubi di fissaggio.

-
Lubrificate le nuove boccole all'interno ed all'esterno con del grasso. Con un martello ed una piastra piatta inserite le boccole nel tubo di fissaggio.
-
Controllate che il perno della ruota orientabile non sia consumato, e sostituitelo se è danneggiato.
-
Spingete il perno della ruota orientabile attraverso le boccole e il tubo di montaggio, fate scorrere la rondella di spinta e il distanziale (o distanziali) sul perno e montate il cappuccio di tensione sul perno della ruota orientabile.
Revisione delle rotelle orientabili e dei cuscinetti
| Cadenza di manutenzione | Procedura di manutenzione |
|---|---|
| Dopo le prime 2 ore |
|
| Dopo le prime 10 ore |
|
| Ogni 50 ore |
|
-
Parcheggiate la macchina su una superficie pianeggiante, abbassate l’apparato di taglio, inserite il freno di stazionamento, spegnete il motore e togliete la chiave.
-
Togliete il dado di bloccaggio dal bullone che fissa la rotella orientabile alla forcella (Figura 23). Afferrate la ruota orientabile ed estraete la vite a testa cilindrica dalla forcella o dal braccio di rotazione.
-
Togliete il cuscinetto dal mozzo della ruota e lasciate cadere il distanziale del cuscinetto (Figura 23). Togliete il cuscinetto dalla parte opposta del mozzo della ruota.
-
Controllate che i cuscinetti, il distanziale e l'interno del mozzo non siano usurati. Sostituite le parti avariate.
-
Per montare la ruota orientabile, inserite il cuscinetto nel mozzo della ruota. Durante il montaggio dei cuscinetti, premete l'anello esterno del cuscinetto.

-
Fate scorrere il distanziale del cuscinetto nel mozzo della ruota. Spingete l'altro cuscinetto nell'estremità aperta del mozzo della ruota, in modo da imprigionare il distanziale all'interno del mozzo.
-
Montate il gruppo ruota orientabile tra le forcelle, e fissatelo in sede con il bullone e il dado di bloccaggio.
Revisione delle lame di taglio
Sicurezza delle lame
Le lame consumate o danneggiate possono spezzarsi e scagliare frammenti verso di voi o gli astanti, causando gravi ferite o anche la morte.
-
Controllate la lama ad intervalli regolari, per accertare che non sia consumata o danneggiata.
-
Prestate la massima attenzione quando controllate le lame. Durante gli interventi di manutenzione, avvolgete le lame o indossate guanti adatti allo scopo e fate attenzione. Sostituite o affilate solo le lame; non raddrizzatele né saldatele.
-
Su macchine multilama, ricordate che la rotazione di 1 lama può provocare la rotazione anche di altre lame.
Verifica dell’assenza di curvatura della lama
Dopo avere urtato contro un corpo estraneo, ispezionate la macchina per rilevare eventuali danni ed effettuate le riparazioni necessarie prima di avviare l'attrezzatura. Serrate tutti i dadi della puleggia del perno a 176–203 N∙m.
-
Parcheggiate la macchina su terreno pianeggiante, sollevate l’apparato di taglio alla posizione TRASPORTO, inserite il freno di stazionamento, spegnete il motore e togliete la chiave.
-
Sollevate l’apparato di taglio alla posizione MANUTENZIONE; fate riferimento al Manuale dell’operatore del vostro trattorino.
-
Ruotate la lama fino a quando le estremità non sono rivolte in avanti e indietro e misurate la distanza tra l’interno dell'apparato di taglio e il tagliente sulla parte anteriore della lama (Figura 24).
Note: Ricordate questa misura.

-
Fate ruotare l'estremità opposta della lama in avanti e misurate la distanza tra l'apparato di taglio e il filo della lama nella stessa posizione di cui al punto 3.
Note: La differenza tra le misure rilevate alle voci 3 e 4 non deve superare i 3 mm. Se la differenza supera 3 mm, la lama è curva e dev'essere sostituita; vedere Rimozione e montaggio della lama o delle lame dell’apparato di taglio.
Rimozione e montaggio della lama o delle lame dell’apparato di taglio
Sostituite la lama se colpisce un corpo solido, se è sbilanciata o curva. Utilizzate solo lame di ricambio originali Toro per garantire sicurezza e prestazioni ottimali.
-
Parcheggiate la macchina su terreno pianeggiante, sollevate l’apparato di taglio alla posizione TRASPORTO, inserite il freno di stazionamento, spegnete il motore e togliete la chiave.
-
Sollevate l’apparato di taglio alla posizione MANUTENZIONE; fate riferimento al Manuale dell’operatore del vostro trattorino.
-
Afferrate l’estremità della lama con un cencio o un guanto bene imbottito.
-
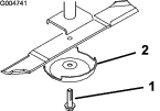
Togliete il bullone, la coppa antistrappo e la lama dall’asse del perno (Figura 25).

-
Montate la lama, la coppa antistrappo e il bullone della lama e serrate quest'ultimo a un valore compreso tra 115 e 149 N∙m.
Important: Perché tagli correttamente, il lato curvo della lama deve essere rivolto verso l'interno dell'apparato di taglio.
Note: Dopo avere urtato un corpo estraneo, serrate tutti i dadi della puleggia del perno a un valore compreso tra 115 e 149 N·m.
Controllo e affilatura della lama (o delle lame) dell'apparato di taglio
Sia i taglienti sia la costa, cioè la parte rivolta in alto opposta al tagliente, contribuiscono alla buona qualità del taglio.
Mantenete le lame affilate durante l'intera stagione di taglio Le lame affilate creano un taglio pulito senza strappare o lacerare i fili d'erba.
Controllate che le lame non presentino danni o segni di usura. La costa solleva l'erba in verticale, consentendo in questo modo un taglio uniforme e si usura gradualmente con il funzionamento.
-
Parcheggiate la macchina su terreno pianeggiante, sollevate l’apparato di taglio alla posizione TRASPORTO, inserite il freno di stazionamento, spegnete il motore e togliete la chiave.
-
Sollevate l’apparato di taglio alla posizione MANUTENZIONE; fate riferimento al Manuale dell’operatore del vostro trattorino.
-
Verificate accuratamente i taglienti, con particolare attenzione ai punti d'incontro delle sezioni piatta e curva della lama (Figura 26).
Note: Sabbia e materiali abrasivi possono consumare il metallo che connette le sezioni piatta e curva della lama, per cui si consiglia di controllare la lama prima di usare il tosaerba. Se notate dell'usura (Figura 26), sostituite la lama.

-
Esaminate l'affilatura di tutte le lame e affilate se risultano smussate o scheggiate (Figura 27).
Note: Affilate soltanto la parte superiore del tagliente e mantenete l'angolo di taglio originale per garantire l'affilatura (Figura 27). La lama resta bilanciata soltanto se viene rimossa una quantità uguale di metallo da entrambi i taglienti.

Note: Togliete le lame ed affilatele su un’affilatrice. Dopo avere affilato i taglienti, montate la lama insieme alla coppa antistrappo e al bullone della lama; fate riferimento a Controllo e affilatura della lama (o delle lame) dell'apparato di taglio.
Controllo e rettifica dell'accoppiamento delle lame
Se esiste un errato accoppiamento tra le lame, l'erba risulterà striata dopo il taglio. Questo problema può essere risolto accertando che le lame siano diritte e che tutte taglino allo stesso livello.
-
Con una livella lunga 1 m, trovate una superficie pianeggiante sul pavimento dell'officina.
-
Alzate al massimo l'altezza di taglio; vedere Regolazione dell'altezza di taglio.
-
Abbassate l'apparato di taglio sulla superficie pianeggiante. Togliete i carter dalla parte superiore dell'apparato di taglio.
-
Girate le lame fino a disporle in parallelo con la lunghezza della macchina. Misurate dal suolo alla punta anteriore del tagliente. Ricordate questa misura. Fate ruotare la stessa lama in modo che l'estremità opposta si trovi davanti, e misurate di nuovo. La differenza tra le misure non deve superare i 3 mm. Se la differenza supera i 3 mm, la lama è curva e dovete sostituirla. Misurate tutte le lame.
-
Confrontate le misure delle lame esterne con quelle della lama centrale. La lama centrale non deve essere più bassa di 10 mm rispetto alle lame esterne. Se la lama centrale è più bassa di 10 mm rispetto alle lame esterne, passate al punto 6 e inserite degli spessori tra l'alloggiamento del fusello e la parte inferiore dell'apparato di taglio.
-
Togliete i bulloni, le rondelle piatte, le rondelle elastiche di sicurezza e i dadi dal perno esterno nell'area in cui è necessario aggiungere gli spessori. Per alzare o abbassare la lama, aggiungete uno spessore (N. cat. 3256-24) tra l'alloggiamento del fusello e il fondo dell'apparato di taglio. Continuate a controllare l’allineamento della lama e ad aggiungere spessori finché le estremità della lama non rientrano nei limiti della dimensione richiesta.
Important: Non usate più di 3 spessori per ogni postazione di foro. Se aggiungete più di 1 spessore in una qualsiasi postazione, usate un numero inferiore di spessori nei fori adiacenti.
-
Montate i copricinghia.
Sostituzione della cinghia di trasmissione
| Cadenza di manutenzione | Procedura di manutenzione |
|---|---|
| Ogni 50 ore |
|
La cinghia di trasmissione della lama, tesa dalla puleggia tendicinghia a molla, ha una lunga durata. Tuttavia, dopo molte ore di funzionamento, presenterà segni di usura. Questi sono: stridio durante la rotazione della cinghia, slittamento delle lame durante il taglio dell’erba, bordi sfilacciati, segni di bruciatura e spaccature. Sostituite la cinghia se si verifica una delle seguenti situazioni:
-
Parcheggiate la macchina su una superficie pianeggiante, abbassate l’apparato di taglio, inserite il freno di stazionamento, spegnete il motore e togliete la chiave.
-
Togliete i copricinghia dalla parte superiore dell’apparato di taglio e metteteli da parte.
-
Con una chiave dinamometrica o uno strumento simile, allontanate la puleggia tendicinghia (Figura 28) dalla cinghia di trasmissione per allentare la tensione della cinghia e staccarla dalla puleggia degli ingranaggi.

-
Togliete la vecchia cinghia dalle pulegge del perno e dalla puleggia tendicinghia.
-
Utilizzando una chiave dinamometrica o uno strumento simile per fissare la puleggia tendicinghia, disponete la nuova cinghia attorno alle pulegge del perno e al gruppo della puleggia tendicinghia, come illustrato nella Figura 29.

-
Montate i copricinghia.
Pulizia della parte inferiore dell'apparato di taglio
| Cadenza di manutenzione | Procedura di manutenzione |
|---|---|
| Prima di ogni utilizzo o quotidianamente |
|
Togliete ogni giorno lo sfalcio accumulatosi sotto l'apparato di taglio.
-
Parcheggiate la macchina su terreno pianeggiante, sollevate l’apparato di taglio alla posizione TRASPORTO, inserite il freno di stazionamento, spegnete il motore e togliete la chiave.
-
Sollevate l’apparato di taglio alla posizione MANUTENZIONE; fate riferimento al Manuale dell’operatore del vostro trattorino.
-
Pulite accuratamente con acqua la parte inferiore dell'apparato di taglio.


che riporta l’indicazione di Attenzione,
Avvertenza o Pericolo – norme di sicurezza personali. Il mancato
rispetto di queste istruzioni può provocare infortuni o la
morte.






















