维护
Note: 请根据正常操作位置来判定机器的左侧和右侧。
推荐使用的维护计划
| 维护间隔时间 | 维护程序 |
|---|---|
| 初次使用2小时后 |
|
| 初次使用10小时后 |
|
| 初次使用50小时后 |
|
| 在每次使用之前或每日 |
|
| 每50个小时 |
|
| 每100个小时 |
|
| 每400个小时 |
|
日常维护检查表
复印本页以供日常使用。
| 维护检查项 | 第____周: | ||||||
|---|---|---|---|---|---|---|---|
| 周一 | 周二 | 周三 | 周四 | 周五 | 周六 | 周日 | |
| 检查刀片的状况 | |||||||
| 给所有黄油嘴加润滑脂。1 | |||||||
| 为掉漆部分补漆 | |||||||
|
1. 不管间隔多久,每次清洗后立即执行。 |
|||||||
| 疑点记录 | ||
| 检查人员: | ||
| 项目 | 日期 | 情况 |
小心
如果将钥匙留在点火开关上,可能会有人无意中启动发动机,对您或其他旁观者造成严重伤害。
执行任何维护前,请拔下点火钥匙。
润滑轴承和轴套
检查齿轮箱润滑油
| 维护间隔时间 | 维护程序 |
|---|---|
| 初次使用50小时后 |
|
| 每50个小时 |
|
| 每400个小时 |
|
齿轮箱经专门设计,可使用 SAE 80W–90 齿轮润滑油。尽管齿轮箱在出厂时带有润滑油,但在操作滚刀组之前,请检查油位。齿轮箱容量为 283ml。
-
将机器停放在水平地面上,放下滚刀组,接合手刹,关闭发动机,然后从点火开关上拔下钥匙。
-
请从齿轮箱顶部拆下量油尺/加油塞(图 17),确保润滑油介于量油尺上的标记之间。如果润滑油油位较低,请添加足够的润滑油,直至油位介于标记之间。

-
安装量油尺,并上紧扭矩至 9N∙m。
检查 PTO 驱动轴至齿轮箱紧固件的扭矩
| 维护间隔时间 | 维护程序 |
|---|---|
| 初次使用10小时后 |
|
| 每100个小时 |
|
检查将 PTO 驱动轴固定到齿轮箱的紧固件的扭矩(图 18);参见机器《操作员手册》的设置部分,了解适当的扭矩规格。

将滚刀组从主机上卸掉
维修脚轮臂内的轴套
脚轮臂将轴套压入管的顶部和底部,运行几个小时后,轴套会磨损。
要检查轴套,请前后左右移动脚轮叉。如果脚轮锭轴在轴套内松动,表明轴套磨损;请更换轴套。
-
将机器停放在水平地面上,放下滚刀组,接合手刹,关闭发动机,然后从点火开关上拔下钥匙。
-
从脚轮锭轴顶部卸下张紧帽、隔片和止推垫圈。
-
将脚轮锭轴拉出安装管。止推垫圈和隔片可以保留在锭轴的底部。
-
将销冲头插入安装管的顶部或底部,然后将轴套从管中推出(图 22)。以同样的方式,将另一个轴套推出安装管。清洁安装管内部的任何污垢。

-
在新轴套的内外涂抹润滑脂。使用锤子和平板将衬套敲入安装管。
-
检查脚轮锭轴是否磨损,如果损坏则更换。
-
将脚轮锭轴推过轴套和安装管,将止推垫圈和隔片滑到锭轴上,然后将张紧帽安装到脚轮锭轴上。
维修脚轮和轴承
| 维护间隔时间 | 维护程序 |
|---|---|
| 初次使用2小时后 |
|
| 初次使用10小时后 |
|
| 每50个小时 |
|
维修剪草刀片
刀片安全
磨损或受损的刀片可能会断裂,刀片碎片可能被抛掷到您或旁观者所在的区域,导致严重人身伤害甚至死亡事故。
-
定期检查刀片是否磨损或损坏。
-
检查刀片时需小心谨慎。维护刀片时,请把刀片包起来或戴上手套并极其小心。仅更换或磨快刀片;切勿拉直或焊接刀片。
-
使用多刀片机器时应小心谨慎,因为 1 个刀片旋转可能导致其他刀片跟着旋转。
检查刀片是否弯曲
拆装滚刀组刀片
如果刀片撞到坚硬的物体、失去平衡或弯曲,请予以更换。始终使用 Toro 真品更换刀片,以保证安全和最佳性能。
-
将机器停放在水平地面上,将滚刀组提升至行走位置,接合手刹,关闭发动机,然后拔下钥匙。
-
将滚刀组提升到维修位置;请参阅主机操作员手册。
-
使用抹布或厚垫手套抓住刀片的端部。
-
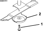
卸掉刀片螺栓、防刮罩,并从锭轴上取下刀片 (图 25)。

-
安装刀片、防刮罩和刀片螺栓,上紧刀片螺栓扭矩至 115~149N·m。
Important: 刀片的曲面必须向上朝向滚刀组的内部,确保适当的剪草。
Note: 在碰到外部物体后,上紧所有锭轴皮带轮螺母扭矩至 115~149N∙m。
检查并磨快滚刀组刀片
刀刃和刀翼(与刀刃相对的翻边部分)都有助于实现良好的剪草质量。
在整个剪草季节始终保持刀片锋利。锋利的刀片能够提供干净的剪草,不会撕扯或撕碎草叶。
检查刀片是否有任何磨损或损坏。刀翼把草垂直地提起,从而产生均匀的剪切,并在操作过程中逐渐磨损。
-
将机器停放在水平地面上,将滚刀组提升至行走位置,接合手刹,关闭发动机,然后拔下钥匙。
-
将滚刀组提升到维修位置;请参阅主机操作员手册。
-
仔细检查刀片的剪草端,特别是刀片平面和曲面交接的部分 (图 26)。
Note: 由于沙子和研磨材料可能导致连接刀片平面与曲面的金属磨损,请在使用剪草机之前检查刀片。如果看到出现磨损(图 26),请更换刀片。

-
检察所有刀片的刀刃,如果已经变钝或出现裂口,应打磨刀刃(图 27)。
Note: 仅打磨刀刃的边缘,并保持最初的切割角度,以保证锋利度(图 27)。如果从两片刀刃上磨掉相同量的金属,刀片会保持平衡。

Note: 卸下刀片,在磨床上打磨。打磨刀刃后,使用防刮罩和刀片螺栓安装刀片;请参阅检查并磨快滚刀组刀片。
检查并纠正刀片的错配
如果刀片之间搭配不当,剪草时会出现条纹。可通过确保刀片笔直并且所有刀片均在同一平面上剪草来解决这一问题。
-
用一个 1m 长的木匠水平仪,在车间地板上找一个水平面。
-
请将剪草高度提升到最高位置;请参阅调节剪草高度。
-
将滚刀组放低到平面上。取下滚刀组顶部的护罩。
-
旋转刀片,直至刀片端部前后对照。测量从地面到刀刃前缘的距离。记下此尺寸。旋转同一个刀片,以使其另一端向前,然后再次测量。两个尺寸之间的差距不得超过 3mm。如果尺寸差距超过 3mm,表明刀片是弯曲的,请更换。测量所有刀片。
-
比较外部刀片与中心刀片的测量结果。中心刀片不得比外部刀片低 10mm 以上。如果中心刀片较外部刀片低 10mm 以上,请转至步骤 6,并在锭轴外壳与滚刀组底部之间添加薄垫片。
-
在必须添加薄垫片的区域,从外锭轴上拆下螺栓、扁平垫圈、锁紧垫圈和螺母。要升高或降低刀片,请在锭轴外壳与滚刀组底部之间添加一个薄垫片(零件号 3256-24)。继续检查刀片的对齐情况并添加薄垫片,直到刀片前缘在所需尺寸内。
Important: 在任何 1 个孔位置使用的薄垫片都不得超过 3 个。如果任何 1 个孔位置添加了多个薄垫片,则可以减少相邻孔的薄垫片数量。
-
安装皮带罩。
更换传动皮带
| 维护间隔时间 | 维护程序 |
|---|---|
| 每50个小时 |
|
刀片传动皮带由弹簧加载式怠轮皮带轮拉紧,十分结实耐用。。然而,经过许多个小时的使用后,皮带可能会显露出磨损的迹象。皮带磨损的迹象包括:皮带旋转时发出尖啸声、剪草时刀片打滑、边缘磨损、烧痕及断裂。如果出现上述任何情况,请更换皮带。
清洁滚刀组下方
| 维护间隔时间 | 维护程序 |
|---|---|
| 在每次使用之前或每日 |
|
每天都要清除滚刀组下方堆积的草。
-
将机器停放在水平地面上,将滚刀组提升至行走位置,接合手刹,关闭发动机,然后拔下钥匙。
-
将滚刀组提升到维修位置;请参阅主机操作员手册。
-
用水彻底清洁滚刀组的下侧。


,即小心、警告或危险等个人安全指示。不遵循这些说明可能导致人身伤害甚至死亡事故。




























