Одржавање
Note: Utvrdite levu i desnu stranu mašine iz uobičajenog položaja operatera.
Препоручени распоред(и) одржавања
| Интервал сервисног одржавања | Поступак одржавања |
|---|---|
| Након прва 2 сата |
|
| Након првих 10 сати |
|
| Након првих 50 сати |
|
| Пре сваке употребе или свакодневно |
|
| Сваких 50 сати |
|
| Сваких 100 сати |
|
| Сваких 400 сати |
|
Kontrolna lista za svakodnevno održavanje
Umnožite ovu stranicu radi redovne upotrebe.
| Predmet provere za održavanje | Za nedelju od: | ||||||
|---|---|---|---|---|---|---|---|
| Pon. | Ut. | Sre. | Čet. | Pet. | Sub. | Ned. | |
| Proverite stanje sečiva | |||||||
| Podmažite sve mlaznice1 | |||||||
| Popravite oštećenu farbu | |||||||
|
1. Odmah nakon svakog ispiranja, bez obzira na navedeni interval. |
|||||||
| Napomene o stavkama na koje treba obratiti pažnju | ||
| Inspekciju izvršio: | ||
| Predmet | Datum | Informacije |
Пажња
Ako ostavite ključ u prekidaču za paljenje, neko bi mogao slučajno da pokrene mašinu i da ozbiljno povredi vas ili nekog od posmatrača.
Pre bilo kakvog održavanja izvadite ključ iz prekidača za paljenje.
Podmazivanje ležajeva i čaura
| Интервал сервисног одржавања | Поступак одржавања |
|---|---|
| Пре сваке употребе или свакодневно |
|
| Сваких 50 сати |
|
Mašina ima mazalice koje morate redovno da podmazujete litijumovom mašću br. 2.
-
Parkirajte mašinu na ravnoj površini, spustite jedinicu za sečenje, aktivirajte parkirnu kočnicu, isključite motor i uklonite ključ.
-
Podmažite sledeće oblasti:
Provera maziva u menjaču
| Интервал сервисног одржавања | Поступак одржавања |
|---|---|
| Након првих 50 сати |
|
| Сваких 50 сати |
|
| Сваких 400 сати |
|
Menjač je projektovan da radi sa SAE 80-90 mazivom za zupčanike. Iako se menjač isporučuje fabrički podmazan, proverite nivo maziva pre nego što ga pustite u rad sa jedinicom za sečenje. Kapacitet Menjača je 283 ml.
-
Parkirajte mašinu na ravnoj površini, spustite jedinicu za sečenje, aktivirajte parkirnu kočnicu, isključite motor i uklonite ključ.
-
Uklonite šipku za merenje nivoa maziva/čep otvora za punjenje sa menjača (Слика 17) i pobrinite se da nivo bude između oznaka na meraču. Ako je nivo maziva nizak, dodajte još maziva dok nivo ne bude između oznaka.

-
Montirajte šipku za merenje nivoa maziva i pritegnite je momentom od 9 N∙m.
Provera pritezanja pričvršćivača PTO pogonskog vratila za menjač
| Интервал сервисног одржавања | Поступак одржавања |
|---|---|
| Након првих 10 сати |
|
| Сваких 100 сати |
|
Proverite pritezni momenat pričvršćivača koji pričvršćuju PTO pogonsko vratilo za menjač (Слика 18); pogledajte postavku u odeljku Priručnika za operatera za vašu mašinu da našli odgovarajuću specifikaciju pritezanja.

Uklanjanje jedinica za sečenje za vučne jedinice
-
Parkirajte mašinu na ravnoj površini sa podignutom jedinicom za sečenje.
-
Uklonite čivije za podešavanje visine košenja (Слика 19) sa bočnih ploča jedinice za sečenje.

-
Spustite jedinicu za sečenje, aktivirajte parkirnu kočnicu, isključite motor i uklonite ključ.
-
Uklonite zavrtnjeve i podloške koji pričvršćuju krake za podizanje za krake točkića.

-
Uklonite zavrtnje i navrtke sa PTO vratila (Слика 21) i svucite jaram sa menjača.
Note: Pogledajte Priručnik za operatera da biste pravilno poravnali vretena ako ih odvajate od komponenti pogonske osovine.

Servisiranje uvodnica na kracima točkića
Kraci točkića imaju uvodnice pritisnute uz gornji i donji deo cevi, a nakon mnogo sati rada, uvodnice se habaju.
Da bise proverili uvodnice, pomerite vile točkića napred-nazad sa jedne strane na drugu. Ako je vreteno točkića labavo unutar uvodnica, uvodnice su pohabane; zamenite ih.
-
Parkirajte mašinu na ravnoj površini, spustite jedinicu za sečenje, aktivirajte parkirnu kočnicu, isključite motor i uklonite ključ.
-
Uklanjanje zateznog poklopca, odstojnika i noseće podloške sa gornjeg dela vretena točkića.
-
Izvucite vreteno točkića iz montažne cevi. Omogućite nosećoj podloški i odstojnicima da ostanu na dnu vretena.
-
Umetnite klin u gornju ili donju montažnu cev i pogurajte uvodnicu iz cevi (Слика 22). Takođe, izgurajte druge uvodnice iz cevi. Očistite unutrašnjost cevi da biste uklonili zemlju.

-
Nanesite mazivo na unutrašnju i spoljašnju stranu prirubnice. Koristite čekić i ravnu ploču da biste ugurali uvodnicu u montažnu cev.
-
Proverite da li vreteno točkića pohabano i zamenite ga ako je oštećeno.
-
Gurnite vreteno točkića u uvodnicu i montažnu cev, navucite noseću podlošku i odstojnike na vreteno i montirajte zatezni poklopac na vreteno točkića.
Servisiranje točkića i ležajeva
| Интервал сервисног одржавања | Поступак одржавања |
|---|---|
| Након прва 2 сата |
|
| Након првих 10 сати |
|
| Сваких 50 сати |
|
-
Parkirajte mašinu na ravnoj površini, spustite jedinicu za sečenje, aktivirajte parkirnu kočnicu, isključite motor i uklonite ključ.
-
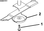
Uklonite sigurnosnu navrtku sa zavrtnja koji spaja sklop točkića između vila točkića (Слика 23). Uhvatite točkić i izvucite zavrtanj iz bila oli rukavca.
-
Uklonite ležaj iz glavčine točka i dozvolite odstojniku ležaja da ispadne (Слика 23). Uklonite ležaj sa suprotne strane glavčine točka.
-
Proverite da li su ležajevi, odstojnici i unutrašnjost glavčine točka pohabani. Zamenite bilo koje oštećene delove.
-
Da biste sklopili točkić, gurnite ležaj u glavčinu točka. Kada montirate ležajeve, primenite pritisak na spoljni prsten ležaja.

-
Umetnite ležaj u glavčinu točka. Gurnite drugi ležaj u otvoren kraj glavčine točka da biste zadržali odstojnik ležaja unutar glavčine točka.
-
Montirajte sklop točkića između vila točkića i pričvrstite ga pomoću zavrtnja i navrtke.
Servisiranje sečiva za košenje
Bezbednost sečiva
Istrošeno ili oštećeno sečivo može se slomiti, a deo sečiva bi mogao da odleti ka vama ili prolaznicima, što može dovesti do teške telesne povrede ili smrti.
-
Periodično proveravajte da li je sečivo istrošeno ili oštećeno.
-
Budite pažljivi prilikom provere sečiva. Sečiva umotajte ili nosite rukavice i budite pažljivi kada ih servisirate. Sečiva samo menjajte ili oštrite; nemojte ih nikada ispravljati ni variti.
-
Na mašinama sa više sečiva, vodite računa jer rotiranje jednog sečiva može dovesti do rotiranja ostalih.
Provera da li su sečiva iskrivljena
Nakon udaraca u predmete, pregledajte da li je mašina oštećena i popravite opremu pre početka rada. Zategnite sve navrtke remenice vretena momentom od 176 N∙m to 203 N∙m.
-
Parkirajte mašinu na ravnoj površini, podignite jedinice za sečenje do položaja za TRANSPORT aktivirajte parkirnu kočnicu, isključite motor i uklonite ključ.
-
Podignite jedinicu za sečenje da bude u položaju za SERVIS; pogledajte Priručnik za operatera vučne jedinice.
-
Okrenite sečivo da mu krajeve usmerite unapred i unazad i izmerite od unutrašnjost jedinice za sečenje do ivice oštrice prednjeg sečiva (Слика 24).
Note: Zapamtite tu dimenziju.

-
Okrenite suprotne krajeve sečiva napred i izmerite rastojanje između jedinice za sečenje i ivice oštrice sečiva na istom mestu kao i u koraku 3.
Note: Razlika između dimenzija izmerenih u koracima 3 i 4 ne sme da bude veća od 3 mm. Ako dimenzije premašuju 3 mm, sečivo je iskrivljeno i mora da se zameni; pogledajte Skidanje i montiranje sečiva jedinice za sečenje.
Skidanje i montiranje sečiva jedinice za sečenje
Zamenite sečivo ako udari u tvrd predmet ili je van ravnoteže ili iskrivljeno. Uvek koristite originalna zamenska sečiva kompanije Toro kako biste osigurali bezbednost i optimalan učinak.
-
Parkirajte mašinu na ravnoj površini, podignite jedinice za sečenje do položaja za TRANSPORT aktivirajte parkirnu kočnicu, isključite motor i uklonite ključ.
-
Podignite jedinicu za sečenje da bude u položaju za SERVIS; pogledajte Priručnik za operatera vučne jedinice.
-
Uhvatite kraj sečiva pomoću krpe ili debelo postavljene rukavice.
-
Skinite zavrtanj sečiva, prsten protiv struganja i sečivo sa osovine vretena (Слика 25).

-
Montirajte sečivo, prsten protiv struganja i zavrtanj sečiva i zategnite zavrtanj sečiva na 115 do 149 N∙m.
Important: Kako bi se obezbedilo pravilno košenje, zakrivljeni deo sečiva mora da bude upereno prema unutrašnjosti kosilice.
Note: Nakon udarca u strano telo, zategnite sve navrtke remenice vretena momentom od 115 do 149 N∙m.
Provera naoštrenosti jedinica za sečenje
Obe oštrice i jedro, koje je okrenuto na suprotnu stranu od oštrice, doprinose kvalitetnom košenju.
Održavajte sečiva oštrim tokom sesije košenja. Oštra sečiva kreiraju čist rez bez kidanja ili drobljenja vlasi trave.
Proverite sečiva da li su oštećena ili pohabana. Jedro podiže travu uspravnu i tako stvara ravniji otkos i postepeno se haba tokom rada.
-
Parkirajte mašinu na ravnoj površini, podignite jedinice za sečenje do položaja za TRANSPORT aktivirajte parkirnu kočnicu, isključite motor i uklonite ključ.
-
Podignite jedinicu za sečenje da bude u položaju za SERVIS; pogledajte Priručnik za operatera vučne jedinice.
-
Pažljivo pregledajte rezne krajeve sečiva, naročito tamo gde se sastaju njegov ravan i zakrivljeni deo (Слика 26).
Note: Zato što pesak i abrazivni materijali mogu da pohabaju metal koji povezuje ravne i zakrivljene delove sečiva, proverite sečiva pre korišćenja kosilice. Ako primetite habanje (Слика 26), zamenite oštricu.

-
Pregledajte oštrice svih sečiva i naoštrite ih ako su tupe ili iskrzane (Слика 27).
Note: Naoštrite samo gornju površinu oštrice i zadržite originalni ugao sečiva da biste obezbedili oštrinu (Слика 27). Sečiva ostaju izbalansirana ako se ista količina metala ukloni sa oba sečiva.

Note: Skinite sečiva i naoštrite ih na brusilici. Nakon oštrenja oštrica, montirajte sečivo sa prstenom protiv struganja i zavrtnjem sečiva; pogledajte Provera naoštrenosti jedinica za sečenje.
Proverite i popravite nepodudarna sečiva
Ako ima nepodudarnosti između sečiva, trava će se izgledati prošarano nakon košenja. Ovaj problem može da se reši obezbeđivanjem pravih i ravnih sečiva koja kose u istoj ravni.
-
Pomoću libele duge 1 m pronađite ravnu površinu na podu radionice.
-
Podignite visinu košenja u najviši položaj; pogledajte Podešavanje visine košenja.
-
Spustite jedinicu za sečenje na ravnu površinu. Uklonite poklopce sa gornjeg dela jedinica za sečenje.
-
Okrećite sečiva dok ne budu okrenuta ka napred i pozadi. Merite od podloge do prednjeg vrha oštrice. Zapamtite tu dimenziju. Okrećite isto sečivo tako da bu suprotni kraj bude okrenut unapred i izmerite ponovo. Razlika između izmerenih dimenzija ne sme da bude veća od 3 mm. Ako iznos premašuje 3 mm zamenite sečivo jer je iskrivljeno. Izmerite ostala sečiva.
-
Uporedite merenja spoljašnjih sečiva sa centralnim sečivom. Centralno sečivo mora da bude više od 10 mm niže od spoljašnjih sečiva. Ako je centralno sečivo više od 10 mm niže od spoljašnjih sečiva, pređite na korak 6 i odajte regulacione pločice između kućišta vretena i donje strane jedinice za sečenje.
-
Uklonite zavrtnjeve, ravne podloške, sigurnosne podloške i navrtke sa spoljnog vretena u oblasti gde su regulacione pločice moraju da se dodaju. Da biste podigli sečiva, dodajte podlošku (deo br. 3256-24) između kućišta vretena i donjeg dela jedinice za sečenje. Nastavite da proveravate poravnanje sečiva i dodajte regulacione pločice dok vrhovi sečiva ne budu traženih dimenzija.
Important: Nemojte koristiti više od 3 regulacione pločice na bilo kojoj lokaciji sa 1 rupom. Koristite smanjeni boj regulacionih pločica u susednim rupama ako se više od 1 regulacione pločice dodaje u bilo koji lokaciju sa 1 rupom.
-
Montirajte poklopce kaiša.
Zamena pogonskog kaiša
| Интервал сервисног одржавања | Поступак одржавања |
|---|---|
| Сваких 50 сати |
|
Pogonski kaiš sečiva, zategnut napregnutom ramenicom prenosnika, veoma je izdržljiv. Međutim, nakon mnogo sati upotrebe, kaiš pokazuje znake habanja. Znakovi pohabanog kaiša su škripanje dok se kaiš okreće, klizanje sečiva tokom košenja trave i izlizane ivice, tragove gornja i pukotine. Zamenite kaiš ako se javi bilo koje od ovih stanja.
-
Parkirajte mašinu na ravnoj površini, spustite jedinicu za sečenje, aktivirajte parkirnu kočnicu, isključite motor i uklonite ključ.
-
Uklonite poklopac kaiša sa gornjeg dela jedinice za sečenje i ostavite ga po strani.
-
Pomoću moment ključa ili sličnog alata, pomerite remenicu prenosnika (Слика 28) dalje od pogonskog kaiša da biste oslobodili tenziju sa kaiša i omogućili da se skine sa remenice menjača.

-
Uklonite stari kaiš sa remenica vretena i remenice prenosnika.
-
Pomoću moment ključa ili sličnog alata zadržite remenicu prenosnika, uvedite novi kaiš preko remenica vretena i sklopa remenice prenosnika kao što je prikazano na Слика 29.

-
Montirajte poklopce kaiša.
Čišćenje ispod jedinice za sečenje
| Интервал сервисног одржавања | Поступак одржавања |
|---|---|
| Пре сваке употребе или свакодневно |
|
Svakodnevno uklanjajte travu koja se nakupi ispod jedinice za sečenje.
-
Parkirajte mašinu na ravnoj površini, podignite jedinice za sečenje do položaja za TRANSPORT aktivirajte parkirnu kočnicu, isključite motor i uklonite ključ.
-
Podignite jedinicu za sečenje da bude u položaju za SERVIS; pogledajte Priručnik za operatera vučne jedinice.
-
Pažljivo vodom očistite donju stranu jedinice za sečenje.


, koje označava Pažnju,
Upozorenje ili Opasnost – uputstvo za ličnu bezbednost.
Nepoštovanje ovih uputstava može dovesti do telesne
povrede ili smrtnog ishoda.






















