Mantenimiento
Note: Los lados derecho e izquierdo de la máquina se determinan desde la posición normal del operador.
Calendario recomendado de mantenimiento
| Intervalo de mantenimiento y servicio | Procedimiento de mantenimiento |
|---|---|
| Después de las primeras 2 horas |
|
| Después de las primeras 10 horas |
|
| Después de las primeras 50 horas |
|
| Cada vez que se utilice o diariamente |
|
| Cada 50 horas |
|
| Cada 100 horas |
|
| Cada 400 horas |
|
Lista de comprobación – mantenimiento diario
Duplique esta página para su uso rutinario.
| Elemento a comprobar | Para la semana de: | ||||||
|---|---|---|---|---|---|---|---|
| Lun. | Mar. | Miér. | Jue. | Vie. | Sáb. | Dom. | |
| Compruebe la condición de las cuchillas | |||||||
| Lubricar todos los engrasadores 1 | |||||||
| Retoque cualquier pintura dañada | |||||||
|
1. Inmediatamente después de cada lavado, aunque no corresponda a uno de los intervalos citados. |
|||||||
| Anotación para áreas problemáticas: | ||
| Inspección realizada por: | ||
| Elemento | Fecha | Información |
Cuidado
Si deja la llave en el interruptor de encendido, alguien podría arrancar el motor accidentalmente y causar lesiones graves a usted o a otras personas.
Retire la llave de contacto antes de realizar cualquier operación de mantenimiento.
Engrasado de cojinetes y casquillos
| Intervalo de mantenimiento y servicio | Procedimiento de mantenimiento |
|---|---|
| Cada vez que se utilice o diariamente |
|
| Cada 50 horas |
|
La máquina tiene engrasadores que deben ser lubricados regularmente con grasa de litio Nº 2.
-
Aparque la máquina en una superficie nivelada, baje la unidad de corte, accione el freno de estacionamiento, apague el motor y retire la llave.
-
Lubrique las zonas siguientes:
Comprobación del lubricante de la caja de engranajes
| Intervalo de mantenimiento y servicio | Procedimiento de mantenimiento |
|---|---|
| Después de las primeras 50 horas |
|
| Cada 50 horas |
|
| Cada 400 horas |
|
La caja de engranajes está diseñada para funcionar con lubricante para engranajes de peso SAE 80-90. Aunque la caja de engranajes se entrega de fábrica llena de lubricante, compruebe el nivel antes de utilizar la unidad de corte. La capacidad de la caja de engranajes es de 283 ml.
-
Aparque la máquina en una superficie nivelada, baje la unidad de corte, accione el freno de estacionamiento, apague el motor y retire la llave.
-
Retire la varilla/ tapón de llenado de la parte superior de la caja de engranajes (Figura 17) y compruebe que el lubricante está entre las marcas de la varilla. Si el nivel de lubricante es bajo, añada suficiente lubricante para que el nivel quede entre las marcas.

-
Instale la varilla y apriétela a 9 N·m.
Comprobación del par de apriete de las fijaciones del árbol de la TDF a la caja de engranajes
| Intervalo de mantenimiento y servicio | Procedimiento de mantenimiento |
|---|---|
| Después de las primeras 10 horas |
|
| Cada 100 horas |
|
Compruebe el par de apriete de las fijaciones que sujetan el árbol de transmisión de la TDF a la caja de engranajes (Figura 18); consulte la sección de configuración en el Manual del operador de su máquina para obtener la especificación del par de apriete correspondiente.

Retirada de la unidad de corte de la unidad de tracción
-
Aparque la máquina en una superficie nivelada con la unidad de corte elevada.
-
Retire los pasadores de altura de corte (Figura 19) de las placas laterales de la unidad de corte.

-
Baje la unidad de corte, accione el freno de estacionamiento, apague el motor y retire la llave.
-
Retire los pernos y las arandelas que fijan los brazos de elevación a los brazos de las ruedas giratorias.

-
Retire los pernos y las tuercas del eje de la TDF (Figura 21) y deslice la horquilla para sacarla de la caja de engranajes.
Note: Consulte el Manual del operador para alinear correctamente las acanaladuras si separa los componentes del eje de transmisión.

Mantenimiento de los casquillos de las ruedas giratorias
Los brazos de las ruedas giratorias tienen casquillos colocados a presión en las partes superior e inferior del tubo, que se desgastan después de muchas horas de uso.
Para comprobar los casquillos, mueva la horquilla hacia delante y hacia atrás y de un lado a otro. Si el eje tiene holgura dentro de los casquillos, los casquillos están desgastados; cámbielos.
-
Aparque la máquina en una superficie nivelada, baje la unidad de corte, accione el freno de estacionamiento, apague el motor y retire la llave.
-
Retire el casquillo tensor, el/los suplemento (s) y la arandela de empuje de la parte superior del husillo de la rueda giratoria.
-
Retire el husillo del tubo de montaje. Deje la arandela de empuje y el/los suplemento(s) en la parte inferior del husillo.
-
Inserte un botador fino en la parte superior o inferior del tubo de montaje y dé golpes hasta retirar el casquillo del tubo (Figura 22). Retire también el otro casquillo del tubo. Limpie el interior de los tubos para eliminar toda suciedad.

-
Aplique grasa al interior y al exterior de los casquillos nuevos. Utilice un martillo y una chapa plana para introducir los casquillos nuevos en el tubo de montaje.
-
Inspeccione el husillo para ver si está desgastado, y cámbielo si está dañado.
-
Introduzca el eje de la rueda giratoria a través de los casquillos y del tubo de montaje, deslice la arandela de empuje y los espaciadores en el eje e instale el casquillo tensor en el eje.
Mantenimiento de las ruedas giratorias y los cojinetes
| Intervalo de mantenimiento y servicio | Procedimiento de mantenimiento |
|---|---|
| Después de las primeras 2 horas |
|
| Después de las primeras 10 horas |
|
| Cada 50 horas |
|
-
Aparque la máquina en una superficie nivelada, baje la unidad de corte, accione el freno de estacionamiento, apague el motor y retire la llave.
-
Retire la contratuerca del perno que sujeta el conjunto de la rueda giratoria en la horquilla (Figura 23). Sujete la rueda giratoria y retire el perno de la horquilla o del brazo de pivote.
-
Retire el cojinete de la rueda y deje que se caiga el suplemento del cojinete (Figura 23). Retire el cojinete del otro lado de la rueda.
-
Compruebe los cojinetes, el suplemento y el interior de la rueda por si estuvieran desgastados. Sustituya cualquier pieza dañada.
-
Para ensamblar la rueda giratoria, coloque el cojinete en el cubo de la rueda. Al instalar los cojinetes, empuje en el anillo de rodadura exterior de los mismos.

-
Deslice el suplemento del cojinete en el cubo de la rueda. Coloque el otro cojinete en la parte abierta del cubo de la rueda para fijar el suplemento dentro del cubo.
-
Instale el conjunto de la rueda giratoria entre la horquilla y fíjelo con el perno y la contratuerca.
Mantenimiento de las cuchillas de corte
Seguridad de las cuchillas
Una cuchilla desgastada o dañada puede romperse, y un trozo de la cuchilla podría ser arrojado hacia usted u otra persona, provocando lesiones personales graves o la muerte.
-
Inspeccione periódicamente las cuchillas, para asegurarse de que no están desgastadas ni dañadas.
-
Tenga cuidado al comprobar las cuchillas. Envuelva las cuchillas o lleve guantes, y extreme las precauciones al manejar las cuchillas. Las cuchillas únicamente pueden ser cambiadas o afiladas; no las enderece ni las suelde nunca.
-
En máquinas con múltiples cuchillas, tenga cuidado puesto que girar una cuchilla puede hacer que giren otras cuchillas.
Verificación de la rectilinealidad de las cuchillas
Después de golpear un objeto extraño, inspeccione la máquina y repare cualquier daño antes de arrancar y utilizar el equipo. Apriete las tuercas de las poleas de los ejes a entre 176 y 203 N·m.
-
Aparque la máquina en una superficie nivelada, eleve la unidad de corte a la posición de TRANSPORTE, accione el freno de estacionamiento, apague el motor y retire la llave.
-
Eleve la unidad de corte a la posición de SERVICIO; consulte el Manual del operador de la unidad de tracción.
-
Gire la cuchilla hasta que los extremos estén orientados hacia adelante y hacia atrás, y mida desde el interior de la unidad de corte al filo de corte en la parte delantera de la cuchilla (Figura 24).
Note: Anote esta dimensión.

-
Gire el otro extremo de la cuchilla hacia adelante, y mida entre la unidad de corte y el filo de corte de la cuchilla, en la misma posición que en el paso 3.
Note: La diferencia entre las dimensiones obtenidas en los pasos 3 y 4 no debe superar los 3 mm. Si esta dimensión es superior a 3 mm, la cuchilla está doblada y debe ser cambiada; consulte Retirada e instalación de las cuchillas de la unidad de corte.
Retirada e instalación de las cuchillas de la unidad de corte
Cambie la cuchilla si ha golpeado un objeto sólido, si está desequilibrada o si está doblada. Utilice siempre piezas de repuesto genuinas de Toro para garantizar la seguridad y un rendimiento óptimo.
-
Aparque la máquina en una superficie nivelada, eleve la unidad de corte a la posición de TRANSPORTE, accione el freno de estacionamiento, apague el motor y retire la llave.
-
Eleve la unidad de corte a la posición de SERVICIO; consulte el Manual del operador de la unidad de tracción.
-
Sujete el extremo de la cuchilla usando un paño o un guante grueso.
-
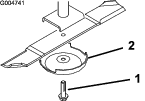
Retire del eje de la cuchilla el perno de la cuchilla, el protector de césped y la cuchilla (Figura 25).

-
Instale la cuchilla, el protector de césped y el perno de la cuchilla, y apriete el perno a 115–149 N·m.
Important: La parte curva de la cuchilla debe apuntar hacia el interior de la unidad de corte para asegurar un corte correcto.
Note: Después de golpear un objeto extraño, apriete todas las tuercas de las poleas de los ejes de las cuchillas a entre 115 y 149 N·m.
Inspección y afilado de la(s) cuchilla(s) de las unidades de corte
Tanto el filo de corte como la vela, la parte inclinada hacia arriba frente al filo de corte, contribuyen a una buena calidad de corte.
Mantenga las cuchillas afiladas durante la estación de corte. Con unas cuchillas afiladas se obtiene un corte limpio de la hierba sin rasgar o deshilachar las hojas.
Inspeccione las cuchillas en busca de desgaste o daños. La vela levanta y endereza la hoja de hierba para producir un corte uniforme, y con el uso se va desgastando.
-
Aparque la máquina en una superficie nivelada, eleve la unidad de corte a la posición de TRANSPORTE, accione el freno de estacionamiento, apague el motor y retire la llave.
-
Eleve la unidad de corte a la posición de SERVICIO; consulte el Manual del operador de la unidad de tracción.
-
Examine cuidadosamente los extremos de corte de la cuchilla, sobre todo en el punto de reunión entre la parte plana y la parte curva de la cuchilla (Figura 26).
Note: Puesto que la arena y cualquier material abrasivo pueden desgastar el metal que conecta las partes curva y plana de la cuchilla, compruebe la cuchilla antes de utilizar la segadora. Si se aprecia desgaste (Figura 26), cambie la cuchilla.

-
Inspeccione los filos de corte de todas las cuchillas, y afílelos si están romos o tienen mellas (Figura 27).
Note: Afile únicamente la parte superior del filo y mantenga el ángulo de corte original para asegurar un filo correcto (Figura 27). La cuchilla permanece equilibrada si se retira la misma cantidad de material de ambos filos de corte.

Note: Retire las cuchillas y afílelas con una muela. Después de afilar los filos de corte, instale la cuchilla con el protector de césped y el perno de la cuchilla; consulte Inspección y afilado de la(s) cuchilla(s) de las unidades de corte.
Comprobación y corrección de cuchillas descompensadas
Si hay desajustes entre las cuchillas, la hierba tendrá un aspecto rayado después de la siega. Este problema puede ser corregido asegurándose de que las cuchillas están rectas y que todas las cuchillas cortan en el mismo plano.
-
Usando un nivel de carpintero de 1 metro de largo, busque una superficie nivelada en el suelo del taller.
-
Eleve la altura de corte a la posición más alta; consulte Ajuste de la altura de corte.
-
Baje la unidad de corte sobre la superficie plana. Retire las cubiertas de la parte superior de la unidad de corte.
-
Gire las cuchillas hasta que los extremos estén orientados hacia adelante y hacia atrás. Mida desde el suelo hasta la punta delantera del filo de corte. Anote esta dimensión. Luego gire la misma cuchilla de manera que el otro extremo apunte hacia adelante, y mida de nuevo. La diferencia entre las dimensiones no debe superar los 3 mm. Si esta dimensión es de más de 3 mm, cambie la cuchilla porque está doblada. Mida todas las cuchillas.
-
Compare las medidas de las cuchillas exteriores con las de la cuchilla central. La cuchilla central no debe estar más de 10 mm más baja que las cuchillas exteriores. Si la cuchilla central está más de 10 mm más baja que las cuchillas exteriores, vaya al paso 6 y añada suplementos entre el alojamiento del eje y la parte inferior de la unidad de corte.
-
Retire los pernos, las arandelas planas, las arandelas de freno y las tuercas del eje exterior en la zona donde han de añadirse suplementos. Para elevar o bajar la cuchilla, añada un suplemento (Pieza Nº 3256-24) entre el alojamiento del eje y la parte inferior de la unidad de corte. Siga comprobando la alineación de las cuchillas y añada suplementos hasta que los extremos de las cuchillas den las dimensiones requeridas.
Important: No utilice más de tres suplementos en un solo taladro. Utilice un número decreciente de suplementos en taladros adyacentes si se añade más de un suplemento a un taladro determinado.
-
Instale las cubiertas de las correas.
Sustitución de la correa de transmisión
| Intervalo de mantenimiento y servicio | Procedimiento de mantenimiento |
|---|---|
| Cada 50 horas |
|
La correa de transmisión de las cuchillas, tensada por la polea tensora tensada con muelle, es muy resistente. No obstante, después de muchas horas de uso la correa mostrará señales de desgaste. Estas señales de desgaste son: chirridos cuando la correa está en movimiento, las cuchillas resbalan durante la siega, bordes deshilachados, quemaduras y grietas. Cambie la correa si observa cualquiera de estas condiciones.
-
Aparque la máquina en una superficie nivelada, baje la unidad de corte, accione el freno de estacionamiento, apague el motor y retire la llave.
-
Retire las cubiertas de las correas de la parte superior de la unidad de corte y apártelas.
-
Usando una llave dinamométrica u otra herramienta similar, aleje la polea tensora (Figura 28) de la correa de transmisión para aliviar la tensión de la correa y poder retirar la correa de la polea de la caja de engranajes.

-
Retire la correa gastada de las poleas libres y de la polea tensora.
-
Usando una llave dinamométrica u otra herramienta similar para sostener la polea tensora, dirija la nueva correa alrededor del conjunto de poleas de eje y poleas tensoras, tal y como se muestra en la Figura 29.

-
Instale las cubiertas de las correas.
Limpieza debajo de la unidad de corte
| Intervalo de mantenimiento y servicio | Procedimiento de mantenimiento |
|---|---|
| Cada vez que se utilice o diariamente |
|
Retire a diario cualquier acumulación de hierba debajo de la unidad de corte.
-
Aparque la máquina en una superficie nivelada, eleve la unidad de corte a la posición de TRANSPORTE, accione el freno de estacionamiento, apague el motor y retire la llave.
-
Eleve la unidad de corte a la posición de SERVICIO; consulte el Manual del operador de la unidad de tracción.
-
Limpie a fondo los bajos de la unidad de corte con agua.


, que significa: Cuidado, Advertencia o Peligro
– instrucción relativa a la seguridad personal. El incumplimiento
de estas instrucciones puede dar lugar a lesiones personales o la
muerte.






















