Note: この製品を取り付けるには、フォームマーカーキットが必要です。詳細については弊社代理店におたずねください。
バッテリーケーブルの接続ルートが不適切であるとケーブルがショートを起こして火花が発生する。それによって水素ガスが爆発を起こし人身事故に至る恐れがある。
ケーブルを取り外す時は、必ずマイナス(黒)ケーブルから取り外し、次にプラス(赤)ケーブルを外す。
ケーブルを取り付ける時は、必ずプラス(赤)ケーブルから取り付け、それからマイナス(黒)ケーブルを取り付ける。
バッテリーの端子に金属製品や車体の金属部分が触れるとショートを起こして火花が発生する。それによって水素ガスが爆発を起こし人身事故に至る恐れがある。
バッテリーの取り外しや取り付けを行うときには、端子と金属部を接触させないように注意する。
バッテリーの端子と金属を接触させない。
バッテリー押さえは必ず取り付ける。
この作業に必要なパーツ
| フォームマーカー(別売品) | 1 |
| サポートブラケット | 1 |
| ボルト(5/16 x 1") | 4 |
| フランジロックナット(5/16 インチ) | 4 |
| ワッシャ(3/8 インチ) | 4 |
Note: フォームマーカーは別売品です。
この作業に必要なパーツ
| フランジロックナット(5/16 インチ) | 4 |
| キャリッジボルト(5/16 x 1-1/4 インチ) | 4 |
| R クランプ | 1 |
| ボルト(3/8 インチ) | 1 |
| ナット(⅜") | 1 |
右後フェンダを前フェンダブラケットに固定しているキャリッジボルト(2本)とフランジロックナット(2個)を取り外す(図 4)。

泥はねガードを後フェンダマウントと右後フェンダに固定しているキャリッジボルト(2本)とフランジロックナット(2個)を取り外す(図 5)。
Note: 取り外したボルト・ナットは廃棄する。

サポートブラケットの前脚についている穴を、フェンダブラケットの穴とフェンダの穴に合わせる(図 6)。

サポートブラケットをフェンダブラケットとフェンダに固定する; キャリッジボルト(5/16 x 1/4 インチ) 2本とフランジロックナット(5/16 インチ) 2個で 図 6のように固定する。
サポートブラケットの後脚についている穴を、泥はねガードの穴、フェンダブラケットの穴、フェンダの穴に合わせる(図 6)。
サポートブラケットを泥はねガード、フェンダブラケット、フェンダに固定する; キャリッジボルト(5/16 x 1/4 インチ) 2本とフランジロックナット(5/16 インチ) 2個で 図 6のように固定する。
すすぎキットを搭載している車両では、図 7のように、すすぎキットのホースをRクランプで固定する。

この作業に必要なパーツ
| ワイヤハーネス | 1 |
| ケーブルタイ | 6 |
仕上げキットのハーネスを車両前方へ導く;ROPSの間を通し、液剤タンクの下の角部から、車両用のワイヤハーネスに沿って、エアクリーナの下を通してエンジンへ導く (図 10 と 図 11)。


エンジンルーム用の 197cm の枝 (リング端子、ソケット端子、5ソケットコネクタがついている) を、ラジエターの右側に沿って上方へ導き、ラジエター上部に沿って中央コンソールのベース部の下まで導く (図 11)。
エンジンルーム用の 197cm の枝 (リング端子、ソケット端子、5ソケットコネクタがついている) を、ラジエターの右側に沿って上方へ導き、ラジエター上部に沿って中央コンソールのベース部の下まで導く (図 12)。

ケーブルタイを使って、仕上げキット用ワイヤハーネスを車両用ワイヤハーネスに 図 12 のように固定する。
ダッシュパネル用の 240cm の枝線 を、車両のワイヤハーネスとステアリングホース(ラジエターの下側)に沿って導く;ラジエターサポートの下にあるRクランプを通し、走行速度制御コイルの所にあるRクランプを通す (図 13 と 図 14)。


ダッシュパネル用の 240cm の枝線 を、走行速度制御コイルの所にあるRクランプに固定する (図 13 と 図 14)。
ダッシュパネル用の 240cm の枝線を、前方バルクヘッドの開口部にあるハトメを通して車両のケーブル&ホース用フックの内側まで導く (図 15)。

ダッシュパネル用の 240cm の枝線の8口コネクタを、ダッシュパネルを横断させてステアリングコラムの左側まで導く(図 16)。

ケーブル&ホース用フックの近くで、ダッシュパネル用の 240cm の枝線を、車両用ワイヤハーネスにケーブルタイで縛りつける(図 17)。

この作業に必要なパーツ
| リレー | 1 |
| フランジヘッドボルト(#10-24 x 1/2 インチ) | 1 |
| ヒューズ (15 A) | 1 |
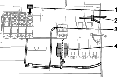
ワイヤハーネスの 236cm の枝線の端部についている4ソケットコネクタ(仕上げキット)を、コンプレッサから来ているハーネスの4ピンコネクタに接続する。

4ソケットコネクタに4ピンコネクタを接続する。
Note: コネクタどうしが相互ロックするまで完全に押し込むこと。
Note: 車両用のヒューズブロックにブレード形コネクタが付いていない場合には、補助ヒューズブロックを取り付ける必要があります。
車両用のヒューズブロックにブレード形コネクタが付いている車両の場合には、仕上げキット用ハーネスについているブレード形コネクタを車両のヒューズブロックのソケットに接続する(図 21)。

コネクタどうしが相互ロックするまで完全に押し込むこと。
この作業に必要なパーツ
| フランジヘッドボルト (6 x 12 mm) | 2 |
| 取り付けブラケット(泡制御スイッチ) | 1 |
| 3ポジション・パドルスイッチ(泡制御スイッチ) | 1 |
| 2ポジション・ロッカースイッチ(コンプレッサ ON/OFFスイッチ) | 1 |
ブラケットをステアリングコラムに組み付ける; フランジヘッドボルト(6 x 12mm)2本を使用し、972 - 1198 N·cm (1.0 - 1.2 kg.m = 86 - 106 in-lb) にトルク締めする。

ブラケットにスイッチを組み込む。ブラケットの開口部にスイッチがパチンとはまるまで完全に押し込むこと。

Note: 3ポジション・パドルスイッチ (泡制御 スイッチ) のパドルが外側を向くように取り付けてください。
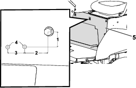
この作業に必要なパーツ
| バルブマウント | 1 |
| 六角スロットねじ(1/4-20 x 1/2 インチ) | 2 |
| フランジヘッドねじ(¼-20 x 5/8 インチ) | 2 |
| フランジナット(¼") | 2 |
コンプレッサ ON/OFF スイッチ:これでフォームマーカーのコンプレッサを作動させるスイッチです。
フォーム(泡)コントロール スイッチ:ブームの左右どちらから泡を落とすかを選択するスイッチです。
パドルを 下げる と左ブームから泡を落とします。
パドルを 中央位置 にすると左右両方のブームから泡を落とします。
パドルを 上げる と右ブームから泡を落とします。
インジケータマーク: タンクの側面にあり、タンク内部の溶液の量を示します。
泡密度調節 バルブ: 泡生成液の濃度を調節します。バルブを操作することにより、ノズルに送り出される石鹸液の量を調整することができます。量を多くすると泡が大きくなり、同じ時間内により多くの泡が落ちるようになります;量を少なくすると泡が小さくなり、落ちる泡の数も少なくなります(図 32)。
Note: 風が強い日には、水分の多い泡にすると飛ばされにくくて便利です。
圧力解放 バルブ:タンクのキャップについている赤いタブを外側に引っ張るとタンク内の圧力が解放されます(図 32)。
Note: コンプレッサが作動している間は、圧力解放バルブが常に開閉動作を繰り返してタンク内の圧力を調整しています。圧力解放バルブの周囲に泡が出てくるのは正常です。圧力解放バルブが常に適切に作動するように、バルブを定期的に洗浄してください。
