Note: Voor de montage van dit product is de schuimmarkeerderset vereist. Neem voor verdere informatie contact op met een erkende Toro-dealer.
Als accukabels verkeerd worden geleid, kan dit schade aan de spuitmachine en de kabels tot gevolg hebben en vonken veroorzaken. Hierdoor kunnen accugassen tot ontploffing komen, waardoor lichamelijk letsel kan ontstaan.
Maak altijd de minkabel (zwart) van de accu los voordat u de pluskabel (rood) losmaakt.
Sluit altijd eerst de pluskabel (rood) van de accu aan voordat u de minkabel (zwart) aansluit.
Accupolen of metalen gereedschappen kunnen kortsluiting maken met metalen onderdelen van de machine, waardoor vonken kunnen ontstaan. Hierdoor kunnen accugassen tot ontploffing komen en lichamelijk letsel veroorzaken.
Zorg ervoor dat bij het verwijderen of installeren van de accu de accupolen niet in aanraking komen met metalen onderdelen van de machine.
Voorkom dat metalen gereedschappen kortsluiting veroorzaken tussen de accupolen en metalen onderdelen van de machine.
Zorg ervoor dat de accuhouder altijd op zijn plaats zit om de accu te beschermen en vast te zetten.
Parkeer de machine op een horizontaal oppervlak.
Stel de parkeerrem in werking.
Zet de motor af en haal het sleuteltje uit het contact.
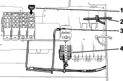
Verwijder het accudeksel en maak de negatieve (zwarte) aardingskabel los van de accupool (Figuur 1 en Figuur 2).


Maak de pluskabel (rood) los van de accupool (Figuur 2).
Kantel beide stoelen naar voren en bevestig ze met de steunstangen in de pallen aan het einde van de sleuven in de voet van het middelste bedieningspaneel.
Benodigde onderdelen voor deze stap:
| Schuimmarkeerder (afzonderlijk verkrijgbaar) | 1 |
| Bevestigingsbeugel | 1 |
| Bout (5/16" x 1") | 4 |
| Flensborgmoer (5/16") | 4 |
| Ring (⅜") | 4 |
Note: De schuimmarkeerder is afzonderlijk verkrijgbaar.
Plaats de tank van de schuimmarkeerder en de compressor op de montagebeugel zoals wordt afgebeeld op Figuur 3.

Bevestig de compressor aan de beugel (Figuur 3). Gebruik hiervoor de 4 bouten (5/16" x 1"), 4 ringen (⅜") en 4 flensborgmoeren (5/16").
Monteer de tank van de schuimmarkeerder op de compressor van de schuimmarkeerder; raadpleeg de Montage-instructies voor de schuimmarkeerderset.
Benodigde onderdelen voor deze stap:
| Flensborgmoer (5/16") | 4 |
| Slotbout (5/16" x 1¼") | 4 |
| R-klem | 1 |
| Bout (⅜") | 1 |
| Moer (⅜") | 1 |
Verwijder de 2 slotbouten en 2 flensborgmoeren waarmee het spatscherm rechts achteraan is bevestigd aan de voorste beugel van het spatscherm (Figuur 4).

Verwijder de 2 slotbouten en 2 flensborgmoeren waarmee de spatbeschermer is bevestigd aan de achterste spatschermbevestiging en het spatscherm rechts achteraan (Figuur 5).
Note: Gooi de oude slotbouten en moeren weg.

Lijn de gaten in het voorste deel van de steunbeugel uit met de gaten in de spatschermbeugel en het spatscherm (Figuur 6).

Bevestig de steunbeugel aan de spatschermbeugel en het spatscherm; gebruik hierbij 2 slotbouten (5/16" x 1¼") en 2 flensborgmoeren (5/16") zoals in Figuur 6.
Lijn de gaten in het achterste deel van de steunbeugel uit met de gaten in de spatbeschermer, de spatschermbeugel en het spatscherm (Figuur 6).
Bevestig de steunbeugel aan de spatbeschermer, de spatschermbeugel en het spatscherm; gebruik hierbij 2 slotbouten (5/16" x 1¼") en 2 flensborgmoeren (5/16") zoals in Figuur 6.
Als er een spoelset op de machine is gemonteerd, bevestig dan de slang van de spoelset met de R-klem (zie Figuur 7).

Benodigde onderdelen voor deze stap:
| Kabelboom | 1 |
| Tie-wrap | 6 |

Zoek de kabelboomaftakking van 236 cm met een 4-contactstekker voor de compressor. Leid de kabelboomaftakking naar achteren langs de spuittank, zoals in Figuur 8 en Figuur 9.

Leid de 4-contactstekker van de kabelboom naar de aansluiting met 4 pinnen van de compressor; sluit de stekkers op elkaar aan.
Leid de kabelboom voor de egalisatieset naar voren tussen de rolbeugelstang en de onderste hoek van de spuittank, langs de kabelboom van de machine, en onder het luchtfilter van de motor (Figuur 10 en Figuur 11).


Leid de kabelboomaftakking van 197 cm voor het motorcompartiment (met de ringconnector, stekkeraansluiting en 5-contactstekker) naar boven langs de rechterkant van de radiateur, dwars over de radiateur en onder de voet van het middelste bedieningspaneel (Figuur 11).
Leid de kabelboomaftakking van 197 cm voor het motorcompartiment naar beneden langs de linkerzijde van de radiateur, dwars onder het elektrische paneel (Figuur 12).

Bevestig de kabelboom voor de egalisatieset aan de kabelboom voor de machine. Gebruik 2 kabelbinders zoals wordt getoond in Figuur 12.
Leid de kabelboomaftakking van 240 cm voor het dashboard langs de kabelboom en de stuurslangen van de machine (onder de radiateur), door de R-klem onderaan de radiateursteun en door de R-klem bij de rijsnelheidsspoel (Figuur 13 en Figuur 14).


Leid de kabelboomaftakking van 240 cm voor het dashboard naar de R-klem aan de rijsnelheidsspoel (Figuur 13 en Figuur 14).
Leid de kabelboomaftakking van 240 cm voor het dashboard door de pakkingring aan de opening in het voorste schot en aan de binnenzijde van de haak voor de kabel en de slang (Figuur 15).

Leid de 8-contactstekker aan het uiteinde van de aftakking van 240 cm voor het dashboard dwars over het dashboard en naar de linkerkant van de stuurkolom (Figuur 16).

Bevestig naast de haak voor kabel en slang de dashboardaftakking van 240 cm aan de machinekabelboom; gebruik een kabelbinder (Figuur 17).

Benodigde onderdelen voor deze stap:
| Relais | 1 |
| Flenskopbout (nr. 10-24 x ½") | 1 |
| Zekering (15 A) | 1 |
Aan het uiteinde van de kabelboomaftakking van 236 cm lijnt u de busconnector met 4 contacten van de kabelboom voor de egalisatieset uit met de stekker met 4 pinnen van de kabelboom van de compressor.

Steek de aansluiting met 4 pinnen in de 4-contactstekker.
Note: Druk de stekkers samen tot de sluiting vastklikt.
Lijn aan de kabelboomaftakking van 197 cm voor het motorcompartiment het relais uit met de 5-contactstekker van de kabelboom voor de egalisatieset (Figuur 19).

Steek de pinnen van het relais in de contactpunten van de stekker (Figuur 19).
Note: Druk het relais en de stekker samen tot de sluiting vastklikt.
Lijn het gat in de montagelip van het relais uit met het gat in het bedradingspaneel (Figuur 19).
Bevestig het relais aan het paneel (Figuur 19) met de flenskopbout (nr. 10-24 x ½").
Verwijder een schroef uit het aardaansluitingenblok (Figuur 19).
Bevestig de ringconnector van de kabelboom voor de egalisatieset aan het aardaansluitingenblok; gebruik hierbij de schroef.
Plaats de zekering
Voor een machine met een contact voor een platte aansluiting in de zekeringhouder van de machine dient u de zekering van in de zekeringhouder te steken (Figuur 19).
Note: Zorg ervoor dat de zekering volledig in de zekeringhouder zit
Voor een machine met een contact voor een platte aansluiting in de optionele, bijkomende zekeringhouder doet u het volgende:
Zoek het zekeringcontact dat op één lijn ligt met de kabel van de platte aansluiting.
Breng de zekering aan in het contact dat zich in de bijkomende zekeringhouder bevindt (Figuur 20).
Note: Zorg ervoor dat de zekering volledig in de zekeringhouder zit

Note: Als er in de zekeringhouder van de machine geen vrij contact voor een platte aansluiting is, moet een bijkomende zekeringhouder gemonteerd worden.
Voor een machine met een contact voor een platte aansluiting in de zekeringhouder van de machine, dient u de platte aansluiting van de kabelboom voor de completeringsset aan te sluiten op de contrastekker van de zekeringhouder voor de machine (Figuur 21).

Druk de stekkers samen tot de sluiting vastklikt.
Sluit de platte connector van de kabelboom voor de completeringsset aan op de contrastekker van de bijkomende zekeringhouder (Figuur 22).
Note: Druk de stekkers samen tot de sluiting vastklikt.

Sluit de stekker met 2 pinnen voor de bijkomende voedingskabels van de zekeringhouder voor de machine aan op de 2-contactstekker voor de voedingskabels van de bijkomende zekeringhouder (Figuur 23).
Note: Druk de stekkers samen tot de sluiting vastklikt.

Lijn de sleuven in de bijkomende zekeringhouder uit met de montageflenzen van de zekeringhouder van de machine (Figuur 23).
Bevestig de zekeringhouders aan elkaar.
Benodigde onderdelen voor deze stap:
| Flenskopbouten (6 x 12 mm) | 2 |
| Montagebeugel (schakelaar schuimbediening) | 1 |
| Peddelschakelaar met 3 standen (schakelaar schuimbediening) | 1 |
| Tuimelschakelaar met 2 standen (aan/uit-schakelaar compressor) | 1 |
Bevestig de beugel aan de kolom met de 2 flenskopbouten (6 x 12 mm) en draai de bouten aan met een torsie van 972 tot 1198 N·cm.

Monteer de schakelaar in de beugel en druk de schakelaar erin tot deze op zijn plaats klikt.

Note: Zorg dat de peddel van de peddelschakelaar met 3 standen (schakelaar schuimbediening) naar buiten is gericht.
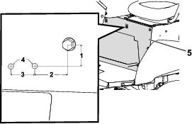
Verwijder de plug in het dashboard van de machine (Figuur 26).

Lijn de connector met 8 contacten uit met de opening in het dashboard en verbind de aansluiting met de pinnen aan de achterzijde van de tuimelschakelaar met 2 standen (aan/uit-schakelaar compressor).
Monteer de schakelaar in het dashboard en druk de schakelaar erin tot deze op zijn plaats klikt (Figuur 26).
Benodigde onderdelen voor deze stap:
| Klepbevestiging | 1 |
| Zeskantschroef met sleufkop (¼–20 x 1½") | 2 |
| Flenskopschroef (¼–20 x 5/8") | 2 |
| Flensmoer (¼") | 2 |
Verwijder de kabelboombasis van het bedieningspaneel; hierbij moet u de bouten van de kabelboombasis losdraaien en verwijderen (Figuur 29).
Note: Bewaar de bouten.

Gebruik 2 flenskopschroeven (¼–20 x 5/8") en 2 flensmoeren (¼") om de klepbevestiging aan de kabelboombasis te bevestigen (Figuur 30).

Gebruik de bouten die u eerder hebt verwijderd om de kabelboombasis aan het bedieningspaneel te bevestigen (Figuur 31).

Leg de steunstang van de stoelen in de gleuven en kantel de stoelen naar beneden.
Sluit de pluskabel (rood) aan op de pluspool (+) van de accu en de minkabel (zwart) op de minpool (–) van de accu met behulp van de bouten en de moeren. Schuif het isolatorkapje over beide accupolen (Figuur 2).
Plaats het accudeksel en bevestig het met de band (Figuur 1) die u verwijderd hebt in De machine klaarmaken.
AAN/UIT-SCHAKELAAR COMPRESSOR – Gebruik deze schakelaar om de compressor van de schuimmarkeerder in te schakelen.
Schakelaar SCHUIMBEDIENING – Deze schakelaar dient om te regelen uit welke spuitboom schuim stroomt.
Zet de peddel naar beneden om schuim uit de linkerspuitboom te laten komen.
Zet de peddel naar de middelste stand om schuim uit de linker- en rechterspuitboom te laten komen.
Zet de peddel naar boven om schuim uit de rechterspuitboom te laten komen.
Indicatiemarkeringen – Deze markeringen bevinden zich aan de zijkant van de tank en geven het peil van de oplossing in de tank aan.
Schuimregelklep – Deze klep bepaalt de dikte van de schuimoplossing. Door aan de knop te draaien regelt u de hoeveelheid zeepoplossing naar de schuimspuitmonden. Meer stroom zorgt voor grotere en meer frequente schuimdruppels en minder stroom zorgt voor kleinere, minder frequente schuimdruppels (Figuur 32).
Note: Bij veel wind is een waterige markeeroplossing misschien beter.
Overdrukklep – Trek de rode lip van de tankdop naar buiten om de druk in de tank weg te nemen (Figuur 32).
Note: Wanneer de compressor ingeschakeld is, gaat de overdrukklep voortdurend open en dicht om de juiste tankdruk te behouden; het is normaal als er schuimoplossing en bubbels rond de overdrukklep te zien zijn. Reinig de overdrukklep regelmatig zodat deze naar behoren blijft werken.
