Đỗ máy trên bề mặt bằng phẳng.
Gài phanh tay.
Tắt động cơ và rút chìa khóa.
Ngắt kết nối ắc quy; tham khảo Hướng dẫn Vận hành.
Nâng thùng hàng lớn lên vị trí đổ và cố định bằng thanh chống đỡ.
Các bộ phận cần thiết cho quy trình này:
| Ống gắn phía trước | 2 |
| Bu lông đầu mặt bích (5/16 x 3 inch) | 2 |
| Vòng chêm (⅝ x 1 inch) | 2 |
| Đai ốc mặt bích (5/16 inch) | 4 |
| Bu-lông đầu dù cổ vuông (5/16 x 2 inch) | 2 |
Lắp lỏng 2 ống gắn phía trước bằng 2 bu lông đầu mặt bích (5/16 x 3 inch), 2 vòng chêm (⅝ x 1 inch), 4 đai ốc mặt bích (5/16 inch) và 2 bu lông đầu dù cổ vuông (5/16 x 2 inch) như được minh họa trong Hình 3.

Important: Trước khi thực hiện quy trình này, hãy kiểm tra máy của bạn để biết các lỗ lắp đặt đã có chưa. Nếu không, tiếp tục với quy trình này.
Note: Giữ lại tất cả phần cứng mà bạn tháo trong quy trình này.
Tháo bu lông đầu mặt bích đang siết chặt bình nhiên liệu vào khay của bình (Hình 4).

Tháo các vít đang siết chặt chốt giữ xuống (Hình 4).
Ngắt kết nối ống thông hơi và đường dẫn nhiên liệu khỏi bình (Hình 4).
Note: Chuẩn bị hứng và làm sạch bất kỳ nhiên liệu nào tràn ra khi bạn ngắt kết nối đường dẫn nhiên liệu ra khỏi bình.
Trong những điều kiện nhất định, nhiên liệu rất dễ cháy và rất dễ nổ. Cháy hoặc nổ do nhiên liệu có thể gây bỏng cho bạn và những người khác và có thể gây thiệt hại về tài sản.
Xả nhiên liệu ra khỏi bình nhiên liệu khi động cơ nguội. Thực hiện thao tác này ngoài trời và trong khu vực thoáng đãng. Lau sạch nếu bị tràn nhiên liệu.
Tuyệt đối không hút thuốc khi xử lý nhiên liệu, và tránh xa ngọn lửa trần hoặc nơi có tia lửa có thể bắt cháy với hơi nhiên liệu.
Tháo bình nhiên liệu ra khỏi khay.
Tháo 2 bu lông đầu mặt bích đang siết chặt khay của bình vào khung (Hình 5).

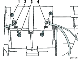
Tháo 4 vít đang siết chặt bảng điều khiển bên trái vào cụm ghế dưới (Hình 6).

Tháo cáp âm (–) ra khỏi ắc quy rồi tháo cáp dương (+) (Hình 7).

Tháo 2 bu lông đầu mặt bích đáng siết chặt khay của ắc quy vào khung (Hình 8).

Tháo 4 vít đang siết chặt bảng điều khiển bên phải vào cụm ghế dưới (Hình 8).
Important: Trước khi thực hiện quy trình này, hãy kiểm tra máy của bạn để biết các lỗ lắp đặt đã có chưa. Nếu không, tiếp tục với quy trình này.
Note: Giữ lại tất cả phần cứng mà bạn tháo trong quy trình này.
Khoan giá đỡ bằng các phép đo được minh họa trong Hình 11.
Khi bạn khoan lỗ trên cao nhất, hãy đảm bảo khoan xuyên qua hết giá đỡ bên ngoài, ống khung và tường ngăn lửa.
Thận trọng khi khoan các lỗ vào bên phải của khung trên máy chạy điện.
Nếu bạn khoan quá sâu, bạn có thể làm hỏng ắc quy hoặc các bộ phận khác.

Siết chặt bảng điều khiển bên phải bằng 4 vít đã tháo ra trước đó (Hình 8).
Siết chặt khay của ắc quy vào khung bằng 2 bu lông đầu mặt bích đã tháo ra trước đó (Hình 8).
Siết chặt các cáp ắc quy bằng 2 bu lông và 2 đai ốc đã tháo ra trước đó và kết nối các cực của ắc quy (Hình 7).
Siết chặt bảng điều khiển bên trái bằng 4 vít đã tháo ra trước đó (Hình 6).
Siết chặt khay của bình vào khung bằng 2 bu lông đầu mặt bích đã tháo ra trước đó (Hình 5).
Đặt bình nhiên liệu vào khay của bình.
Kết nối đường dẫn nhiên liệu và ống thông hơi với bình nhiên liệu (Hình 4).
Siết chặt chốt giữ xuống bằng các vít đã tháo ra trước đó (Hình 4).
Siết chặt bình nhiên liệu vào khay của bình bằng bu-lông đầu mặt bích đã tháo ra trước đó (Hình 4).
Đổ đầy bình nhiên liệu; tham khảo Hướng dẫn Vận hành.
Các bộ phận cần thiết cho quy trình này:
| Ống gắn phía sau | 2 |
| Giá đỡ gắn ống | 1 |
| Bu lông đầu mặt bích (5/16 x 3 inch) | 2 |
| Đai ốc mặt bích (5/16 inch) | 2 |
| Bu lông đầu mặt bích (⅜ x 1¾ inch) | 2 |
| Bu lông đầu mặt bích (⅜ x 3½ inch) | 2 |
| Êcu hãm (⅜ inch) | 4 |
| Phớt ốp | 1 |
Lắp lỏng 2 ống gắn phía sau bằng 2 bu lông đầu mặt bích (⅜ x 3½ inch), 2 bu lông đầu mặt bích (⅜ x 1¾ inch) và 4 êcu hãm (⅜ inch) như được minh họa trong Hình 12.

Siết chặt giá đỡ gắn ống vào các ống gắn phía sau bằng 2 bu lông đầu mặt bích (5/16 x 3 inch) và 2 đai ốc mặt bích (5/16 inch) như được minh họa trong Hình 13.
Lắp phớt ốp vào giá đỡ gắn ống (Hình 13).

Siết chặt các chốt hãm đã lắp ở bước 1.
Tạo mô-men xoắn cho các chốt hãm 5/16 inch từ 20 đến 25 N∙m.
Xoay mô-men xoắn của chốt hãm ⅜ inch từ 37 đến 45 N∙m.
Các bộ phận cần thiết cho quy trình này:
| Giá đỡ tán che dài | 2 |
| Bu lông đầu vòng đệm lục giác (5/16 x ¾ inch) | 8 |
| Phớt ốp | 2 |
Các bộ phận cần thiết cho quy trình này:
| Tán che | 1 |
| Bu lông đầu mặt bích (¼ x 1¾ inch) | 4 |
| Vòng đệm bít kín | 4 |
| Êcu hãm (1/4 inch) | 4 |
Important: Nếu bạn đang lắp bộ gương, hãy lắp nó trước khi lắp tán che.
Siết chặt tán che vào các ống gắn phía trước và phía sau bằng 4 bu lông đầu mặt bích (¼ x 1¾ inch), 4 vòng đệm bít kín và 4 êcu hãm (¼ inch) như được minh họa trong Hình 15.

Các bộ phận cần thiết cho quy trình này:
| Giá đỡ tán che | 1 |
| Bu lông đầu mặt bích (¼ x 2¼ inch) | 2 |
| Êcu hãm (1/4 inch) | 2 |
| Vòng đệm bít kín | 2 |
| Phớt ốp | 1 |
| Vòng chêm(¼ inch) | 2 |
Các bộ phận cần thiết cho quy trình này:
| Ống đỡ tán che | 1 |
| Êcu hãm (1/4 inch) | 6 |
| Vòng đệm bít kín | 2 |
| Bu lông đầu mặt bích (¼ x 1½ inch) | 2 |
| Đệm xốp | 1 |
| Bu lông đầu mặt bích (¼ x 1¼ inch) | 4 |
Lắp đệm xốp vào ống đỡ tán che (Hình 18).

Siết chặt ống đỡ tán che vào các giá đỡ tán che dài bằng 4 bu lông đầu mặt bích (¼ x 1¼ inch) và 4 êcu hãm (¼ inch) như được minh họa trong Hình 19.

Sử dụng ống đỡ tán che làm mẫu, khoan 2 lỗ (6 mm) vào tán che.
Siết chặt ống đỡ tán che vào tán che bằng 2 bu lông đầu mặt bích (¼ x 1½ inch), 2 vòng đệm bít kín và 2 êcu hãm (¼ inch) như được minh họa trong Hình 20.
