Park the machine on a level surface.
Shift the transmission lever to the P (Park) position.
Shut off the engine and remove the key.
Wait for all movement to stop.
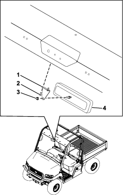
Parts needed for this procedure:
| Mirror | 1 |
| Mirror bracket | 1 |
| Bolt | 2 |
| Locknut | 1 |
Use 2 bolts to secure the mirror bracket to the front crosslink.
Torque the bolts to 3 N∙m (30 in-lb).
Use a locknut to secure the mirror to the mirror bracket. Hold the mirror jam nut with a wrench while tightening the locknut to keep mirror pivot tension correct.
Torque the locknut to 26 N∙m (228 in-lb).

Parts needed for this procedure:
| Mirror | 1 |
| Mirror bracket | 1 |
| Bolt | 2 |
| Locknut | 1 |
Use 2 bolts to secure the mirror bracket to the front crosslink.
Torque the bolts to 3 N∙m (30 in-lb).
Use a locknut to secure the mirror to the mirror bracket. Hold the mirror jam nut with a wrench while tightening the locknut to keep mirror pivot tension correct.
Torque the locknut to 26 N∙m (228 in-lb).
