Parkera maskinen på en plan yta.
Flytta transmissionsspaken till läget P (parkering).
Stäng av motorn och ta ut nyckeln.
Vänta tills alla rörliga delar har stannat.
Delar som behövs till detta steg:
| Spegel | 1 |
| Spegelfäste | 1 |
| Skruv | 2 |
| Låsmutter | 1 |
Fäst spegelfästet på den främre tvärbindningen med två bultar.
Dra åt skruvarna till ett moment på 3 Nm.
Fäst spegeln på spegelfästet med en låsmutter. Håll spegelns kontramutter med en skiftnyckel när du drar åt låsmuttern för att se till att spegeln har rätt vridspänning.
Dra åt låsmuttern till 26 N·m.

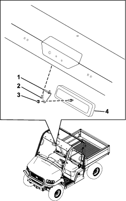
Delar som behövs till detta steg:
| Spegel | 1 |
| Spegelfäste | 1 |
| Skruv | 2 |
| Låsmutter | 1 |
Fäst spegelfästet på den främre tvärbindningen med två bultar.
Dra åt skruvarna till ett moment på 3 Nm.
Fäst spegeln på spegelfästet med en låsmutter. Håll spegelns kontramutter med en skiftnyckel när du drar åt låsmuttern för att se till att spegeln har rätt vridspänning.
Dra åt låsmuttern till 26 N·m.
