平らな場所に駐車する。
トランスミッションレバーを P (駐車) 位置にシフトする。
エンジンを止め、キーを抜き取る。
全ての動きが停止するのを待つ。
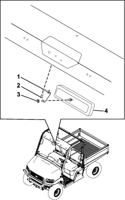
この作業に必要なパーツ
| ミラー | 1 |
| ミラーブラケット | 1 |
| ボルト | 2 |
| ロックナット | 1 |
ボルト 2 本を使用してミラーブラケットを前クロスリンクに取り付ける。
ボルトを 26 3 N∙m(2.65 kg.m = 30 in-lb)にトルク締めする。
ロックナット 2 個を使用してミラーブラケットにミラーを取り付ける。ミラーのピボットのテンションが変わってしまわないように、ミラーのジャムナットをレンチで押さえながらロックナットを締めつける。
ロックナットを 26 N·m(2.63 kg.m = 228 in-lb)にトルク締めする。

この作業に必要なパーツ
| ミラー | 1 |
| ミラーブラケット | 1 |
| ボルト | 2 |
| ロックナット | 1 |
ボルト 2 本を使用してミラーブラケットを前クロスリンクに取り付ける。
ボルトを 26 3 N∙m(2.65 kg.m = 30 in-lb)にトルク締めする。
ロックナット 2 個を使用してミラーブラケットにミラーを取り付ける。ミラーのピボットのテンションが変わってしまわないように、ミラーのジャムナットをレンチで押さえながらロックナットを締めつける。
ロックナットを 26 N·m(2.63 kg.m = 228 in-lb)にトルク締めする。
