Parcheggiate la macchina su terreno pianeggiante.
Spostate la leva della trasmissione in posizione P (Parcheggio).
Spegnete il motore e togliete la chiave.
Attendete che tutte le parti in movimento si arrestino.
Parti necessarie per questa operazione:
| Specchietto | 1 |
| Staffa dello specchietto | 1 |
| Bullone | 2 |
| Dado di bloccaggio | 1 |
Utilizzate 2 bulloni per fissare la staffa dello specchietto al reticolato anteriore.
Serrate i bulloni a 3 N∙m.
Utilizzate un dado di bloccaggio per fissare lo specchietto alla staffa dello specchietto. Per mantenere la corretta tensione di orientamento dello specchio, mantenete il controdado dello specchio con una chiave mentre stringete il dado.
Serrate il dado di bloccaggio a 26 N∙m.

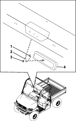
Parti necessarie per questa operazione:
| Specchietto | 1 |
| Staffa dello specchietto | 1 |
| Bullone | 2 |
| Dado di bloccaggio | 1 |
Utilizzate 2 bulloni per fissare la staffa dello specchietto al reticolato anteriore.
Serrate i bulloni a 3 N∙m.
Utilizzate un dado di bloccaggio per fissare lo specchietto alla staffa dello specchietto. Per mantenere la corretta tensione di orientamento dello specchio, mantenete il controdado dello specchio con una chiave mentre stringete il dado.
Serrate il dado di bloccaggio a 26 N∙m.
