Parkeer de machine op een horizontaal oppervlak.
Zet de transmissiehendel in de stand P (parkeren).
Zet de motor af en haal het sleuteltje uit het contact.
Wacht totdat alle bewegende onderdelen tot stilstand zijn gekomen.
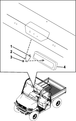
Benodigde onderdelen voor deze stap:
| Spiegel | 1 |
| Spiegelbeugel | 1 |
| Bout | 2 |
| Borgmoer | 1 |
Gebruik 2 bouten om de spiegelbeugel aan de voorste kruisverbinding te bevestigen.
Draai de bouten vast met een torsie van 3 N·m.
Gebruik een borgmoer om de spiegel aan de spiegelbeugel te bevestigen. Houd de contramoer van de spiegel vast met een sleutel terwijl u de borgmoer aandraait om de draaipuntspanning van de spiegel correct te houden.
Draai de borgmoer vast met een torsie van 26 N·m.

Benodigde onderdelen voor deze stap:
| Spiegel | 1 |
| Spiegelbeugel | 1 |
| Bout | 2 |
| Borgmoer | 1 |
Gebruik 2 bouten om de spiegelbeugel aan de voorste kruisverbinding te bevestigen.
Draai de bouten vast met een torsie van 3 N·m.
Gebruik een borgmoer om de spiegel aan de spiegelbeugel te bevestigen. Houd de contramoer van de spiegel vast met een sleutel terwijl u de borgmoer aandraait om de draaipuntspanning van de spiegel correct te houden.
Draai de borgmoer vast met een torsie van 26 N·m.
