Aparque la máquina en una superficie nivelada.
Cambie la palanca de la transmisión a la posición P (Aparcar).
Apague el motor y retire la llave.
Espere a que se detenga todo movimiento.
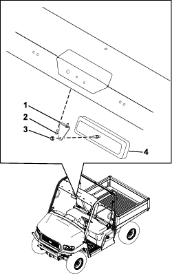
Piezas necesarias en este paso:
| Retrovisor | 1 |
| Soporte de retrovisor | 1 |
| Perno | 2 |
| Contratuerca | 1 |
Utilice 2 pernos para fijar el soporte del retrovisor al enlace transversal delantero.
Apriete los pernos a 3 N∙m.
Utilice una contratuerca para fijar el retrovisor al soporte del retrovisor. Sujete la tuerca del retrovisor con una llave mientras aprieta la contratuerca para mantener la tensión correcta del pivote del retrovisor.
Apriete la contratuerca a 26 N·m.

Piezas necesarias en este paso:
| Retrovisor | 1 |
| Soporte de retrovisor | 1 |
| Perno | 2 |
| Contratuerca | 1 |
Utilice 2 pernos para fijar el soporte del retrovisor al enlace transversal delantero.
Apriete los pernos a 3 N∙m.
Utilice una contratuerca para fijar el retrovisor al soporte del retrovisor. Sujete la tuerca del retrovisor con una llave mientras aprieta la contratuerca para mantener la tensión correcta del pivote del retrovisor.
Apriete la contratuerca a 26 N·m.
