Установите машину на ровной поверхности.
Переведите рычаг коробки передач в положение P (Стоянка).
Выключите двигатель и извлеките ключ из замка зажигания.
Дождитесь остановки всех движущихся частей.
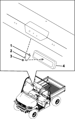
Детали, требуемые для этой процедуры:
| Зеркало | 1 |
| Кронштейн зеркала | 1 |
| Болт | 2 |
| Контргайка | 1 |
Прикрепите кронштейн зеркала к передней поперечине 2 болтами.
Затяните болты с усилием 3 Н∙м.
Прикрепите зеркало к кронштейну зеркала с помощью контргайки. Удерживая зажимную гайку зеркала гаечным ключом, затяните контргайку так, чтобы обеспечить правильное натяжение шарнира зеркала.
Затяните контргайку с моментом 26 Н∙м.

Детали, требуемые для этой процедуры:
| Зеркало | 1 |
| Кронштейн зеркала | 1 |
| Болт | 2 |
| Контргайка | 1 |
Прикрепите кронштейн зеркала к передней поперечине 2 болтами.
Затяните болты с усилием 3 Н∙м.
Прикрепите зеркало к кронштейну зеркала с помощью контргайки. Удерживая зажимную гайку зеркала гаечным ключом, затяните контргайку так, чтобы обеспечить правильное натяжение шарнира зеркала.
Затяните контргайку с моментом 26 Н∙м.
