Parker maskinen på et jevnt underlag.
Skift girspaken til P-stillingen (parkering).
Slå av motoren og ta ut nøkkelen.
Vent til alle bevegelige deler har stoppet.
Deler som er nødvendige for dette trinnet:
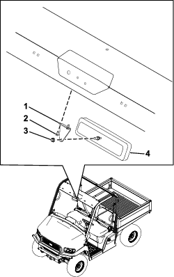
| Speil | 1 |
| Speilbrakett | 1 |
| Bolt | 2 |
| Låsemutter | 1 |
Bruk to bolter for å feste speilbraketten til krysskoblingen foran.
Stram til boltene med et moment på 3 Nm.
Bruk en låsemutter for å feste speilet til speilbraketten. Hold speillåsemutteren med en skiftenøkkel mens du strammer til låsemutteren for å sikre at speilet har riktig dreiemoment.
Trekk låsemutteren til 26 N·m.

Deler som er nødvendige for dette trinnet:
| Speil | 1 |
| Speilbrakett | 1 |
| Bolt | 2 |
| Låsemutter | 1 |
Bruk to bolter for å feste speilbraketten til krysskoblingen foran.
Stram til boltene med et moment på 3 Nm.
Bruk en låsemutter for å feste speilet til speilbraketten. Hold speillåsemutteren med en skiftenøkkel mens du strammer til låsemutteren for å sikre at speilet har riktig dreiemoment.
Trekk låsemutteren til 26 N·m.
