Parken Sie die Maschine auf einer ebenen Fläche.
Stellen Sie den Ganghebel auf die P-Stellung (Parken).
Stellen Sie den Motor ab und ziehen Sie den Zündschlüssel ab.
Warten Sie, bis alle beweglichen Teile zum Stillstand gekommen sind.
Für diesen Arbeitsschritt erforderliche Teile:
| Spiegel | 1 |
| Spiegelhalterung | 1 |
| Schraube | 2 |
| Sicherungsmutter | 1 |
Befestigen Sie die Spiegelhalterung mit zwei Schrauben an der vorderen Querverbindung.
Ziehen Sie Schraube auf ein Drehmoment von 3 Nm an.
Befestigen Sie den Spiegel mit einer Sicherungsmutter an der Spiegelhalterung. Halten Sie die Klemmmutter des Spiegels mit einem Schraubenschlüssel fest, während Sie die Sicherungsmutter anziehen, um die korrekte Spannung des Spiegelgelenks zu gewährleisten.
Ziehen Sie die Sicherungsmutter auf ein Drehmoment von 26 N∙m an.

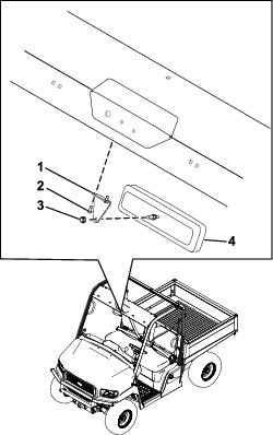
Für diesen Arbeitsschritt erforderliche Teile:
| Spiegel | 1 |
| Spiegelhalterung | 1 |
| Schraube | 2 |
| Sicherungsmutter | 1 |
Befestigen Sie die Spiegelhalterung mit zwei Schrauben an der vorderen Querverbindung.
Ziehen Sie Schraube auf ein Drehmoment von 3 Nm an.
Befestigen Sie den Spiegel mit einer Sicherungsmutter an der Spiegelhalterung. Halten Sie die Klemmmutter des Spiegels mit einem Schraubenschlüssel fest, während Sie die Sicherungsmutter anziehen, um die korrekte Spannung des Spiegelgelenks zu gewährleisten.
Ziehen Sie die Sicherungsmutter auf ein Drehmoment von 26 N∙m an.
