Garez la machine sur une surface plane et horizontale.
Placez le levier sélecteur en position P (stationnement).
Coupez le moteur et enlevez la clé.
Attendez l'arrêt complet de tout mouvement.
Pièces nécessaires pour cette opération:
| Rétroviseur | 1 |
| Support de rétroviseur | 1 |
| Boulon | 2 |
| Contre-écrou | 1 |
Fixez le support du rétroviseur à la liaison transversale avant avec 2 boulons.
Serrez les boulons à 3 N m.
Fixez le rétroviseur sur son support avec un contre-écrou. Maintenez l'écrou de blocage du rétroviseur avec une clé pendant que vous serrez le contre-écrou afin que la tension de pivot du rétroviseur reste correcte.
Serrez le contre-écrou à 26 N·m.

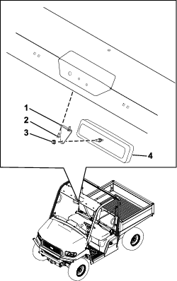
Pièces nécessaires pour cette opération:
| Rétroviseur | 1 |
| Support de rétroviseur | 1 |
| Boulon | 2 |
| Contre-écrou | 1 |
Fixez le support du rétroviseur à la liaison transversale avant avec 2 boulons.
Serrez les boulons à 3 N m.
Fixez le rétroviseur sur son support avec un contre-écrou. Maintenez l'écrou de blocage du rétroviseur avec une clé pendant que vous serrez le contre-écrou afin que la tension de pivot du rétroviseur reste correcte.
Serrez le contre-écrou à 26 N·m.
