Karbantartás
Note: A gép jobb és bal oldalát a normál haladási irány szerint határozza meg.
Ajánlott karbantartási ütemterv(ek)
| Karbantartási időköz | Karbantartási intézkedés |
|---|---|
| Az első 2 óra után |
|
| Az első 10 óra után |
|
| Az első 50 óra után |
|
| Minden egyes használat előtt, vagy naponta |
|
| Minden 50 órában |
|
| Minden 100 órában |
|
| Minden 400 órában |
|
Napi karbantartási ellenőrzőlista
Rendszeres használatához másolja le az oldalt.
| A karbantartás során ellenőrzendő elem | Hét: | ||||||
|---|---|---|---|---|---|---|---|
| H. | K. | Sze. | Cs. | P. | Szo. | V. | |
| A kések állapotának ellenőrzése | |||||||
| Az összes zsírzószem zsírzása1 | |||||||
| A sérült fényezés kijavítása javítófestékkel | |||||||
|
1. Lemosás után mindig azonnal, az előírt időköztől függetlenül |
|||||||
| Problémás területekkel kapcsolatos megjegyzések | ||
| Az ellenőrzést végezte: | ||
| Tétel | Dátum | Információk |
Vigyázat
Ha a kulcsot a gyújtáskapcsolóban hagyja, mások véletlenül beindíthatják a motort, ami a közelben állók súlyos sérülését okozhatja.
Karbantartási munkák előtt vegye ki a kulcsot a gyújtáskapcsolóból.
A csapágyak és perselyek zsírzása
| Karbantartási időköz | Karbantartási intézkedés |
|---|---|
| Minden egyes használat előtt, vagy naponta |
|
| Minden 50 órában |
|
A gép zsírzószemekkel rendelkezik, melyeket rendszeresen kenni kell 2. sz. lítiumos kenőzsírral.
-
Parkolja le a gépet sík talajon, engedje le a nyíróegységet, húzza be a rögzítőféket, állítsa le a motort és vegye ki az indítókulcsot.
-
Kenje meg a következő területeket:
A hajtómű kenőanyagának ellenőrzése
| Karbantartási időköz | Karbantartási intézkedés |
|---|---|
| Az első 50 óra után |
|
| Minden 50 órában |
|
| Minden 400 órában |
|
A hajtóművet úgy tervezték, hogy SAE 80-90 súlyú hajtómű-kenőolajjal működjön. Bár a hajtóművet gyárilag feltöltik kenőolajjal, a nyíróegység működtetése előtt ellenőrizze a szintet. A hajtómű kapacitása 283 ml.
-
Parkolja le a gépet sík talajon, engedje le a nyíróegységet, húzza be a rögzítőféket, állítsa le a motort és vegye ki az indítókulcsot.
-
Távolítsa el a nívópálcát/töltőnyílássapkát a hajtómű (Ábra 17) tetejéből, és győződjön meg arról, hogy a kenőolaj szintje a nívópálca jelölései között látható. Ha a kenőanyag szintje alacsony, töltsön be annyit, hogy a szintje a jelölések közé kerüljön.

-
Illessze be a nívópálcát, és húzza meg 9 Nm nyomatékkal.
A TLT-hajtótengelyt a hajtóműhöz rögzítő elemek nyomatékának ellenőrzése
| Karbantartási időköz | Karbantartási intézkedés |
|---|---|
| Az első 10 óra után |
|
| Minden 100 órában |
|
Ellenőrizze azon rögzítőelemek nyomatékát, amelyek a TLT-hajtótengelyt a hajtóműhöz (Ábra 18) rögzítik; a megfelelő nyomatékspecifikációkért tekintse át a gép Kezelői kézikönyvének beállításról szóló részét.

A nyíróegység eltávolítása a vontatóegységről
-
Parkolja le a gépet sík talajon, a nyíróegység legyen felemelt helyzetben.
-
Távolítsa el a vágásmagasság-állító csapokat (Ábra 19) a nyíróegység oldallemezeiről.

-
Engedje le a nyíróegységet, húzza be a rögzítőféket, állítsa le a motort, és vegye ki az indítókulcsot.
-
Távolítsa el az emelőkarokat az önbeálló karokhoz rögzítő csavarokat és alátéteket.

-
Távolítsa el a csavarokat és anyákat a TLT-tengelyből (Ábra 21), és csúsztassa ki a vállrészt a hajtóműből.
Note: Igazítsa össze megfelelően a bordákat a kezelői kézikönyv alapján, ha szétválasztotta a hajtótengely elemeit.

Az önbeálló karokban lévő perselyek szervizelése
Az önbeálló karok tömlőjének tetejére és aljára perselyeket préseltek, és sok üzemórányi használat után a perselyek elkopnak.
A perselyek ellenőrzéséhez mozgassa az önbeálló villát előre és hátra, illetve oldalirányba. Ha az önbeálló tengely laza a perselyeken belül, a perselyek kopottak, és ki kell őket cserélni.
-
Parkolja le a gépet sík talajon, engedje le a nyíróegységet, húzza be a rögzítőféket, állítsa le a motort és vegye ki az indítókulcsot.
-
Távolítsa el a feszítősapkát, a távtartó(ka)t és a nyomóalátét az önbeálló tengely tetejéről.
-
Húzza ki az önbeálló tengelyt a tartócsőből. A nyomóalátét és a távtartók maradjanak a tengely alján.
-
Helyezzen egy csapszeget a rögzítőcső tetejére vagy aljára, és kalapálja ki a perselyt a csőből (Ábra 22). Kalapálja ki a másik perselyt is a csőből. Tisztítsa meg a csövek belsejét a szennyeződések eltávolításához.

-
Kenje meg zsírral az új perselyek belsejét és külsejét. Egy kalapács és egy lapos lemez segítségével hajtsa be a perselyeket a rögzítőcsőbe.
-
Keressen kopást az önbeálló tengelyen, és cserélje ki, ha sérült.
-
Tolja keresztül az önbeálló tengelyt a perselyeken és a rögzítőcsövön, csúsztassa a nyomóalátétet és a távtartó(ka)t a tengelyre, és szerelje fel a feszítősapkát az önbeálló tengelyre.
A bolygókerekek és csapágyak szervizelése
| Karbantartási időköz | Karbantartási intézkedés |
|---|---|
| Az első 2 óra után |
|
| Az első 10 óra után |
|
| Minden 50 órában |
|
-
Parkolja le a gépet sík talajon, engedje le a nyíróegységet, húzza be a rögzítőféket, állítsa le a motort és vegye ki az indítókulcsot.
-
Távolítsa el az önbiztosító anyát a bolygókereket az önbeálló villa között tartó csavarról (Ábra 23). Fogja meg az önbeálló kereket, majd csúsztassa ki a csavart a villából vagy az önbeálló karból.
-
Távolítsa el a csapágyat a kerékagyról, és hagyja, hogy a csapágy távtartója kiessen (Ábra 23). Távolítsa el a csapágyat a kerékagy másik oldaláról.
-
Ellenőrizze a csapágyakat, a távtartót, illetve a kerékagy belsejét kopás szempontjából. Cserélje ki a sérült alkatrészeket.
-
A bolygókerék összeszereléséhez nyomja a csapágyat a kerékagyba. A csapágyak telepítésekor nyomja rá a csapágy külső gyűrűjét.

-
Csúsztassa a csapágy távtartóját a kerékagyra. Nyomja a másik csapágyat a kerékagy nyitott végébe, hogy az befogja a csapágy távtartóját a kerékagyban.
-
Szerelje be az önbeálló kerékegységet az önbeálló villába, majd rögzítse a csavar és az önbiztosító anya segítségével.
A vágókések szervizelése
Késekkel kapcsolatos óvintézkedések
A kopott vagy sérült kés eltörhet, a letört darab pedig kirepülve súlyos, akár végzetes személyi sérülést is okozhat.
-
Ellenőrizze rendszeresen a késeket kopás és sérülés szempontjából.
-
Óvatosan járjon el a kések ellenőrzésekor. Burkolja be a késeket, vagy viseljen védőkesztyűt, és legyen óvatos a szervizelésükkor. A késeket csak cserélni vagy fenni szabad; tilos azokat kiegyenesíteni vagy hegeszteni.
-
Többkéses gépeknél figyelembe kell venni, hogy egy kés forgatásakor a többi kés is forogni kezd.
A kés ellenőrzése görbülés szempontjából
Idegen tárgynak való ütközés után vizsgálja át a gépet, nem sérült-e meg, és végezze el a javításokat a berendezés indítása és üzemeltetése előtt. Húzza meg a tengelyszíjtárcsa összes anyáját 176–203 Nm nyomatékkal.
-
Parkoljon le sík talajon, emelje fel a nyíróegységet VONULáSI helyzetbe, húzza be a rögzítőféket, állítsa le a motort, és vegye ki az indítókulcsot.
-
Emelje fel a nyíróegységet SZERVIZ állásba; tekintse át a vontatóegység Kezelői kézikönyvét.
-
Forgassa a kést úgy, hogy a végei előre és hátra nézzenek, és mérje meg a távolságot a nyíróegység belseje és a kés elején levő vágóél között (Ábra 24).
Note: Jegyezze fel ezt az értéket.

-
Forgassa előre a kés másik végét, és mérje meg a távolságot a nyíróegység és a nyíróegység kése között a 3. lépésben bemutatott helyzettel megegyezően.
Note: A 3. és 4. lépésben mért értékek különbsége nem haladhatja meg a 3 mm-t. Ha ez az érték meghaladja a 3 mm-t, a kés görbe, ki kell cserélni; lásd: A nyíróegység késeinek eltávolítása és felszerelése.
A nyíróegység késeinek eltávolítása és felszerelése
Cserélje ki a kést, ha kemény tárgynak ütközött, kiegyensúlyozatlanná vált vagy elgörbült. A biztonság és az optimális teljesítmény biztosítása érdekében mindig eredeti Toro-cserekéseket használjon.
-
Parkoljon le sík talajon, emelje fel a nyíróegységet VONULáSI helyzetbe, húzza be a rögzítőféket, állítsa le a motort, és vegye ki az indítókulcsot.
-
Emelje fel a nyíróegységet SZERVIZ állásba; tekintse át a vontatóegység Kezelői kézikönyvét.
-
Fogja meg a kés végét egy ronggyal vagy vastagon párnázott kesztyűvel.
-
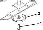
Távolítsa el a késtengelyről a késcsavart, a lenyesés ellen védő sapkát és a kést (Ábra 25).

-
Szerelje fel a kést, a lenyesés ellen védő sapkát és a kés csavarját, majd húzza meg a kés csavarját 115–149 Nm nyomatékkal.
Important: A kés ívelt része a megfelelő vágás érdekében nézzen a nyíróasztal belseje irányába.
Note: Miután idegen tárgynak ütközött, húzza meg az összes tengelytárcsa anyáját 115–149 Nm nyomatékkal.
A nyíróegység késeinek ellenőrzése és megélezése
A vágóélek és a vágóéllel ellentétes irányba fordított terelő is hozzájárul ahhoz, hogy a vágás minősége jó legyen.
Gondoskodjon arról, hogy a fűnyírási szezonban mindig éles legyen a kés. Az éles kések tisztán vágnak, a fűszálak tépése, szakítása nélkül.
Ellenőrizze a késeket kopás és sérülés szempontjából. A terelő egyenesen felemeli a füvet, ezáltal egyenletes vágást biztosít, de a használat során fokozatosan kopik.
-
Parkoljon le sík talajon, emelje fel a nyíróegységet VONULáSI helyzetbe, húzza be a rögzítőféket, állítsa le a motort, és vegye ki az indítókulcsot.
-
Emelje fel a nyíróegységet SZERVIZ állásba; tekintse át a vontatóegység Kezelői kézikönyvét.
-
Alaposan vizsgálja át a kés vágóvégeit, különösen ott, ahol a kés lapos és ívelt részei találkoznak (Ábra 26).
Note: Mivel a homok és a súroló hatású anyagok koptathatják a kés lapos és ívelt részét összekötő fémet, ellenőrizze a kést a fűnyíró használata előtt. Ha kopást (Ábra 26) tapasztal, cserélje ki a kést.

-
Vizsgálja meg az összes kés vágóélét, és élezze meg őket, ha tompák vagy kicsorbultak (Ábra 27).
Note: Csak a vágóél felső részét élesítse meg és az élesség biztosítása érdekében tartsa meg az eredeti vágási szöget (Ábra 27). A kés egyensúlyban marad, ha mindkét vágóéléről ugyanannyi fémet távolít el.

Note: Távolítsa el a késeket, és élezze meg őket egy köszörűvel. A vágóélek megélezése után szerelje be a kést a lenyesés ellen védő sapkával és a késcsavarral együtt; lásd: A nyíróegység késeinek ellenőrzése és megélezése.
A kések egyenetlen vágásának ellenőrzése és kijavítása
Ha a kések egyenetlenül vágnak, a fű sávosnak tűnik a levágása után. A probléma kijavításához győződjön meg arról, hogy a kések egyenesek, és az összes kés ugyanabban a síkban vág.
-
Egy 1 m hosszú vízszintezővel keressen egy sík felületet a műhely padlóján.
-
Emelje fel a nyíróasztalt a legmagasabb helyzetbe; lásd: A vágásmagasság beállítása.
-
Engedje le a nyíróegységet a sík felületre. Szerelje le a nyíróegység tetejéről a fedeleket.
-
Fordítsa el a késeket úgy, hogy a végeik előre és hátra nézzenek. Mérje meg a padlófelület és a vágóél csúcsa közti távolságot. Jegyezze fel ezt az értéket. Ezután forgassa ugyanazt a kést úgy, hogy a másik vége nézzen előrefelé, és mérje meg újra. Az értékek különbsége nem haladhatja meg a 3 mm-t. Ha az érték meghaladja a 3 mm-t, cserélje ki a kést, mivel az elgörbült. Mérje meg az összes kést.
-
Hasonlítsa össze a külső kések mért értékét a középső kés mért értékével. A középső kés nem lehet 10 mm-nél alacsonyabban a külső késeknél. Ha a középső kés 10 mm-nél alacsonyabban van a külső késekhez képest, folytassa a 6. lépéssel és illesszen be egy betétlemezt a tengelyház és a nyíróegység alja közé.
-
Távolítsa el a csavarokat, a lapos alátéteket, a rögzítőalátéteket és az anyákat a külső tengelyről azon a területen, ahova a betétlemezeket be kell illeszteni. A kés emeléséhez vagy süllyesztéséhez illesszen be egy betétlemezt (cikkszám: 3256-24) a tengelyház és a nyíróegység alja közé. Folytassa a kések beállításának ellenőrzését, és addig adjon hozzá betétlemezeket, amíg a kések hegyei a kívánt mérettartományon belülre kerülnek.
Important: Egy furathelyen ne használjon háromnál több betétlemezt. Ha egynél több betétlemezt adott hozzá bármely furathelyhez, a szomszédos furatoknál kevesebb betétlemezt használjon.
-
Szerelje fel a szíjburkolatokat.
A hajtószíj cseréje
| Karbantartási időköz | Karbantartási intézkedés |
|---|---|
| Minden 50 órában |
|
A rugós feszítőtárcsával feszesen tartott késhajtószíj nagyon tartós. Ugyanakkor sok üzemórányi használat után a szíj kopás jeleit mutathatja. A hajtószíj kopott állapotát jelzi a sivító hang működés közben, a kések megcsúszása fűnyíráskor, a hajtószíj szélének rojtosodása, az égési jelek és a repedezettség. Ha ezek közül bármelyik észlelhető, cserélje le a hajtószíjat.
-
Parkolja le a gépet sík talajon, engedje le a nyíróegységet, húzza be a rögzítőféket, állítsa le a motort és vegye ki az indítókulcsot.
-
Távolítsa el a szíjburkolatokat a nyíróegység tetejéről és tegye félre.
-
A meglazításhoz egy nyomatékkulcs vagy hasonló eszköz segítségével tolja el a feszítőtárcsát (Ábra 28) a hajtószíjtól, majd csúsztassa le a hajtószíjat a hajtóműszíjtárcsáról.

-
Távolítsa el a régi szíjat a tengelytárcsáról és a feszítőtárcsáról.
-
Nyomatékkulccsal vagy hasonló eszközzel tartsa meg a feszítőtárcsát, vezesse rá az új szíjat a tengelytárcsákra és a feszítőtárcsa-egységre a Ábra 29 szerint.

-
Szerelje fel a szíjburkolatokat.
A nyíróegység aljának tisztítása
| Karbantartási időköz | Karbantartási intézkedés |
|---|---|
| Minden egyes használat előtt, vagy naponta |
|
Távolítsa el naponta a felgyűlt füvet a nyíróegység aljáról.
-
Parkoljon le sík talajon, emelje fel a nyíróegységet VONULáSI helyzetbe, húzza be a rögzítőféket, állítsa le a motort, és vegye ki az indítókulcsot.
-
Emelje fel a nyíróegységet SZERVIZ állásba; tekintse át a vontatóegység Kezelői kézikönyvét.
-
Tisztítsa ki alaposan a nyíróegység alsó részét vízzel.


), amelynek jelentése lehet Figyelem, Vigyázat
vagy Veszély – személyes munkavédelmi utasítások.
Az utasítások be nem tartása személyi
sérülést vagy halált okozhat.






















