Parkera maskinen på en plan yta.
Höj luftarhuvudet.
Stäng av motorn.
Dra åt parkeringsbromsen.
Ta ut nyckeln och vänta tills alla rörliga delar har stannat.
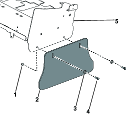
Delar som behövs till detta steg:
| Sidoplåt | 2 |
| Sexkantsskruv (⅜ tum) | 4 |
| Nylock-mutter (⅜ tum) | 4 |
Fäst servicespärren för luftarhuvudet.
Från maskinens vänstra sida tar du bort och behåller de två sexkantsskruvarna (⅜ tum), två brickor och två flänsmuttrar (⅜ tum) som håller fast sidoskyddet på luftarhuvudet. Ta bort sidoskyddet från luftarhuvudet. Upprepa proceduren på maskinens högra sida.

Montera sidoplattan på luftarhuvudet från maskinens vänstra sida. Fäst den med två sexkantsskruvar (⅜ tum) och två nylock-muttrar (⅜ tum). Upprepa proceduren på maskinens högra sida.

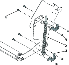
Delar som behövs till detta steg:
| Rullenhet | 1 |
| Fjäderbricka | 2 |
| Rullarm | 2 |
| Härdad bricka | 1 |
| Rullaxelskruv | 2 |
| Smörjnippel (om den inte har monterats tidigare) | 2 |
| Rullskrapa | 1 |
| Skraparmar | 2 |
| Vagnsskruv (⅜ tum) | 4 |
| Nylock-mutter (⅜ tum) | 4 |
Fäst fjäderbrickan på vardera ände av rullaxeln (Figur 3).
Fäst en rullarm på vardera ände av rullaxeln (Figur 3).
Fäst rullarmen på de två rullaxlarna med den härdade brickan (endast höger sida) och två rullaxelskruvar. Gänga fast de två smörjnipplarna på de två rullaxelskruvarna om de inte har monterats tidigare (Figur 3).
För in monteringstapparna för rullskraporna i skårorna på varje skraparm (Figur 3).
Montera skraparmarna på rullarmarna (Figur 3).
På rullarmens vänstra sida fäster du skraparmen på rullarmen med två vagnsskruvar (⅜ tum) och två nylock-muttrar (⅜ tum) (Figur 3). Upprepa proceduren på den högra rullarmen.

Delar som behövs till detta steg:
| Flänsbussning | 2 |
| Planbricka | 2 |
| Insexskruv (⅝ tum) | 2 |
| Nylock-mutter (⅝ tum) | 2 |
Rikta in de två monteringshålen för rullarmen med de två monteringshålen för sidoplåten.
Fäst rullen på sidoplåten med de två flänsbussningar, två planbrickor, två insexskruvar (⅝ tum) och två nylock-muttrar (⅝ tum).
Note: Rullen kommer i kontakt med gräsmattan några centimeter bakom luftarpinnarna och låsfästena för gräset.

Delar som behövs till detta steg:
| Fjädermontering | 2 |
| Fjäderfäste | 4 |
| Nylock-mutter (⅜ tum) | 8 |
| Vagnskruv (⅜ tum) | 8 |
Fäst fjädermonteringen på sidoplåten och rullarmen från maskinens vänstra sida med de två fjäderfästena, två vagnsskruvar (⅜ tum) och två nylock-muttrar (⅜ tum). Upprepa proceduren på maskinens högra sida.

Smörj varje rullkoppling med ett litiumbaserat fett med nummer 2, cirka 15 ml per ände.
Lossa de två nedre nylock-muttrarna (⅜ tum) som fäster skraparmarna på rullarmarna. Justera rullskraporna tills avståndet mellan rullen och skrapan är cirka 0,15 cm. Dra åt nylock-muttern.

Dra åt alla fästelement.
Note: Fjädern är förjusterad på fabriken, men för att säkerställa korrekt nedåttryck på rullen ska du kontrollera att den komprimerade fjäderlängden är 38,1 cm. Justera vid behov.Det nedåtgående trycket vid drift ökar inte om man förkortar fjäderjusteringen. Det höjer transporthöjden och fördröjer kontakten med marken när du kopplar in luftarhuvudet.