Garez la machine sur une surface plane et horizontale.
Relevez la tête d’aération.
Coupez le moteur.
Serrez le frein de stationnement.
Retirez la clé et attendez l'arrêt de toutes les pièces mobiles.
Pièces nécessaires pour cette opération:
| Plaque latérale | 2 |
| Boulon à tête hexagonale (⅜ po) | 4 |
| Écrou Nylock (⅜ po) | 4 |
Enclenchez le loquet d’entretien de la tête d’aération.
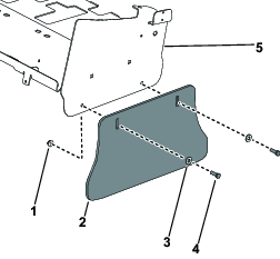
Depuis le côté gauche de la machine, déposez et conservez les 2 boulons à tête hexagonale (⅜ po), 2 rondelles et 2 écrous à embase (⅜ po) qui fixent la protection latérale sur la tête d’aération. Déposez la protection latérale de la tête d'aération. Répétez la procédure du côté droit de la machine.

Depuis le côté gauche de la machine, installez la plaque latérale sur la tête d’aération; utilisez 2 boulons à tête hexagonale (⅜ po) et 2 écrous Nylock (⅜ po) pour la fixer. Répétez la procédure du côté droit de la machine.

Pièces nécessaires pour cette opération:
| Ensemble rouleau | 1 |
| Rondelle élastique | 2 |
| Bras de rouleau | 2 |
| Rondelle en acier trempé | 1 |
| Vis d’arbre de rouleau | 2 |
| Graisseur (si non assemblé précédemment) | 2 |
| Racloir de rouleau | 1 |
| Bras de racloir | 2 |
| Vis de carrosserie (⅜ po) | 4 |
| Écrou Nylock ⅜ po) | 4 |
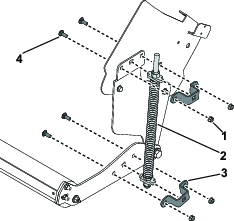
Insérez la rondelle élastique à chaque extrémité de l’arbre de rouleau (Figure 3).
Insérez un bras de rouleau à chaque extrémité de l’arbre de rouleau (Figure 3).
Fixez le bras de rouleau aux deux arbres de rouleau à l'aide de la rondelle en acier trempé (côté droit uniquement) et de 2 vis d’arbre de rouleau. Enfilez les 2 graisseurs sur les 2 vis d’arbre de rouleau, s’ils n’étaient pas déjà assemblés (Figure 3).
Insérez les languettes de fixation du racloir de rouleau dans les fentes sur chaque bras de racloir (Figure 3).
Montez les bras de racloir sur les bras de rouleau (Figure 3).
Du côté gauche du bras de rouleau, fixez le bras de racloir au bras de rouleau à l’aide de 2 vis de carrosserie (⅜ po) et 2 écrous Nylock (⅜ po) (Figure 3). Répétez la procédure sur le bras de rouleau droit.

Pièces nécessaires pour cette opération:
| Douille à bride | 2 |
| Rondelle plate | 2 |
| Boulon à tête hexagonale (5/8 po) | 2 |
| Écrou Nylock (⅝ po) | 2 |
Alignez les 2 trous de montage du bras de rouleau sur les 2 trous de montage de la plaque latérale.
Fixez l'ensemble rouleau sur la plaque latérale à l'aide des 2 douilles à bride, 2 rondelles plates, 2 boulons à tête hexagonale (⅝ po) et 2 écrous Nylock (⅝ po).
Note: Le rouleau touche le gazon quelques centimètres derrière les louchets et les retenues de gazon.

Pièces nécessaires pour cette opération:
| Ensemble ressort | 2 |
| Support de ressort | 4 |
| Écrou Nylock (⅜ po) | 8 |
| Boulon de carrosserie (⅜ po) | 8 |
Depuis le côté gauche de la machine, fixez l'ensemble ressort sur la plaque latérale et le bras de rouleau à l'aide des 2 supports de ressort, 2 boulons de carrosserie (⅜ po) et 2 écrous Nylock (⅜ po). Répétez la procédure du côté droit de la machine.

Lubrifiez chaque graisseur avec de la graisse au lithium nº 2, environ 15 ml (½ fl oz) à chaque extrémité.
Desserrez les 2 écrous Nylock inférieurs (⅜ po) qui fixent les bras de racloir aux bras de rouleau. Réglez le racloir de rouleau jusqu'à obtenir un écart d'environ 0,15 cm (0,060 po) entre le rouleau et le racloir. Resserrez l'écrou Nylock.

Serrez toutes les fixations.
Note: Le ressort est pré-réglé en usine, mais pour vous assurer que la pression exercée sur le rouleau est correcte, vérifiez que le ressort comprimé mesure bien 38,1 cm (15 po). Réglez-le au besoin.Le fait de raccourcir le ressort n'augmente pas la pression exercée en fonctionnement. Cela augmentera la hauteur de transport et différera le contact avec le sol lors de l’engagement de la tête d’aération.