Estacione a máquina numa superfície nivelada.
Eleve a cabeça de perfuração.
Desligue o motor.
Engate o travão de estacionamento.
Retire a chave e aguarde que todas as partes em movimento parem.
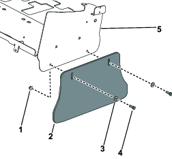
Peças necessárias para este passo:
| Placa lateral | 2 |
| Parafuso de cabeça hexagonal (⅜ pol.) | 4 |
| Porca nyloc (⅜ pol.) | 4 |
Fixe o fecho de segurança da cabeça de perfuração.
No lado esquerdo da máquina, remova e guarde os 2 parafusos de cabeça hexagonal (⅜ pol.), 2 anilhas e 2 porcas flangeadas (⅜ pol.) que fixam o escudo lateral à cabeça de perfuração. Remova o escudo lateral da cabeça de perfuração. Repita o mesmo processo no lado direito da máquina.

No lado esquerdo da máquina, instale a placa lateral na cabeça de perfuração; fixe-a com 2 parafusos de cabeça hexagonal (⅜ pol.) e 2 porcas nyloc (⅜ pol.) Repita o mesmo processo no lado direito da máquina.

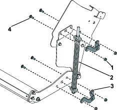
Peças necessárias para este passo:
| Rolo | 1 |
| Anilha da mola | 2 |
| Braço do rolo | 2 |
| Anilha reforçada | 1 |
| Parafuso do eixo do rolo | 2 |
| Bocal de lubrificação (se não tiver sido enroscado previamente) | 2 |
| Raspador do rolo | 1 |
| Braços do raspador | 2 |
| Parafuso de carroçaria (⅜ pol.) | 4 |
| Porca nyloc (⅜ pol.) | 4 |
Insira a anilha de mola em cada ponta do eixo do rolo (Figura 3).
Insira um braço de rolos em cada ponta do eixo do rolo (Figura 3).
Fixe o braço do rolo aos 2 eixos do rolo com a anilha reforçada (apenas do lado direito) e 2 parafusos do eixo do rolo. Enrosque os 2 bocais de lubrificação nos parafusos do eixo do rolo se não tiverem sido enroscados previamente (Figura 3).
Insira as abas de montagem do raspador do rolo nas ranhuras de cada braço do raspador (Figura 3).
Instale os braços do raspador nos braços do rolo (Figura 3).
No lado esquerdo do braço do rolo, aperte o braço do raspador ao braço do rolo com 2 parafusos de carroçaria (⅜ pol.) e 2 porcas nyloc (⅜ pol.) (Figura 3). Repita o processo no braço direito do rolo.

Peças necessárias para este passo:
| Casquilho da flange | 2 |
| Anilha plana | 2 |
| Parafuso de cabeça hexagonal (⅝ pol.) | 2 |
| Porca nyloc (⅝ pol.) | 2 |
Alinhe os furos de montagem dos 2 braços do rolo com os furos de montagem das 2 placas laterais.
Fixe o rolo à placa lateral com os 2 casquilhos da flange, 2 anilhas planas, 2 parafusos de cabeça hexagonal (⅝ pol.) e 2 porcas nyloc (⅝ pol.)
Note: O rolo contacta com a relva alguns centímetros atrás dos dentes e das fixações de relva.

Peças necessárias para este passo:
| Mola | 2 |
| Suporte de mola | 4 |
| Porca nyloc (⅜ pol.) | 8 |
| Parafuso de carroçaria (⅜ pol.) | 8 |
No lado esquerdo da máquina, fixe a mola à placa lateral e o braço do rolo com 2 suportes de mola, 2 parafusos de carroçaria (⅜ pol.), e 2 porcas nyloc (⅜ pol.) Repita o mesmo processo no lado direito da máquina.

Lubrifique cada bocal com um lubrificante número 2 à base de lítio, aproximadamente 15 ml em cada ponta.
Desenrosque as 2 porcas nyloc inferiores (⅜ pol.) fixando os braços do raspador aos braços do rolo. Ajuste o raspador do rolo até que exista um espaço de 0,15 cm entre o rolo e o raspador. Aperte a porca nyloc.

Aperte todos os fixadores.
Note: A mola é pré-ajustada na fábrica, mas certifique-se de que a pressão descendente no rolo está adequada e verifique que o comprimento da mola comprimida é 38,1 cm. Ajuste consoante necessário.Encurtar o ajuste da mola não aumenta a pressão descendente da operação. A altura de transporte será aumentada e atrasará o contacto com o solo quando acionar a cabeça de perfuração.